PORSCHE 911 TURNO S

12

義式怪獸來襲。Ducati Monster 1200 25° Anniversario週年紀念款限量上市!

義式怪獸來襲。Ducati Monster 1200 25° Anniversario週年紀念款限量上市!

性能街車,在近年也是受到許多熱血騎士入門或升級的新選擇,對於性能控來說,性能街車有著不輸仿賽車款的戰鬥力,又兼具了一定的舒適度與實用性,是種相對務實的車款,講到性能街車,就不得不提來自義大利的超級怪獸Ducati Monster車系,這隻怪獸替Ducati這家跑格十足的義大利車廠,在性能街車的龐大市場之中打下了一片天地,也培養出了一群死忠的怪獸迷,而今年正是這隻義大利怪獸的25歲生日,Ducati也推出了一款限量五百台的Monster 1200 25° Anniversario紀念款。

Ziv 2018/06/28
最終是贏家還是輸家?Harley-Davidson計劃將部分產線移出美國

最終是贏家還是輸家?Harley-Davidson計劃將部分產線移出美國

前些日子,相信妳一定不會忘記美國總統川普所挑起的貿易大戰,然而這件事目前所發展的情況卻未如同美國政府所規劃的如意算盤一樣順利,受到鋼鐵進口成本增加的歐盟國家在六月份決議對美國的威士忌、牛仔褲還有Harley-Davidson課徵25%的關稅,此舉引起了Harley-Davidson的反彈...

Webber 2018/06/27

L

官方新聞稿。Volkswagen以純電能賽車寫下歷史新頁 I.D. R Pikes Peak以7分57.148秒成績成為最速紀錄保持者

官方新聞稿。Volkswagen以純電能賽車寫下歷史新頁 I.D. R Pikes Peak以7分57.148秒成績成為最速紀錄保持者

自去年10月開啟全新純電能賽車開發計劃,Volkswagen 僅以8個月的時間打造I.D. R Pikes Peak,透過雙電動馬達、恆時四輪驅動系統、680hp最大馬力,2.25秒內完成靜止至100km/h加速表現,矢志打破派克峰國際爬山賽最佳紀錄;如今,I.D. R Pikes Peak以7分57.148秒成績,不僅打破該組別成績,更同時締造該賽事創立逾百年來之最速紀錄保持者。I.D. R Pikes Peak以其I.D.家族車款標準色灰色、專屬「94」車號賽車塗裝打造全新面貌,展現Volkswagen深耕電能未來之決心...

SUPERMOTO8 2018/06/26
官方新聞稿。共享機車 WeMo Scooter 首推夜貓優惠 深夜7小時免費騎

官方新聞稿。共享機車 WeMo Scooter 首推夜貓優惠 深夜7小時免費騎

世界盃足球賽登場,瞄準深夜通勤商機,主打隨租隨還24小時不打烊的共享機車 WeMo Scooter ,首度推出「夜貓優惠」,6月28日至7月8日為期10天,深夜 11 點至隔日早上 6 點,租借 WeMo Scooter 全面前 20 分鐘不收費,且租借不限次數。WeMo Scooter 更加碼7月15日世足總決賽當天晚上6點至隔日早上 6點,長達 12 小時前 20 分鐘免費,要讓台北夜貓族不為深夜交通煩惱,足球迷也可一「騎」為心目中支持的球隊加油喝采。

SUPERMOTO8 2018/06/26

23

L

硬派風格新選擇。Mercedes-Benz G-Class全新上市

硬派風格新選擇。Mercedes-Benz G-Class全新上市

40年越野奇蹟,造就了Mercedes-Benz G-Class難以撼動的硬派經典,「G」更早已是全球最強悍的字母代表。2018年1月,全新G-Class登上北美底特律車展,向全球展現純粹經典與Mercedes-Benz智能科技的完美融合,而全新G-Class最強性能分身,則選擇於3月登上歐洲日內瓦車展舞台。為滿足消費者殷切期盼,台灣賓士以最快速度,將於6月25日為台灣市場隆重呈獻Mercedes-Benz G 500與Mercedes-AMG G 63兩車型,正式宣告此越野傳奇,開啟嶄新的剽悍篇章...

Webber 2018/06/26

12

L

百年老車奇遇記。1918 Harley-Davidson Model J 返鄉之旅!

百年老車奇遇記。1918 Harley-Davidson Model J 返鄉之旅!

1918年歐洲正在第一次世界大戰的烽火之中,當時美國總統威爾遜宣告,將會協助歐洲盡快結束這場人間浩劫,當時美國投入了大量的人力物力進入到歐洲戰場上,其中就包含了一支擁有400台Harley-Davidson model J的美國遠征軍,這支遠征軍當時被部署在法國北部的戰線上,隨時時間推移,這400台之一的model J一直沈睡在法國的農舍倉庫之中,直到九十年後才被一位法國收藏家Christophe de Goulaine給挖掘了出來,經過長達十年的修復,這輛Model J即將回到它的祖國故鄉,展開一段5600英里的壯遊。

Ziv 2018/06/25
永不放棄的男人-Jonas Folger重返GP測試KALEX Moto2賽車

永不放棄的男人-Jonas Folger重返GP測試KALEX Moto2賽車

最終,我們還是看到了Jonas Folger戰勝了吉伯特氏症候群摧殘,穿上了連身皮衣出現在西班牙Aragon賽道上。彷彿就像是看到在第四節下半場,早以疲累不堪的三井壽,依然帥氣的以三分球證明自己之後的那句──「我是三井壽,一個永不放棄的男人。」一樣的帥度爆棚。

Tatsuya 2018/06/22

33

Volvo 60車系補齊,S60沒有柴油選項!

Volvo 60車系補齊,S60沒有柴油選項!

60車系其實是不少消費者在期待的產品,因為其中大型房車的定位讓不少家庭以及中階主管鎖定,隨著SPA模組化底盤的優勢挹注,90跟60車系的車室內空間差異並不大,因此60車系變成很多人的首選,而這些客群有很大一部份還是對於房車有一定的喜愛,因此這次S60一推出就受到大家的矚目,而且這次也把柴油選項給取消,看得出來柴油引擎真的要消滅了!

Dickson 2018/06/21
小阿魯車主請注意!台鈴機車免費召回改正GSX-R150、GSX-S150車架問題

小阿魯車主請注意!台鈴機車免費召回改正GSX-R150、GSX-S150車架問題

去年由台鈴引進的Suzuki小阿魯,在國內輕檔車市場上可說是一枚震撼彈,也引起了許多車友搶購的熱潮,購買原廠公司車對於車主來說,也是更有保障的選擇,日前Suzuki的台灣代理台鈴車業,就宣布了針對 2017與2018年期間所進口的GSX-R150、GSX-S150車輛實施自主性召回改正服務活動,這次的召回主要是針對車架部分做瑕疵零件更換,台鈴也將採用掛號專函通知車主回廠進行召修。

Ziv 2018/06/21

22

L

MotoGP期中考,Suzuki車隊經理Davide Brivio賽後專訪!

MotoGP期中考,Suzuki車隊經理Davide Brivio賽後專訪!

Suzuki在今年上半季的表現,可說是相當的不錯,雖然尚未拿下冠軍,但是三次頒獎台與屢次足以衝擊頒獎台的佳績都讓人期待Suzuki未來的表現,在加泰隆尼亞站賽後,Suzuki的車隊經理Davide Brivio也接受了媒體專訪,談論了下半賽季與未來兩年的規劃,同時也談到了Suzuki在簽下兩位非常年輕車手Alex Rins與Joan Mir背後的戰略思考與車隊遠景。

Ziv 2018/06/21

6

L

前後雙鏡頭,三寶遠離我。Ride Vision 360度預警系統。

前後雙鏡頭,三寶遠離我。Ride Vision 360度預警系統。

隨著科技進步,在車輛安全方面,越來越多種新科技加持來保障用路人的安全,小從ABS防鎖死煞車系統到高端的自動駕駛系統,無一不是為了降低道路上的意外與死傷,而透過感知器來偵測前後方車輛動態的預警系統,已經在汽車上使用了些許年頭了,而現在,一間以色列的科技新創公司,決定將這項技術應用在摩托車市場上,就讓我們來看看,他們要如何達成如此艱鉅的挑戰吧!

Ziv 2018/06/19
就是那道光,SUZUKI申請隧道內兩輪警示系統

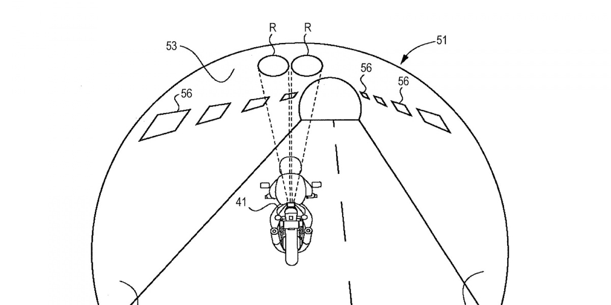
就是那道光,SUZUKI申請隧道內兩輪警示系統

在我們還在跟政府唇槍舌戰,機車進入隧道會不會窒息這件再基本不過的常理,SUZUKI近日披露的專利申請正悄悄的在研發機車進入隧道時的警示系統,在先前筆者曾參加過ARTC舉行的盲點體驗之旅,在課程中就發現除了車側的盲點之外,大貨車車頭的盲點區也是時常被忽略的一個點,SUZIKI這次的專利主要是針對機車進入隧道時的安全性把關...

Webber 2018/06/19
越野,越美-DUCATI Scrambler概念車型「 Desert Sled Concept」

越野,越美-DUCATI Scrambler概念車型「 Desert Sled Concept」

我們必須得說,對於DUCATI這間車廠的個性以及獨到的DUCATI美學這件事,我們是抱以極高的尊重與讚賞。關於旗下的各種車型,我們總能在極短的時間內,認出這間來自義大利波隆納的車廠所欲表達的熱情奔放。DUCATI對於美學的堅持,從概念車開始,來自DUCATI Design Center的全新Scrambler概念車型「Desert Sled Concept」,打著沙漠雪橇的響亮名號,越野不再只是泥巴沙土噴濺印象,越野,也能美的很可以。

Tatsuya 2018/06/19

9

可愛又剛硬的第四代Suzuki Jimny,維持四速自排系統

可愛又剛硬的第四代Suzuki Jimny,維持四速自排系統

全新Suzuki Jimny日本網站公布將在七月於日本正式發表,網站上也看的到正式照片,包含車身外觀、內裝以及配備等資料。第四代Jimny在車壇備受矚目,最大原因是它跳脫現行新車要走圓潤流線的造型,反而走回方方正正、有菱有角的方塊車,就有點類似M-Benz G-Class的經典元素。從照片上來看,覺得他像是G-Class與Jeep Wrangle的眾合體,不過如果你熟知Jimny的歷史,早期的Jimny就是這個樣貌,Suzuki只是回歸傳統,再注入一些現代感。

阿德 2018/06/19
量產確定!Indian Scout FTR 1200明年發表!

量產確定!Indian Scout FTR 1200明年發表!

Indian Motorcycles以精緻的美式重機聞名於世,但其實他們在把美式重機精緻化的同時,在改裝市場當中也有著很好的發展,尤其在美國這種機車改裝相當盛行的國家,Indian其實非常受到歡迎,尤其是美國的Flat Track泥地賽事,相對於一般道路賽車的速度慢了不少,但刺激程度可沒有降低,而這項FTR 1200正式為了這個賽事而生的產物!

Dickson 2018/06/18

7

Skoda又添RS猛將,性能棕熊挑戰紐伯林!

Skoda又添RS猛將,性能棕熊挑戰紐伯林!

Skoda品牌在全球市場發光發熱,其中最火熱的產品就是旗下的大型休旅Kodiaq了,這款產品不僅廣受歡迎,現在Skoda更要把性能戰線補齊,將許久沒有搬出檯面上的RS車系再次運用,而且還是在這輛大型SUV身上,而且一推出就馬上把這輛車送上綠色地獄Nurburgring來一場真實的挑戰!

Dickson 2018/06/15

L

莫再提,Maverick Vinales:我的前10圈跟垃圾一樣!

莫再提,Maverick Vinales:我的前10圈跟垃圾一樣!

比起Jorge Lorenzo的主場奪冠,藍色軍團的YAMAHA可就似笑非笑了。不可否認Valentino Rossi上到第三的成績出色,但回過頭來認真審視,Movistar YAMAHA卻始終沒有真正的改善車輛的核心問題——看看Maverick Vinales。

Tatsuya 2018/06/18
Jorge Lorenzo:Rossi如果騎這台DUCATI也能贏!

Jorge Lorenzo:Rossi如果騎這台DUCATI也能贏!

在激烈的Catalunya站結束之後,DUCATI車手Jorge Lorenzo再度以精準的單圈速度控管能力,強力獨走奪得繼義大利Mugello以來的連二拉二,當然, DUCATI車庫內的五味雜陳與臉頰紅腫也就不多說了。

Tatsuya 2018/06/18

L

官方新聞稿。《蟻人與黃蜂女》巨星影迷紅毯相見歡 smart 驚喜扮裝迎英雄

官方新聞稿。《蟻人與黃蜂女》巨星影迷紅毯相見歡 smart 驚喜扮裝迎英雄

一直以來 smart 叛逆多變的性格,且總是讓人會心一笑的登場方式驚豔無數潮流男女,這回在 Marvel 漫威影業成立十周年的重要時刻,漫威影業將台灣作為漫威宇宙最新力作《蟻人與黃蜂女》的亞州宣傳首站,派出飾演「蟻人」的火紅男星保羅路德(Paul Stephen Rudd)與飾演「黃蜂女」的知名女星伊凡潔琳莉莉(Nicole Evangeline Lilly),與期待已久的影迷在6 月 13 日於國家兩廳院廣場進行最令人難忘的紅毯見面會...

SUPERMOTO8 2018/06/15
官方新聞稿。Porsche 公布最新車系命名 Mission E:保時捷旗下首款純電動力超跑正式命名為Taycan

官方新聞稿。Porsche 公布最新車系命名 Mission E:保時捷旗下首款純電動力超跑正式命名為Taycan

汽車科技未來藍圖更進一步 : 保時捷首款純電動車即將於明年正式投入量產,在前置規劃階段,這款車目前以「Mission E」概念研究命名,也是保時捷旗下電動車型的統稱,雖著品牌朝向未來更進一步,推出正式車型命名Taycan,其字意大致可解釋為「活潑年輕的馬」,引用自保時捷盾牌標誌的中心圖像,1952年起盾牌的中心即為一匹跳躍的駿馬...

SUPERMOTO8 2018/06/15

8

向英國騎士致敬,Citroen推出DS3 Café Racer Limited Edition

向英國騎士致敬,Citroen推出DS3 Café Racer Limited Edition

Citroen的高端品牌DS,為了慶祝20世紀60年代時的摩托車文化,特別推出一款別出心裁的DS3特仕車,命名為Café Racer Limited Edition限量150輛。導入特別車色,透過巧思裝扮一下車身外觀,有三種不同等級給消費者從中選購,限定英國市場售價為21000英鎊左右。

阿德 2018/06/15

34

L

拉力賽九冠頭銜加持。Vespa GTV 300 Sei Giorni澎湖試乘會

拉力賽九冠頭銜加持。Vespa GTV 300 Sei Giorni澎湖試乘會

不漂亮,毋寧死。相信許多讀者一聽到這句廣告詞就會聯想到來自義大利的經典品牌VESPA,為了充分讓讀者與媒體體驗到VESPA的經典魅力,就讓我們一同來到熱情的澎湖,一同體驗這輛傳承自“國際六日二輪越野拉力賽”的經典車款Vespa GTV 300 Sei Giorni...

Webber 2018/06/26
官方新聞稿。力挺波麗士 SYM三陽工業警察節志工活動

官方新聞稿。力挺波麗士 SYM三陽工業警察節志工活動

近期員警因公受傷事件頻傳,SYM三陽工業關心員警出入交通安全, 6月10日舉行警察節志工活動,指派志工隊針對警察局及派出所附近重要道路,將621面道路反光鏡擦拭乾淨,為員警交通安全盡綿薄之力...

SUPERMOTO8 2018/06/14
官方新聞稿。SYM FNX好膽試!騎過都說好!預約試乘享雙重好禮

官方新聞稿。SYM FNX好膽試!騎過都說好!預約試乘享雙重好禮

SYM致力於給消費者更良好的騎乘經驗,研發FNX 新世代三零設計,並於六月中開啟「FNX 好膽試」試乘活動,目標再創消費者騎乘新體驗。預約試乘就送好禮,現場購車再送第二重好禮,騎過都說好,就怕你不敢來試!

SUPERMOTO8 2018/06/13

49

L

2018 SUZUKI TRACK DAY賽道盛會。阿魯軍團奔馳大鵬灣

2018 SUZUKI TRACK DAY賽道盛會。阿魯軍團奔馳大鵬灣

近年台鈴機車引進了許多Suzuki的性能車款,上從俗稱大阿魯的GSX-R 1000下至近期火熱的白牌小仿賽GSX-R 150,這些都是戰鬥力十足的車款,對於無處釋放的熱血,台鈴機車也首次的在6/10於大鵬灣舉辦了賽道日活動,讓車友們可以在安全的狀況下,享受車輛的極限性能之外,也能讓車友們盡情享受殺彎與賽道騎乘的樂趣。

Ziv 2018/06/11
離合器也智慧!MV AGUSTA推出運動摩托車用半自動離合器技術

離合器也智慧!MV AGUSTA推出運動摩托車用半自動離合器技術

對於摩托車的自排離合器而言,越野車早已見怪不怪,但對於運動型的跑車而言,卻是新奇且值得玩味的。在台灣我們司空見慣的速克達無段式變速箱(CVT),以及近年HONDA自家驕傲的Goldwing所用上的雙離合器變速箱(DCT)之外,What else?

Tatsuya 2018/06/11

8

最環保的露營車,西班牙限定Nissan e-NV200 Camper

最環保的露營車,西班牙限定Nissan e-NV200 Camper

Nissan內部開發了一輛電動露營車e-NV200 Camper,是由電動車e-NV200修改而來,不過要論及露營車使用純電動車動力來行使,多少人都會有些隱憂,畢竟露營必須穿梭郊外,長時間的走行是必然的。這輛車目前在西班牙馬德里車展亮相,不過因屬內部開發,所以並未做大勢曝光。

阿德 2018/06/11