與20年前的機車相比,科技上的進步相當明顯,尤其是各種電控系統的介入讓車輛騎乘感受更好之外,同時安全性也增加不少,而其中線控油門是不可或缺的一環,有許多科技都是圍繞在油門反應控制的基礎上,而現在不只右邊的把手採用線控系統,就連左把手上的離合器拉桿也將導入線控科技。
在2006年Yamaha發表的全新R6是第一款擁有線控油們的量產機車,在此之前所有的機車油門都是透過鋼索連結著節氣門來控制引擎,而線傳控制系統則是將訊號傳遞至電腦,透過電腦再去控制引擎,時至今日許多摩托車也都使用了線傳油門,不過在未來很有可能連離合器也都採用線傳科技,因為Honda申請最新的專利當中揭露了這一點。
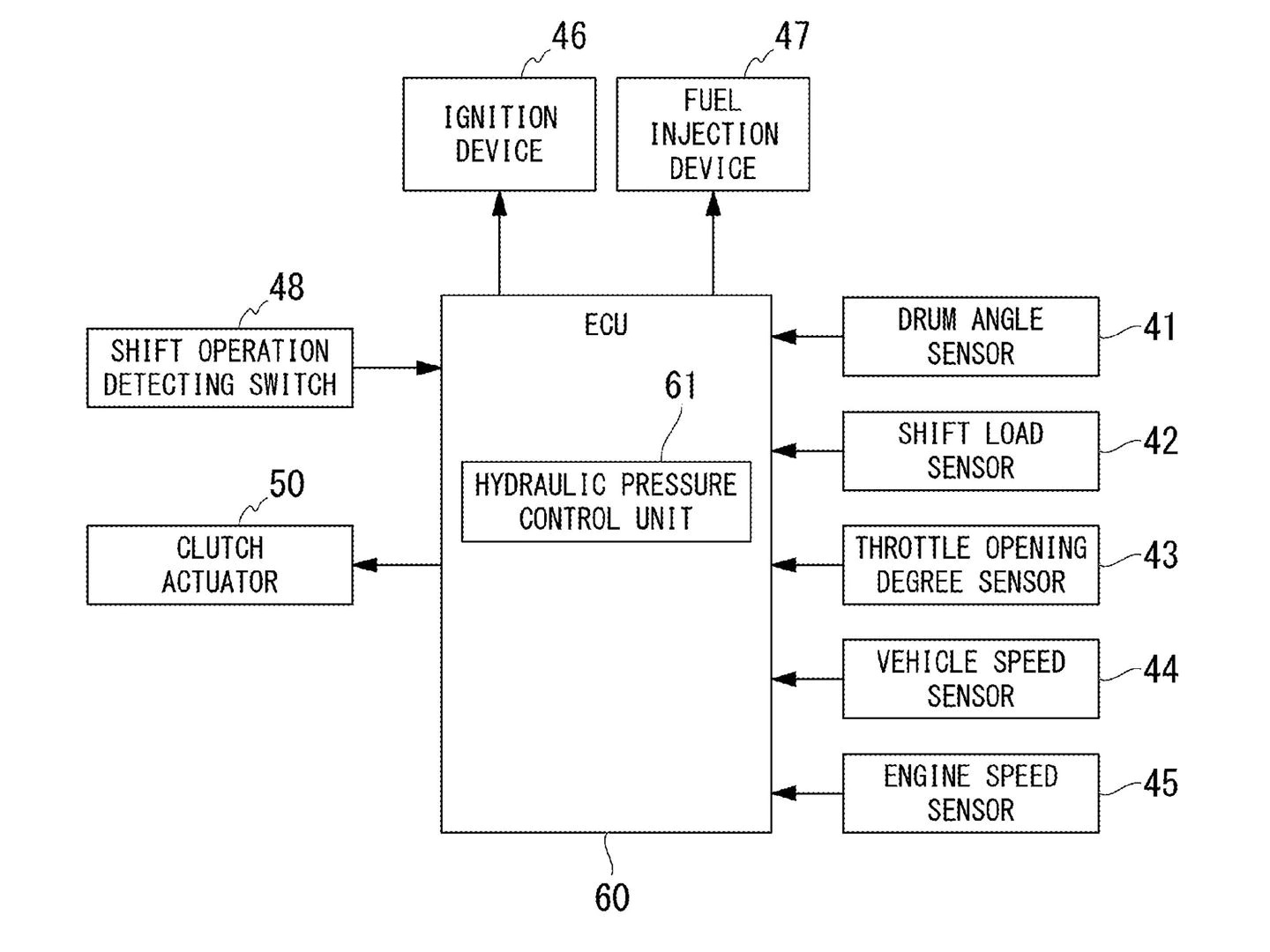
目前在機車上透過諸多感應器並且加上線傳油門控制,不僅可以透過改變點火正時或者是減少燃料供給來達到減少動力的效果,避免車輪發生打滑意外,而且在過彎、起步時這些科技也都提供了良好的穩定性,而下一個可以讓這些更進步的科技是什麼?Honda認為將會是「線控離合器」,有趣的是Honda依舊保持了傳統液壓離合器的概念。
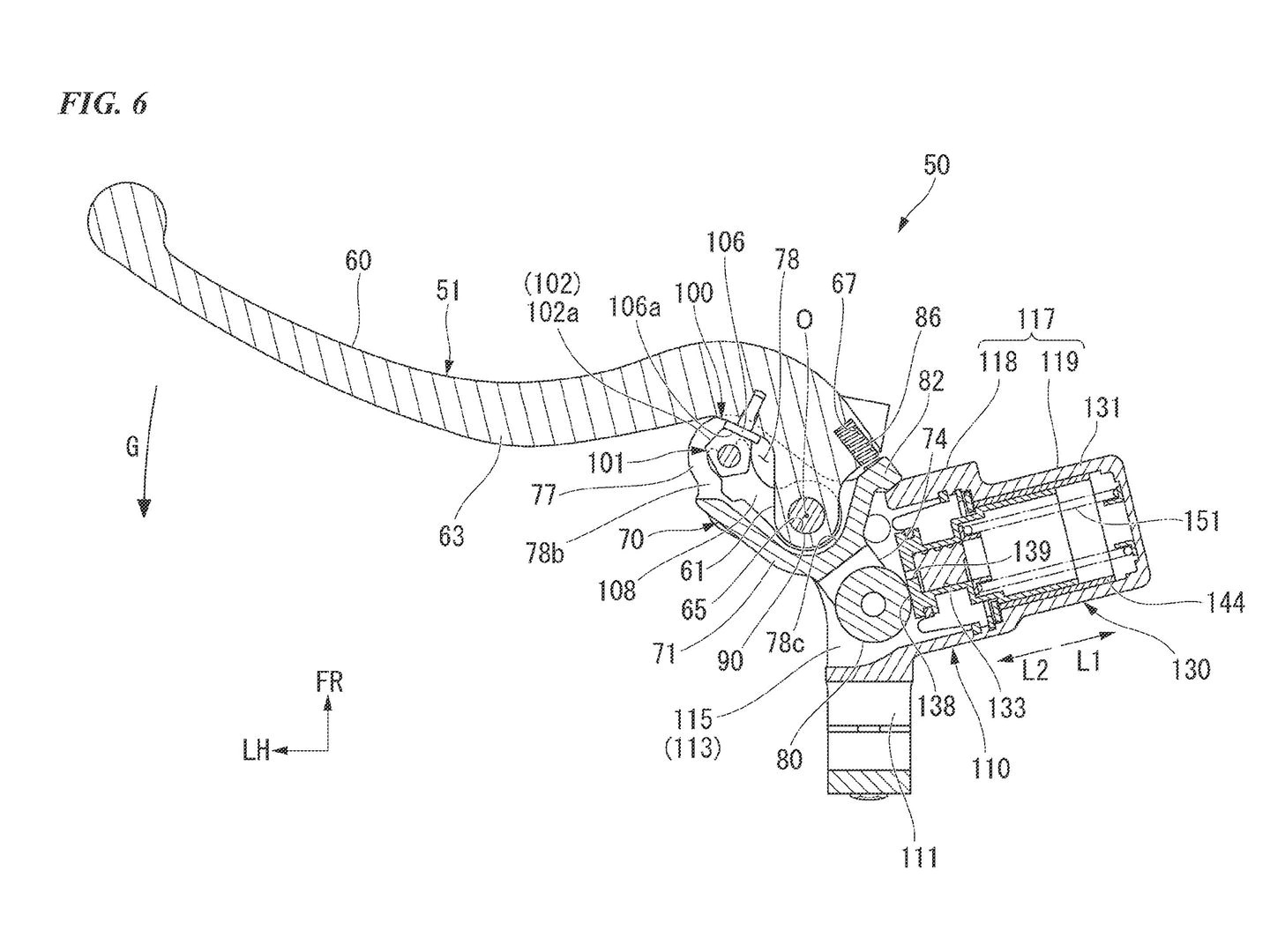
過去通過液壓系統來操控離合器,而這次Honda的線傳科技依舊沒有離開液壓系統,只是它並沒有直接連結到離合器上,取而代之的是電腦的訊號讀取,透過騎士每次的按壓深淺不同來將離合器做出接合或是分離的動作,同時電腦還可以偵測油門位置、檔位、速度、轉速以及打檔桿的資訊,來讓每一次的換檔都會是完美的演出。另一方面在車輛靜止的狀態即便沒有進入空檔也沒有拉離合器拉桿的狀態下,電腦也能夠自動讓離合器開啟,避免車輛熄火。
而線控離合器的出現將會帶來更多實用的科技,例如在某些狀態下,騎士可以完全不用操控離合器就可以完成換黨,或者是結合快排系統創造出更為滑順以及快速的換檔,同時接合了油門、點火、噴射、輪胎抓地力等各種詳細的資訊,讓車輛擁有更安全且性能化的表現,可能就連彈射起步也將會變得無比簡單,在這項專利當中還包含了產生反作用力的裝置,也就是你的手感將會跟過去使用的傳統離合器相同,總之這項科技可能很快就會導入到產品當中,我們也相當期待它的表現會是如何。



