是的,這真的要發生了! 在我們報導了全新專利申請不到一年後,Kawasaki 在社群媒體上釋出了一段引發熱議的預告,暗示即將推出全新的二行程摩托車。
Kawasaki 透過社群媒體發佈了一則充滿暗示的短片,掀起了網路上的一陣熱潮,內容暗指這家製造商正準備帶回許多騎士期待已久的二行程摩托車。也是繼H2的機械增壓引擎、ZX-4RR的小排量四缸引擎後,再次推出極度不理性的全新嘗試。
這支影片僅僅 10 秒鐘,主要呈現了一系列 Kawasaki 粉絲留言,要求回歸二行程時代。短片結尾的文字「我們聽到了」明確表明 Kawasaki 團隊正走向一場「煙霧繚繞」的技術革命。
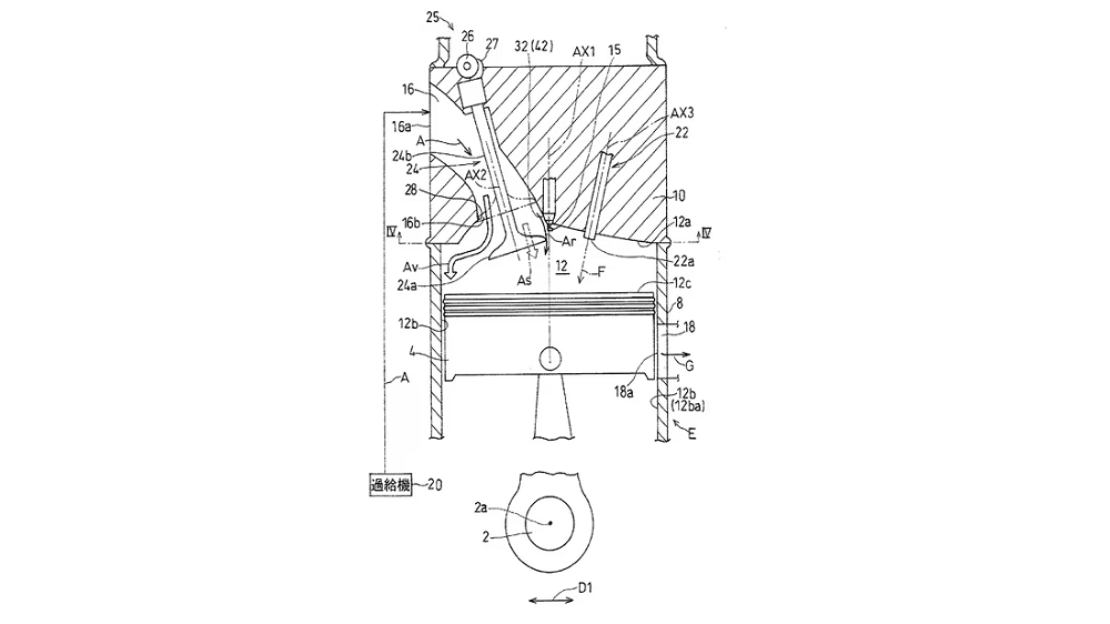
儘管這僅是一支預告片,但從以往專利圖的深入報導中可以補充一些背景資訊。根據提交的專利文件(2024 年 7 月公開),Kawasaki 正在開發一款全新的二行程引擎,且技術非常先進。這款引擎承諾配備燃油噴射系統、凸輪軸驅動的進氣閥與渦輪增壓裝置。



