由於各國環保法規都有著日漸嚴格的趨勢,許多車廠都為了配合政策而捨棄了二行程引擎轉至現代主流的四行程引擎來獲得較好的能源轉換效率,不過近幾年也是有不少車廠正著手於研發能夠合乎現代環保法規的二行程引擎。隨著網路資訊的普及,Kawasaki向專利局申請二行程引擎的專利圖也被曝光!趕快一起來看看他們有哪些新想法!
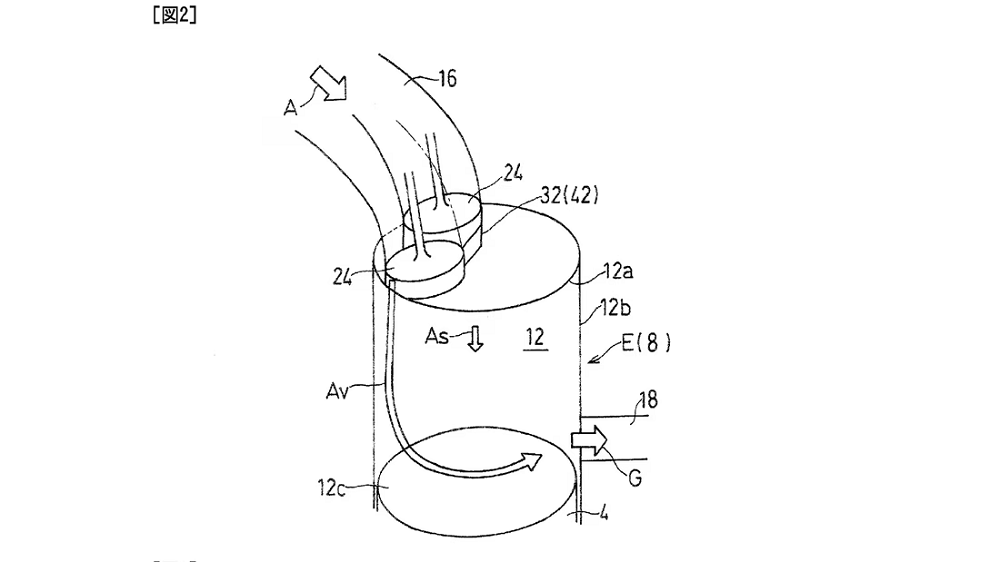
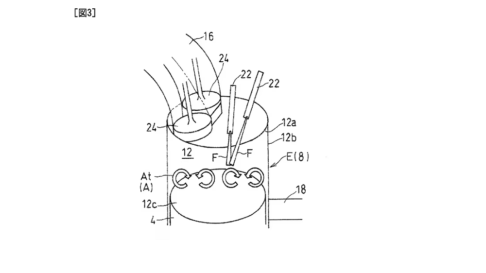
直接點出這顆引擎最大的亮點,那就是Kawasaki這次申請二行程引擎專利圖當中包含著渦輪增壓系統!由於過去的二行程引擎運轉過程中有著能量轉換流失的毛病,為了解決這個問題Kawasaki在新的二行程引擎上裝上了渦輪增壓系統讓引擎的進氣可以更順利的進入到引擎,透過增壓的方式讓引擎排出的廢氣減少來配合環保法規越來越嚴格的跡象。
雖然要在現在的機車上看到二行程引擎不是一件容易的事情,但不能否認的是二行程引擎的運轉是更順暢的,如果可以順利解決能源轉換問題及排出的廢氣想必還是會有許多車迷們買單,畢竟這也是不少老車迷們的經典回憶。不過目前還不清楚Kawasaki打算將這顆渦輪增壓二行程引擎作為哪種用途使用,不過如果這顆引擎真的能夠用到他們旗下的機車使用或許真的可以在市場上掀起一陣討論!




