不少人開車享受的是排氣管所帶來的聽覺饗宴,有很多人更為了要有好的排氣聲響而進行排氣管的改裝,但如果變成電動車之後,這些車主將沒辦法在享受排氣聲浪所帶來的魅力,對此Porsche認為電動車跟排氣聲浪並不衝突,如果沒有排氣管的話,幫它裝上就好,同時也裝上音響系統讓車輛可以發出獨特的聲浪,預計將會在下一代的Taycan以及電動Macan當中使用這套特別的系統。
全新的718 Cayman GT4 RS才剛發表完不久,4.0L的水平對臥六缸引擎源自於911 GT3的動力心臟,強大的性能演出讓人難以忘懷,但是內燃機的美好終將結束,從Mission R這輛純電的概念跑車就可以略知一二,未來Porshce將會有越來越多的電動車款,包含了718的純電版本車型,而其中大家最難習慣的就是排氣聲浪消失這件事,不過現在德國大廠Porsche將會為電動車製造專用的排氣系統,因為他們認為電動車所發出的聲響缺乏情感。
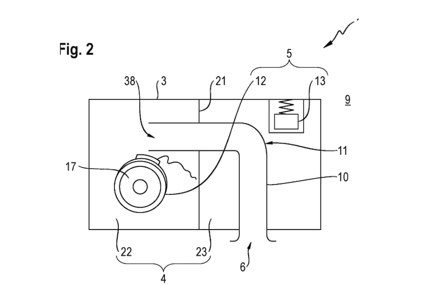
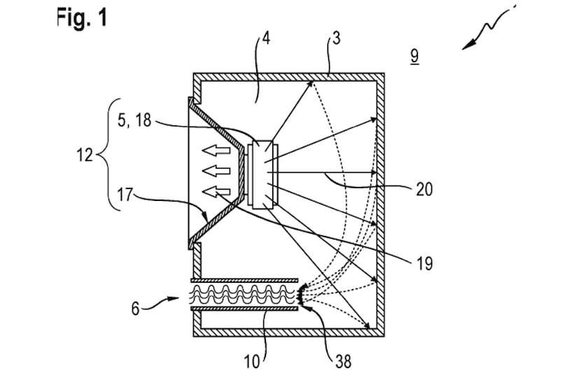
其實每輛電動車在車輛外部都有安裝音響,其目的是因為車輛在低速行駛時必須要發出聲響警告外面的行人,但通常使用的音響都是非常簡易的,不僅是聲音的大小被侷限,同時聲音的品質也不是太好,因此Porsche想要改善這個狀況,讓這些音響的聲音品質可以提昇,在打造電動車款時就把這個因素考慮進去,研究如何透過車體創造出不同的聲響共鳴,讓電動車有著更大的聲浪效果,滿足車迷對於車輛的聽覺期待。
從專利圖來看,Porsche依舊想要透過傳統的排氣尾管來創造出大家熟悉的排氣聲響,這意味著未來在電動車當中的排氣管不只是裝飾而已,而且還有著喇叭共鳴及擴大的效果,不少外媒相當期待這套系統的開發,並且預測聽起來應該會真的與過往的引擎一樣好聽,雖然這麼做有些好笑,但不得不承認排氣管帶來的迷人聲浪真的會讓人熱血沸騰啊!







