騎車最怕發生碰撞事故,近年來機車製造商也在科技進步之下,不斷地替機車開發更多的安全防護配備,甚至像是BOSCH先前更展示過用噴射來防止摔車的特殊裝置,而這次來自德國的BMW則是展示了一項比較“低科技”的機車防護裝置。

BMW這項防護裝置,跟其他的高科技電控系統相比,真的是非常傳統的設計,對汽車安全防護有些認識的車友,肯定都聽過「潰縮區」這個名詞,潰縮區顧名思義就是靠著車輛本身設計的潰縮區塊,來吸收碰撞時的衝擊力,進一步降低乘客受到的傷害,但是過去由於機車本身體積較小,就沒有什麼潰縮區的設計出現在機車上頭。
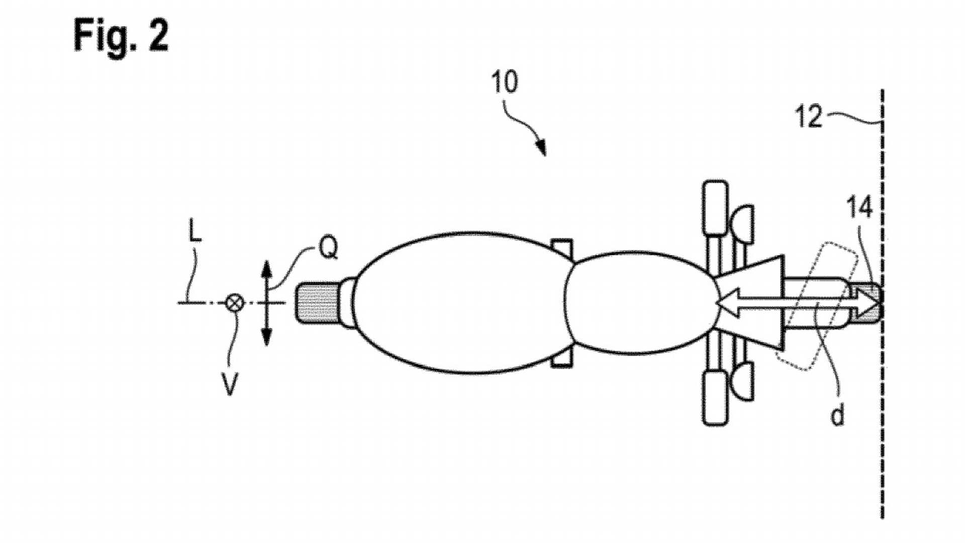
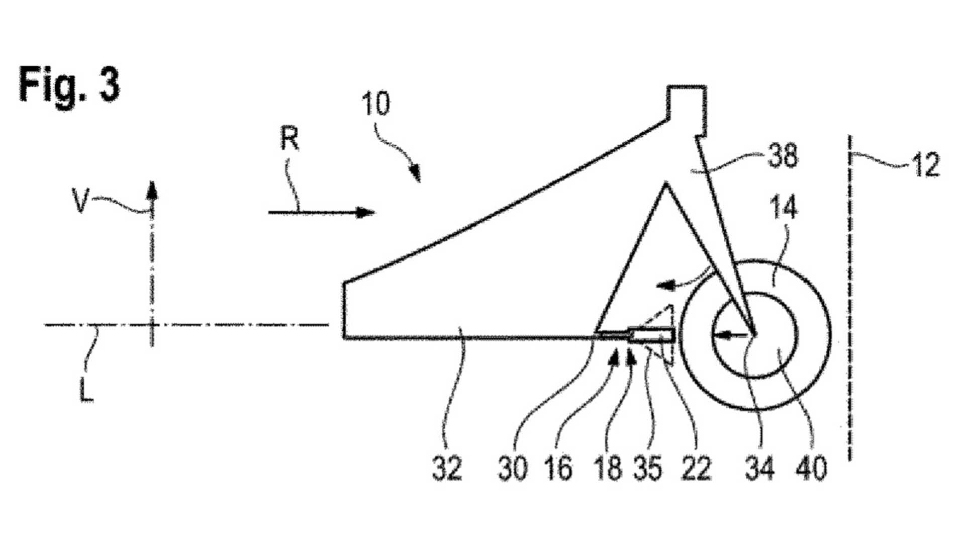
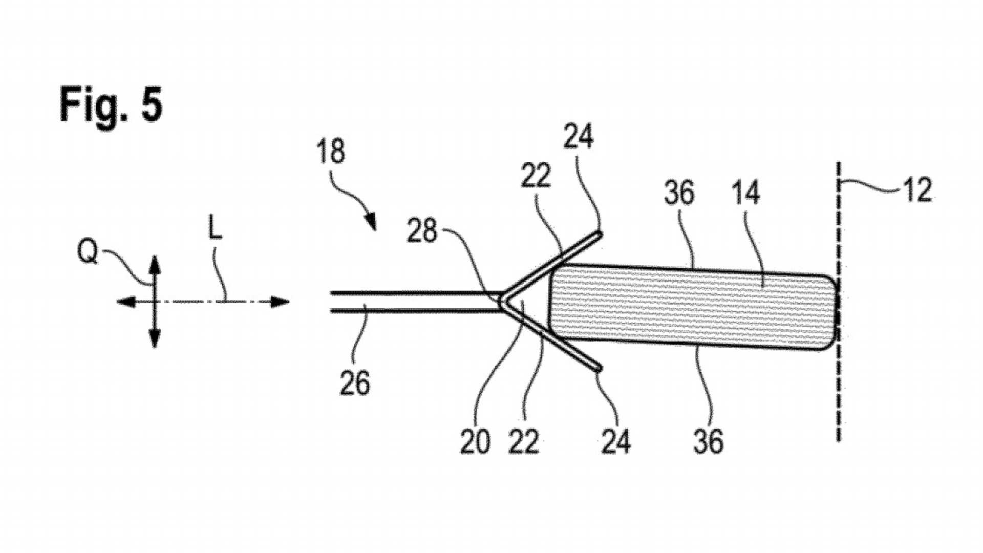
另外,機車在遭遇正面碰撞時,由於前輪容易因為撞擊力道導致輪胎偏移,這樣的特性也更容易讓騎士因此往兩側摔跌造成額外的傷害,因此BMW的這項專利,透過在車架前端靠近前輪的部位,安裝上一個V型漏斗,讓機車在遭遇正面碰撞時,輪胎能穩穩的固定在正面的位置,並藉此來讓輪胎、前叉成為一個吸收衝擊力道的潰縮區塊降低傳遞到騎士身上的衝擊力道。
雖然BMW的這個新專利,看起來相對沒有這麼“高科技”,但這個小小的裝置在碰撞事故發生時,相信能將低不少傳遞到騎士身上的衝擊能量,並且將可能受到的傷害降到最低;但不得不說,這個突起的V型漏斗出現在車架前端、前輪後方,真的顯得有點突兀,不過為了安全,外型突兀了點似乎也是可以接受的!




