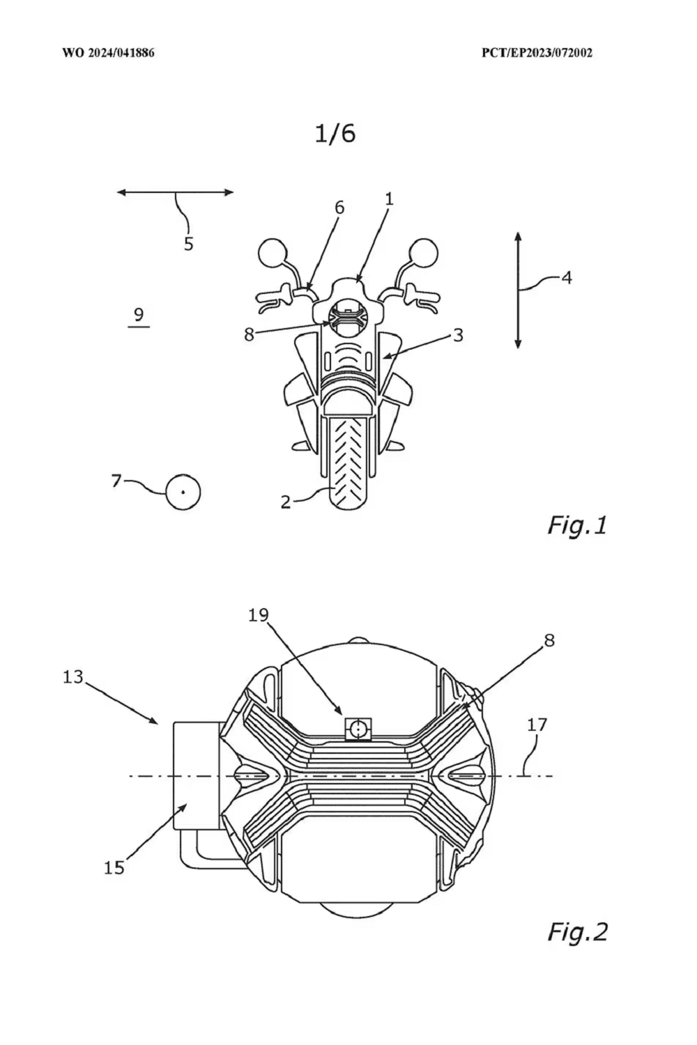
在機車的頭燈上,BMW一直都是這塊領域的領頭羊之一,過去幾年他們致力於研發出能夠提供更好道路照明的頭燈組來幫助駕駛在夜間騎乘能夠擁有最良好的視線。看到了R 1250 GS上的可自動旋轉的Pro Adaptive頭燈之後,最近BMW向專利局申請了一組三軸穩定器頭燈專利!
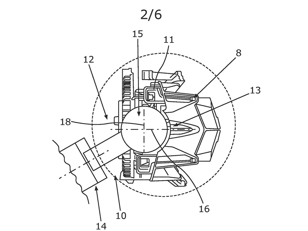
沒錯,這邊說的三軸穩定器正是一般在相機、攝影機上可以看到的配備。穩定器的三個軸分別都有著不同的用處,一個軸將作為固定頭燈高度使用、第二個軸則是讓頭燈保持水平、最後一個軸則是讓車輛在過彎時頭燈可以旋轉來取得最佳的照明點,整套系統都將會透過車上的IMU直接進行操作,會依照車輛行進狀況自行調整。
這套專利當中還有一個小亮點,那就是頭燈組裡面還設有一個攝影機。雖然官方並沒有在這份文件當中說明攝影機的用途,只提到了「作為捕捉特定區域環境使用」。不過既然他都裝設在頭燈當中,外界也猜測這或許會是作為像是車道維持系統、煞車輔助系統、巡航系統等駕駛輔助系統使用,但也許這只是為了要讓車輛的頭燈組和汽車上越來越常見的Matrix頭燈一樣可以偵測道路狀況自動調整照明範圍也說不定。
無論如何,要看到這組三軸穩定器頭燈組的出現應該還需要好幾年的時間。結合了三軸穩定器、攝影機、LED燈具三者的頭燈組,確實是個相當創新的想法,而且概念上來說他真的可以讓駕駛在夜間行駛時擁有更好的視野。最後BMW究竟會怎麼呈現這組燈具,就交由時間來說明一切吧!
 
                             
                                    



 
                                     
                                     
                                     
                                 
                                 
                                 
                                 
                                 
                                 
                                 
                                 
                                 
                         
                                 
                        