越來越多國家和地區的執法單位開始使用噪音科技執法,抓捕排氣管噪音超標的摩托車,就算您的愛駒完全原廠、合法上路,也可能因為不知情的情況下超出當地噪音限制而被罰,例如,奧地利就走在取締噪音車型的最前線,甚至針對特定道路禁止某些摩托車通行。
有趣的是,同樣來自奧地利的 KTM 車廠,似乎正在研發解決噪音超標的方案,目前,新車型在上市銷售之前,都需要通過嚴格的噪音測試,但這些測試都是在特定條件下進行的,例如設定車速、加速率、檔位以及麥克風的位置。
有可能即使是合法合規的車款,在實際騎乘狀況下,例如轉速區間不同或是被不同位置的麥克風檢測到,都可能被錄下超標的噪音值;KTM 意識到騎士與噪音監管單位之間的矛盾,並提出了一個有趣的解決方案,有點類似於超速限制的處理方式。
就像限速器一樣,騎士可以透過儀表上的訊息,自行監控摩托車的噪音水平,避免觸犯法規;既然未來噪音限制可能變得跟限速一樣普遍,那麼 KTM 研發的噪音偵測系統就非常實用。就像我們不會限制摩托車的最高時速,只要騎士能自行控制車速,遵守不同路段的限速規定即可。
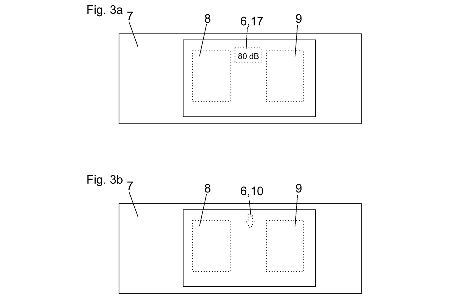
KTM 的專利申請中提到,會有一個「視覺、聽覺或感應」的警告系統,提醒騎士超出預設噪音限制。例如,儀表板上會亮起警示燈號,或出現「數字或類比」顯示器,即時呈現目前的噪音值;摩托車的噪音將由安裝在引擎和排氣管周圍的麥克風、傳感器監測,經過校準後提供數據,模擬路邊噪音檢測器的檢測結果。
或者,也可以透過既有的油門位置、車速、轉速和負載等數據,建立一套噪音模式,即使沒有即時感應器,也能夠估計在任何騎乘狀況下的噪音值。
騎士在看到高噪音的警告後,可以透過換檔降低轉速或減速的方式降低音量。 KTM 還提到可以設定預設的限制值,例如選擇“低噪音模式”,調整引擎供油曲線圖,例如限制最大油門開度或轉速,以確保不會超過噪音限制;更進階的功能是,還可以透過 GPS 定位數據來啟動預設模式。例如,當摩托車進入限噪區時,將會自動啟用「靜音模式」。
這些資訊會傳送到控制模組 (編號 2),然後傳送到儀表板上的音量顯示器或是啟動低噪音引擎供油曲線圖,KTM 這套車載噪音感應器的新穎設計,將能有效幫助騎士應對日益嚴格的噪音管制,避免因超標而被罰。






