隨著HONDA新一代跑車CBR1000RR正式投入賽事,而CBR600RR也露出了一絲復活的曙光,這時大家不經要問先前吵得沸沸揚揚,搭載著V形四缸引擎的超級跑車難道只是空穴來風嗎?就當這樣的疑問在心頭萌芽時,HONDA最新的一批專利書卻猶如一劑猛烈的強心針。
HONDA這次的專利申請可說是低調到家,使用HONDA汽車的名義作申請,內容也是參雜於汽車的專利文件之中,文字敘述的部分更是謹慎,以重新設計、設計變更等詞彙取代新樣式、新設計,但儘管層層掩護依舊還是被眼尖的外國媒體給挖了出來。
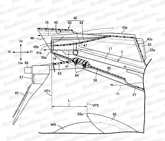
本次的專利書內容主要針對腳踏與車尾設計所提出,從事意圖中我們能看到,新車確定採用單座設計,騎乘三角的戰鬥的風格也相當的硬派,但排氣管並沒有使用與RC213V相同配置,而是較為傳統的單側單排。

HONDA對這台新車的車尾設計著墨甚深,主要是敘述氣流導流過車尾翼的通過路徑,但對於詳細的功能卻是隻字未提,但從造型推估多半是為了高速行駛時提昇車體穩定性所設計。
值得注意的一點,雖然專利圖中排氣管是使用單側單排的形式,但在車尾部分似乎還是保留了中置排氣管的安裝空間,只要將車牌支架移除就能換上underseat形式的排氣管。
據知情人士透漏,這台新車將要到2018年才會正式發表,定位將會在CBR1000RR S/P2與RC213V-S之間,是一台以競賽作為導向的純種仿賽,而名字將會繼承自傳奇的V4車款RVF。
資料來源.morebikes by.Van
 
                             
                                    





 
                                     
                                     
                                     
                                 
                                 
                                 
                                 
                                 
                                 
                                 
                                 
                                 
                         
                                 
                        