去年我們曾報導中量級跑車HONDA CBR600RR 即將於2017年停產的消息,至今仍沒得到官方證實,這個舉動某種程度上或許是可以預見的,但更重要的是本田會如何填補這個產品級距的缺口。即使眾說紛紜,我們卻從HONDA 在美國最新申請的專利圖中發現一款近似CBR600RR 的跑車身影,到底是怎麼回事呢?
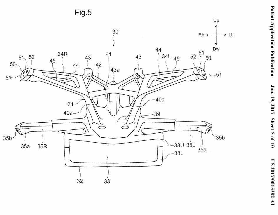
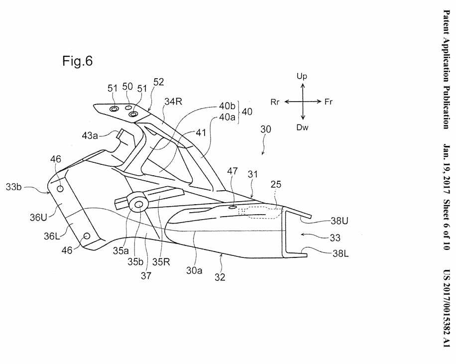
大致來看,這次流出的專利圖中只著重在整流罩頭段的支架設計,HONDA未來將讓這個零件同時肩負衝壓進氣道入口,後照鏡鎖點,儀錶架,以及大燈支架等多重角色,化繁為簡的優點是減輕重量。當我們再仔細觀察,本田在主車架的轉向鵝頸上開了一個洞,未來空氣將由此進入集氣箱,但這個設計在2017年式的CBR600RR 上就已經出現。
而令人感到意外的是大燈的擺放位置,圖紙上大燈被放在進氣道入口的內側上緣,而且燈具體積非常小,這和HONDA 現型車款的造型都完全不一樣,但圖上的車型看起來卻像是CBR600RR,難道先前傳出停產的消息只是子虛烏有?關於這點我們有一個比較合理的解釋。
過去我們針對CBR600RR 停產的消息進行分析,停產的理由很可能是因為歐規四期的排放法規,加上該級距的市場逐漸縮小所造成的結果,但排氣法規因素僅限於歐洲市場,所以CBR600RR 目前仍在美國販售。
綜合以上訊息,我們認為最有可能的做法是,本田將持續生產美規版本的CBR600RR,直到無法符合當地法規為止。而未來改款將會採取與YAMAHA R1/R6 相近的手法,也就是把燈具極小化,讓車輛外貌接近廠車造型的方向進行。
當然,這些這都是我們的推測,或許大家會先在今年HONDA 的新款1000c.c V4 跑車上面看到這個面貌也說不定。
資料來源.hondaprokevin by.Jeffrey











