電動潮流下不少機車大廠也紛紛展開自家的科技研發,作為最會亂點科技樹之一的日本大廠YAMAHA,近日也被外媒挖出兩項有關TMAX大型運動速可達車型的HYBRID油電混合專利,有趣的是YAMAHA還一口氣提出兩種不同的油電混合方式與設計。
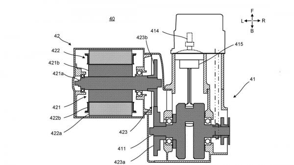
第一種是直接將HYBRID馬達與內燃機引擎透過曲軸連結,達成類似現在汽車上常見的48V輕油電系統,這樣做的優勢在於能直接使用現行車款的傳動機構,不需要額外開發HYBRID專用的傳動系統,大幅簡化、減輕HYBRID帶來的額外重量和結構複雜度。
另一種則是較為傳統的HYBRID系統,HYBRID的馬達和內燃機引擎分別作為兩個獨立的動力來源,這樣的設計牽涉到重新設計變速和傳動系統,另外從專利圖也能看到YAMAHA打算將HYBRID系統加裝在變速箱、後搖臂上,這也意味著整個後搖臂部分需要經過重新設計;但這樣做也有其好處,YAMAHA可以打造出一套模組化的HYBRID系統,未來能直接應用在不同引擎、不同車款上。
不論YAMAHA最終選擇哪種HYBRID專利設計來打造實車,可以確定的是未來我們看到HYBRID TMAX的機率都相當高。
從操控表現的層面來看,輕油電的第一種專利應該會是比較受車友們喜愛的設計,畢竟傳統HYBRID除了增加車重之外,電池肯定也會吃掉不少車廂空間,對於TMAX這類主打便利性的大羊來說,少了車廂空間絕對是扣分不少。




