自2013年H2R推出以來,這台瘋狂的車屢創佳績,也奠定了KAWASAKI在摩托車界難以撼動的地位;而在今年初就有流言傳說KAWASAKI將推出一款中排氣量的增壓運動型車款R2,並且將導入東京車展時所展出的轉子葉片角度可變的增壓平橫技術,雖各國媒體眾說紛紜,但KAWASAKI卻遲遲未見表態。
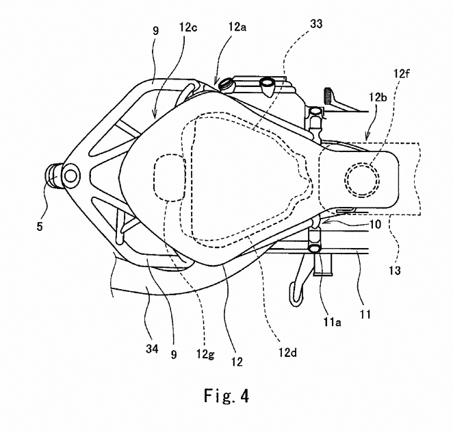
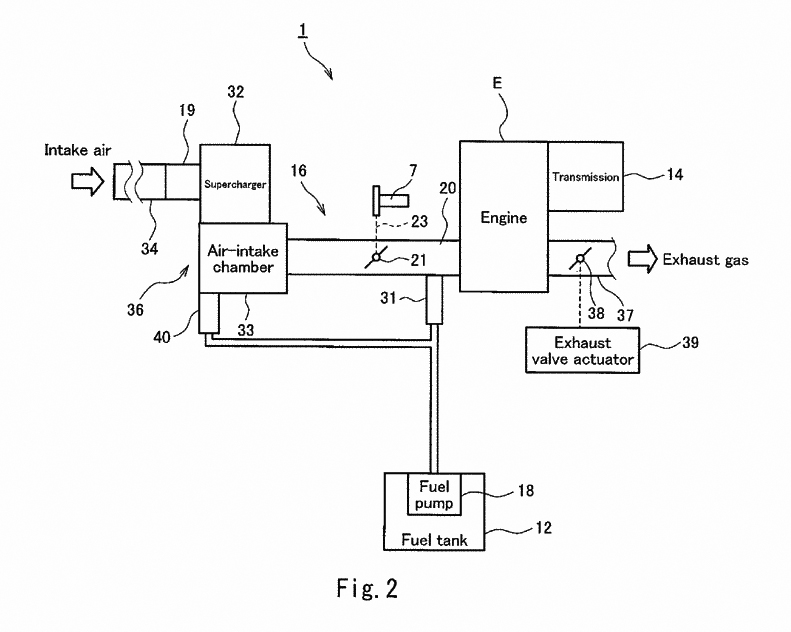
直至近日流出數張專利申請圖,內容清楚的標示出增壓引擎配置方式,與進氣流路布置,而圖中車款正是KAWASAKI的6R,這和先前傳聞的中量級運動車款不謀而合,據悉這具引擎排氣量設定為600c.c.機械增壓,馬力將上看200hp堪比公升及仿賽。
由圖中可以看到,引擎與增壓機的設計非常緊湊,由車頭RAM-AIR孔進氣,進入引擎後方的增壓機本體,增壓過後強制供氣至集氣室,以低阻力的下吸式進氣;為應對機械增壓的大量進氣,集氣室空間大幅擴增,因此油箱的布置也做了些許調整,一路延伸到了坐墊下方,以維持油箱容量。

現行的ZX-6R引擎自2003年大改以來已經十多年沒再大改,雖然有推出新款的636的版本,但對喜歡高轉暴力的玩家而言599才是他們一直以來殷殷期盼的目標,所謂十年磨一劍,十多年過去下一代的6R可能將不只是改款,而是徹底重生,成為一頭增壓猛獸。
資料來源.morebikes by.Van



