在摩托車賽場上時常能看到車手摔車之後,車子就像有自主意志一樣在賽道邊自己向前跑,類似的狀況發生在一般道路上時會對周圍的車輛、路人甚至是騎士造成嚴重的二次傷害,對此HONDA近日推出一項車輛自動轉向控制的新專利,要讓機車的安全性更上一層樓。
隨著新世代主動安全科技的進步,越來越多摩托車品牌都針對旗下的旗艦型休旅、ADVENTURE車款搭載ACC主動定速巡航的功能,這項新功能的核心就是透過雷達感應前方車輛,來維持設定好的車距跟隨前車,而這些新科技也能幫助騎士避免發生追撞,雖然ACC系統和本次HONDA的新專利看似沒有關係,但實際上透過這些新的雷達、鏡頭等科技的輔助,能大幅提升機車的主動安全性能。
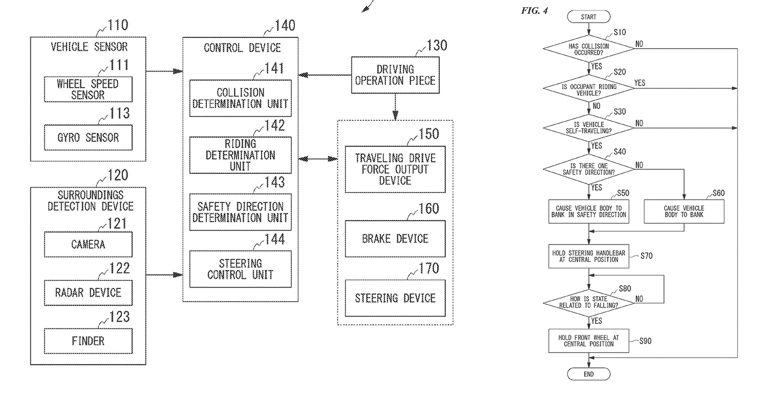
從專利文件可以看到HONDA這套系統主要由兩個控制單元組成,一個是用於偵測車輛是否發生碰撞事故,另一個則是負責控制前輪的轉向操作,如果系統偵測到車輛發生碰撞事故,但車輛依舊處於前行移動的狀態下,系統將會介入車輛的轉向操作,並選擇一條安全的路徑讓車輛停下。
HONDA在專利文件上也以ST1300的休旅車款作為展示,文件中也另外說明車輛將搭載陀螺儀、雷達、攝影鏡頭、光學雷達等感測元件來輔助系統的運作;從以上這些感測元件的組成加上轉向控制的功能,讓人不禁懷疑HONDA未來是不是有機會使用這套系統開發出機車用的車道維持,甚至自動駕駛功能。
以目前HONDA的多項專利文件來看,未來許多旗艦車款,特別是GOLDWING等大型休旅車型上,都很有機會出現ACC主動跟車以及本次曝光的自動轉向系統等新世代安全配備,但是在安全性全面提升之餘,系統介入的時機、程度該如何拿捏才不會剝奪騎士操駕的樂趣,或許也是車廠研發端該謹慎評估的重要功課了!




