近年四輪市場吹起downsize風潮,降低引擎排氣量並加上渦輪,讓動力維持原有水平同時擁有更好節能表現,而這陣風也吹進了兩輪市場,除了無人不知的Kawasaki H2外Suzuki也多次展出渦輪增壓引擎,法國車廠Peugeot更是在2003年就推出了搭載機械增壓的速克達JetForce125,而這份專利申請也代表著Honda將投入增壓引擎開發。
對Honda而言增壓引擎應該不陌生,除了汽車引擎的相關經驗,Honda早在80年代就有渦輪增壓的二輪車款,但受限於當時技術在耐用度與安全性上都不完善,渦輪增壓的兩款車型CX500 Turbo與CX650 Turbo都只生產了一年便停產。
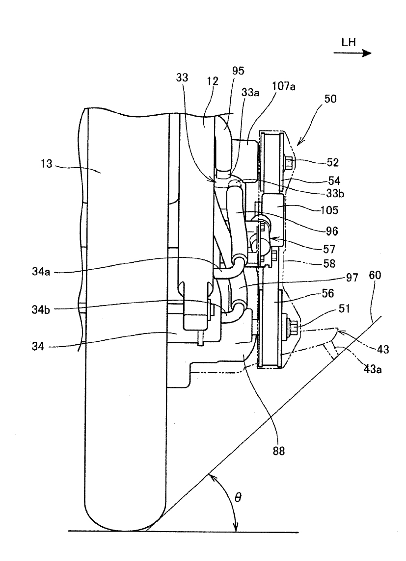
從專利圖可以看出引擎使用機械增壓的設計,與Peugeot的設計相近,動力由曲軸導出,再利用皮帶或是鍊條傳遞到壓縮機本體,壓縮機內部的轉子高速運轉將空氣吸入壓縮再打入引擎,充足的空氣讓燃燒能夠更完全,但氣體經過加壓之後溫度會上升,進氣溫度若過高將會引響燃燒效率降低輸出功率,而引擎前方大面積的intercooler就能有效的降低進氣溫度維持引擎效率。
從圖面上可以看出引擎與車輛並沒有太多的連結,推敲這台車的身分並無意義,專利內容主要應該是以增壓系統為主,也就是說這套增壓系統將來可能應用在任何車款上,而不單單限制在某一車款。
Honda向來是間相當嚴謹的公司不會盲目跟風,相信這次的增壓專利應該也是經過通盤計畫後得出的結論,加上自家四輪產業渦輪技術早已相當純熟,增壓技術實際導入只是時間問題,而屆時應不只使用在性能車款上,更有可能廣泛的使用於中小排氣量的車款,以達到性能兼顧環保的最終目標。
資料來源.morebikes by.Van
 
                             
                                    


 
                                     
                                     
                                     
                                 
                                 
                                 
                                 
                                 
                                 
                                 
                                 
                                 
                         
                                 
                        