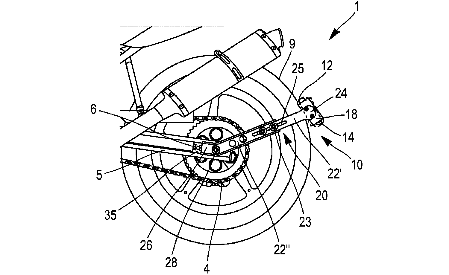
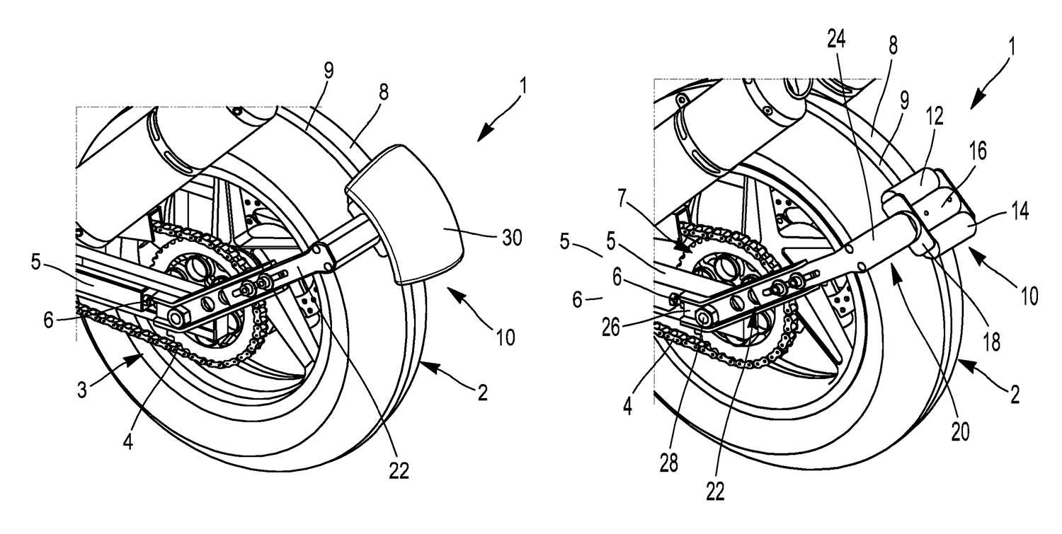
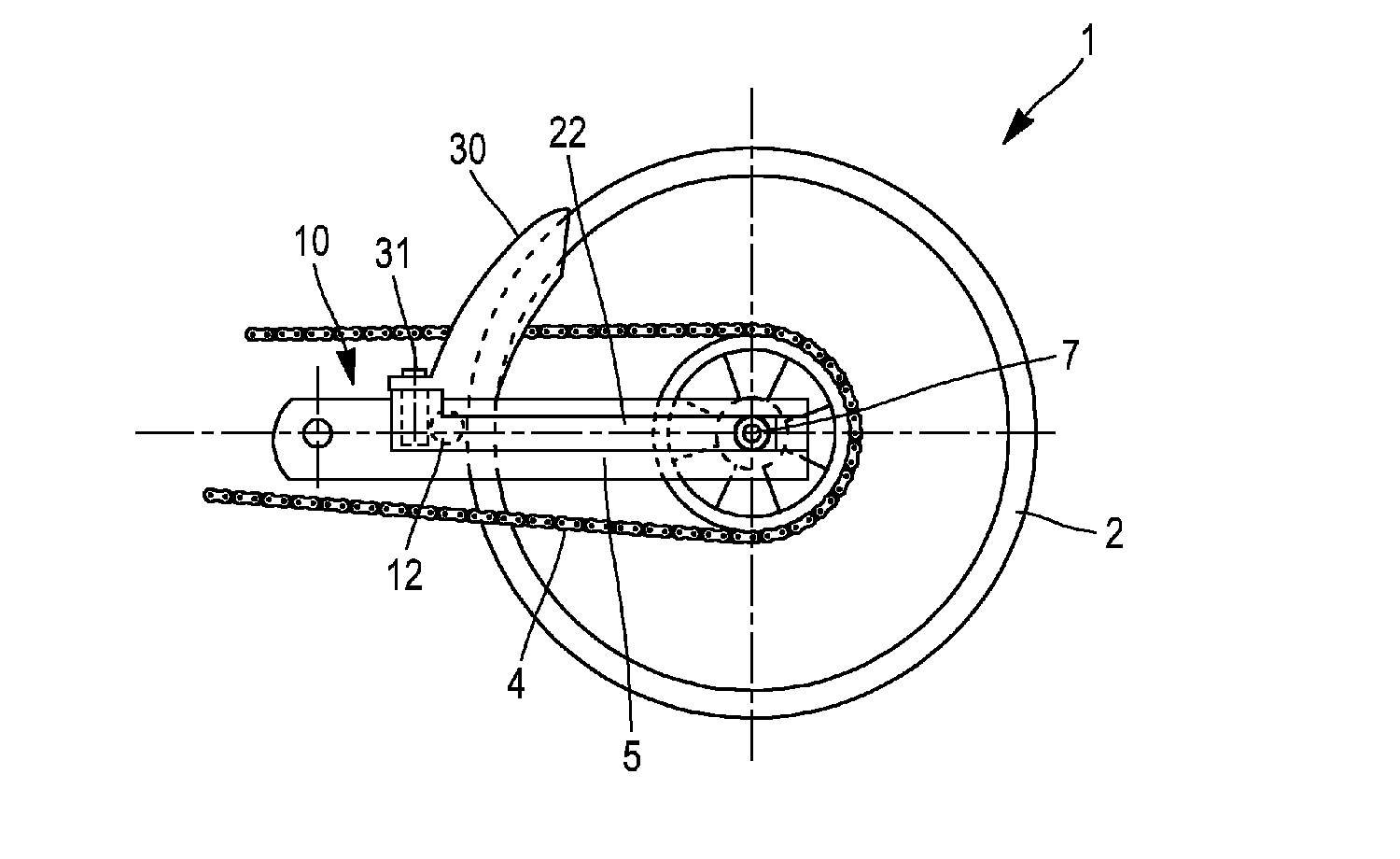
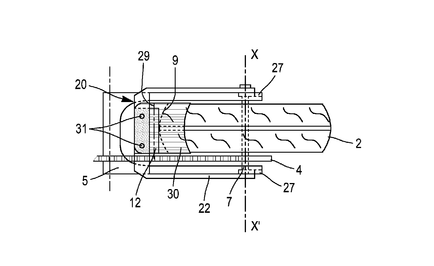
隨著復古風格越來越盛行,近年我們也能看到越來越多車款使用後搖臂延伸的下土除、牌架設計,這樣的後土除形式除了能創造獨特的風格視覺之外,未來還有可能加入更實際的功能,輪胎大廠Michelin近日曝光一項全新的專利設計圖,圖上揭露Michelin打算將後土除加入馬達動力輔助,讓騎士在低速牽車、倒車時可以更輕鬆。
從Michelin的專利圖上可以看到,他們打算將後土除內安裝上一個小型電動馬達和滾輪,並且將控制模組安裝在握把上,當騎士在低速牽車或倒車時,就能透過握把來啟動後土除上的馬達輔助移動。
根據Michelin的資料顯示,他們預計採用3.6V的直流馬達,提供2-4Nm的扭力和最高1公里的時速,小功率的馬達也能避免輪胎因此產生變形的狀況;安裝在土除上的設計也替這套系統增加了改裝便利性;Michelin的專利圖中除了在搖臂延伸後土除上的設計之外,也能看到有安裝在前置式後輪土除上的設計圖。
我想對於台灣很多的電動車友來說,這類的低速輔助系統可能大家都很熟悉,Michelin這套系統雖然在功能上和電動車的類似,但對於很多重機車友來說,要牽著動輒1、200公斤的車款移動真的是一件非常費力的事情,特別是在下賽道推斜坡上貨車、路邊停車要倒車時,如果有這套低速輔助系統,真的會輕鬆不少!




