騎仿賽車款環島絕對是不少人的夢想,但是仿賽車款對於體能的高度要求,絕對是所有仿賽車主的痛,畢竟想要擁有絕佳的性能,就不能缺少超級戰鬥的騎乘姿勢,但是長途以戰鬥姿勢騎乘,絕對是會讓人感到非常痛苦的,這樣的痛苦HONDA也懂。
在近期HONDA曝光了一項非常有趣的新專利,從專利圖上可以看出這項專利是以HONDA旗下的性能旗艦CBR1000RR FireBlade作為基礎,透過車頭握把、儀表、風鏡的可變機構,讓這把火刃一秒變身更舒適、更適合長途騎乘的跑旅車款。

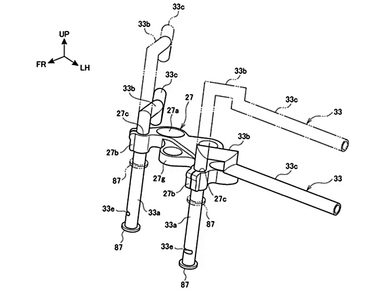
目前從專利圖上看來,HONDA的“伸縮式”握把將從前叉內部伸出來,而風鏡加入了類似X-ADV的可調式設計,儀表也會透過角度調整,來應對兩種不同的騎乘姿勢;目前還無法判斷HONDA這項專利將會使用電動化還是手動調整的設計,不過從NSS300(FORZA)那個令人驚艷的電動風鏡看來,全電動化的設計也不是不可能出現!
當然這樣的變身概念,也不是第一次出現在眾人的面前,過去YAMAHA就曾經發表過一款可以變化握把高度、腳踏位移、座椅位置的YAMAHA Morpho概念車,不過HONDA這次直接以CBR1000RR Fire Blade作為基礎,更提高了未來投入量產的可能!

 
                             
                                    


 
                                     
                                     
                                     
                                 
                                 
                                 
                                 
                                 
                                 
                                 
                                 
                                 
                         
                         
                                 
                        