看到標題,有些人或許會好奇SUZUKI新揭露的專利內容,但我想更多機車愛好者或是鈴木的死忠粉絲所在意的,卻是謠傳已久的中量級渦輪增壓車款究竟何時發表,因為早在2013年東京車展,SUZUKI就公開發佈過一款外形流線的半罩渦輪增壓概念車Recursion,且在2015年展示渦輪增壓引擎EX7,而這2018年又傳出過經銷商掌握的內部車款清單中有著名為700T的神秘車款,雖然SUZUKI未再2018年底的米蘭車展發表,或是帶來新一代的概念車,但最近倒是有渦輪增壓的新專利曝光。
有關SUZUKI渦輪增壓車款的新專利也不是第一天出現,在苦苦等待的6年中,我們陸續看見各種有關這輛車的消息,然而這次的消息倒是讓人格外興奮。雖然2013亮相的概念車SUZUKI Recursion採用鋁製雙梁車架,但在後續版本的專利圖,有著增壓引擎設定的車輛車架皆改為鋼管編織車架,這一點過往被外界推測是為了擁有更良好的增壓管路走線空間,採用類似Kawasaki Ninja H2的編織車架設定。
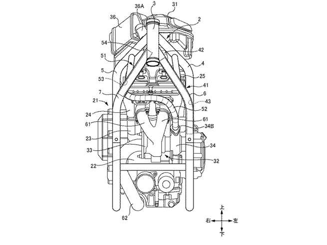
所以在2019年初曝光的專利,SUZUKI依舊維持鋼管編織車架,但本次的專利主要著重於利用鋼管車架的中空特性,將其作為進氣管道,簡化引擎外部的結構複雜程度。
透過圖片可以看見,新鮮空氣首先進入引擎上方空濾,而後經由42導管引入雙搖籃車架的左側下方鋼管中,將氣流透過密閉的車架向下引導,最終透過44號軟管進入渦輪增壓器。完成壓縮後的氣流將會由52軟管進入右側車架,並一路向上傳送至54號軟管進入冷卻器,最終進到引擎內部。
這次流出的SUZUKI專利申請書最大的目的在於,解釋如何確保車架密封,使其能夠勝任傳輸空氣的角色,這也代表SUZUKI除了捨棄先前Recursion搭載的雙梁式車架,改為鋼管編織形式配上雙搖籃設計,更展現出野心簡化引擎外部元件,如果搭配SUZUKI Recursion發表時的半罩式外型,視覺效果絕對是所有人所期待的重點。
 
                             
                                    






 
                                     
                                     
                                     
                                 
                                 
                                 
                                 
                                 
                                 
                                 
                                 
                                 
                         
                                 
                         
                                