當SUZUKI 才傳出明年將替Hayabusa 掛上渦輪增壓系統前,身為近年首款增壓跑車的製造商KAWASAKI,去年就被猜測會推出一款機械增壓版本的旅跑車,平台自然是來自現行車款H2,現在有謠傳車輛已經準備好,將在今年秋天問世。
去年年中,日本機車媒體YOUNG MACHINE 獲得線報指出KAWASAKI 正在開發旅行版本的機械增壓車,名稱暫定為H2 GT。最近同一間媒體又聲明,這台車的車頭設計和H2/R 有相當大的差異,頭燈數目增加到三個,對比ZZ-R1400的六眼,可謂三眼魔神,這個造型推論是有點根據的。
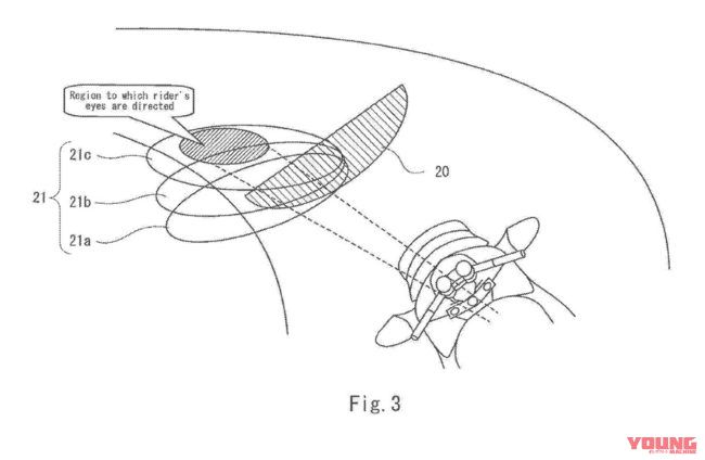
去年川崎曾在美國申請了一項主動式轉向頭燈的專利,文件中有張示意圖,說明這個主動轉向頭燈會射出三個光影,投射在車輛轉彎方向的地面上,投射位置與騎士的視線重疊,以達到安全效果。
這個主動安全配備早已出現在YAMAHA FJR1300 身上,也是該品牌旗下唯一搭載的車款,因這個裝置須搭配陀螺儀才能正常作動,成本較高,所以只有旗艦等級車型才有辦法搭載。仿賽車因用途特殊,車廠並不會考慮安裝在其身上。外型方面,這款H2 GT增壓旅跑將會有完整的整流罩和大風鏡,與H2/R 獨缺下罩的外型不同。
比較有趣的是,雖然川崎內部似乎將此車定位為"豪華旅跑",但機械增壓這種設定放在旅行車上容易讓人感到不太合適,因為長途旅遊的騎乘方式(低轉高速巡航)和仿賽車完全不同,當然,車廠自己也明白這點,所以對增壓系統做了一點修改。
在這裡先提一下,先前在第15屆東京車展上,川崎曾公開展示一個機械增壓引擎的進氣控制系統,掌管氣流進入與否的是一個八葉片風扇。透過這個裝置,行車電腦可以決定是否要開啟或關閉增壓系統。
川崎擬了一套運作機制,以讓增壓系統只在必要時開啟,兼顧油耗,這個機制的設計圖如下。最上方是開始,下方兩個菱形依序表示引擎出力和進氣洩壓閥門是否開啟,若引擎輸出不會過多,接著電腦會偵測進氣洩壓閥有無開啟,若無則不會啟動,讓引擎維持原有無增壓狀態,反之則會抑制進氣流量,以達到油耗經濟性。
至於這些有關增壓跑旅的傳聞可信度有多高,我們一貫的忠實信仰是「時間會告訴你一切」,建議你也加入我們的行列。
資料來源.youngmachine by.Jeffrey



