隨著越來越多品牌投入自動與半自動變速系統戰局,Ducati 這家義大利科技大廠也終於露出鋒芒。根據外媒報導與專利揭露,Ducati 正在研發一套能夠「自動操作離合器、保留腳踏換檔」的自動換檔系統,目標不只是為了街車便利性,更可能為賽道競技開啟新局。
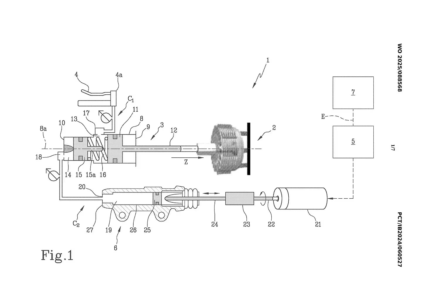
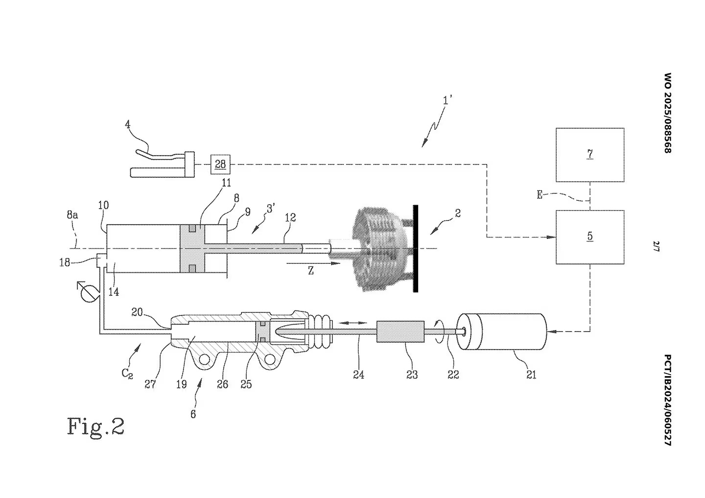
這套系統與 Honda 近期推出的 E-Clutch 概念十分接近,但在技術架構上走出自己的路。兩者同樣結合了電控模組與啟動器,讓離合器能在全自動與手動模式間切換,並具備「完全手動覆蓋」的保留機制。不過 Ducati 最大的不同在於——它是 液壓控制,而非 Honda 的鋼索傳動,操控質感與反應邏輯會截然不同。
Ducati 的專利還描繪了兩種實作版本。第一種是在傳統液壓拉桿基礎上加裝雙活塞總泵,讓機械與電動控制可以並存;第二種則是將離合拉桿改為電子訊號來源,由電腦控制馬達驅動液壓系統,等於是「真.線傳離合」。
除了更方便的起步、停止、防熄火功能外,這套系統還會支援「彈射起步」模式。此外專利中更提到這套系統能完美的自動補油、判斷車速與負載、調整離合器接合時機,進一步提升賽道加速效率與升降檔滑順度。
更值得玩味的是,Ducati 在專利文件中明確提及這項技術的設計初衷是為「高性能與賽事用途」,而透過將該系統納入量產車型,即可合法繞過 WSBK、MotoAmerica 等賽事對自動離合的限制。根據 FIM 條文,只要離合器自動化系統是「市售版本中配備者」,便可視為合規。
換句話說,這可能不只是下一代 Panigale、Streetfighter 或 Multistrada 的配備,而是 Ducati 準備「從產品下手,讓比賽規則跟著改變」的科技策略。




