提到摩托車的空氣力學設計,你是否立刻想到那些巨大的小翅膀?雖然這些裝置在增加前輪下壓力方面確實有效,但它們的外觀總讓人覺得多了一點尷尬。現在,BMW 決定改寫這個局面,用一種全新的方式實現空氣力學效率,而不犧牲車輛的美感。
無形的空力設計:用風取代金屬
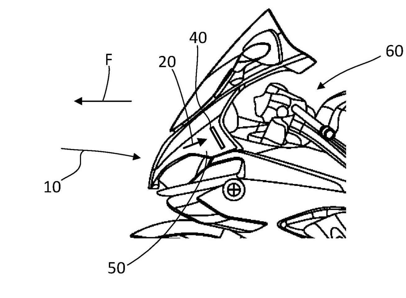
BMW 最新的專利揭示了一項突破性的設計,試圖以空氣本身取代傳統的車體構造,達到相同的效果。核心理念是利用流體力學,讓氣流在車體邊緣自然分離,從而減少阻力。這聽起來像是魔術,但其實背後藏著精密的科學。
傳統上,要實現氣流分離,設計師會添加所謂的“撕裂邊”(tear-off edges),這是一種微小的擴展結構,類似於賽車尾翼上的 Gurney Flap 小鴨尾。然而,這類結構在摩托車上,不僅會增加車體寬度,還會影響整體美感,BMW 的工程師們顯然不滿足於此,他們找到了一種無需外部突起的解決方案。

氣流的內部之旅
專利顯示,這項技術的關鍵在於巧妙地引導高壓氣流。具體而言,他們利用摩托車車頭進氣口收集空氣,然後通過車體內部的管道將其導出,並在車把前方的狹窄縫隙中釋放出來。這些氣流以接近 90 度的角度離開車體,模仿了 Gurney Flap 的效果,但不需要任何可見的外部結構。
這樣的設計不僅能有效減少阻力,增加前輪下壓力,還能讓騎士的體驗更加流暢,透過巧妙的內部氣流管理,BMW 成功在空氣力學與美學之間找到了平衡。
功能與美感的完美結合
這項專利背後,隱藏著 BMW 對設計與技術的執著追求。過去,為了提升性能,車輛常常不得不在外觀上做出妥協,但 BMW 的這一突破讓我們看到了不一樣的可能性。這不僅是一個技術創新,更是一場關於設計哲學的革命。
未來,我們或許會看到更多採用這類技術的摩托車,不僅速度更快,外觀也更加優雅。畢竟,誰說性能與美學不能共存?BMW 的新專利正告訴我們,騎士們可以在風中自由馳騁,無需揹負笨重的小翅膀;BMW 再次證明了他們在創新上的領先地位,這項無翼空力套件不僅是科技的進步,更是對設計極限的挑戰。在這場關於速度與美感的較量中,BMW 再次拔得頭籌。





