汽車巨頭 Stellantis 最近申請了一項令人驚豔的專利:結合方向盤、油門和剎車功能的“操縱桿”設計。這個概念徹底顛覆了傳統的駕駛方式,讓人不禁思考:「我們真的需要方向盤、油門和剎車嗎?」
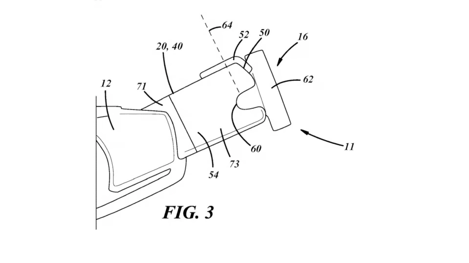
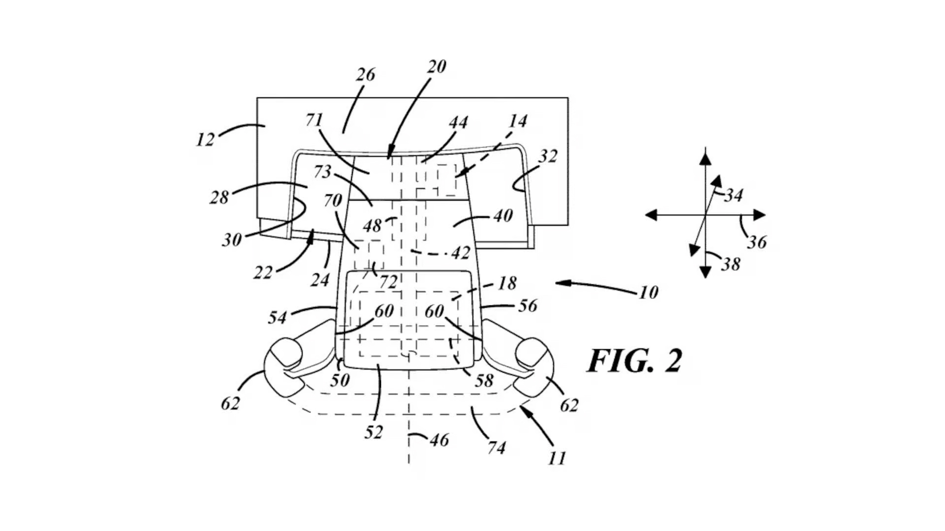
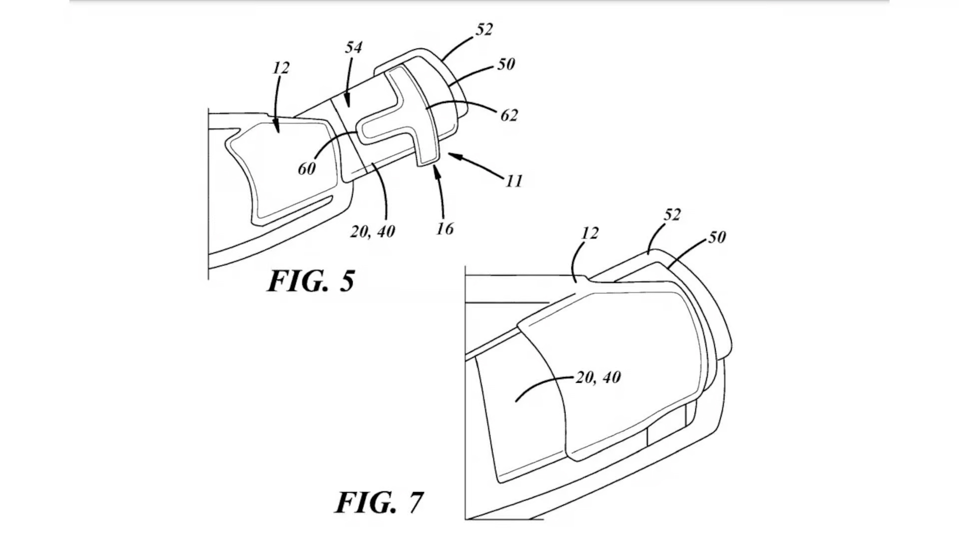
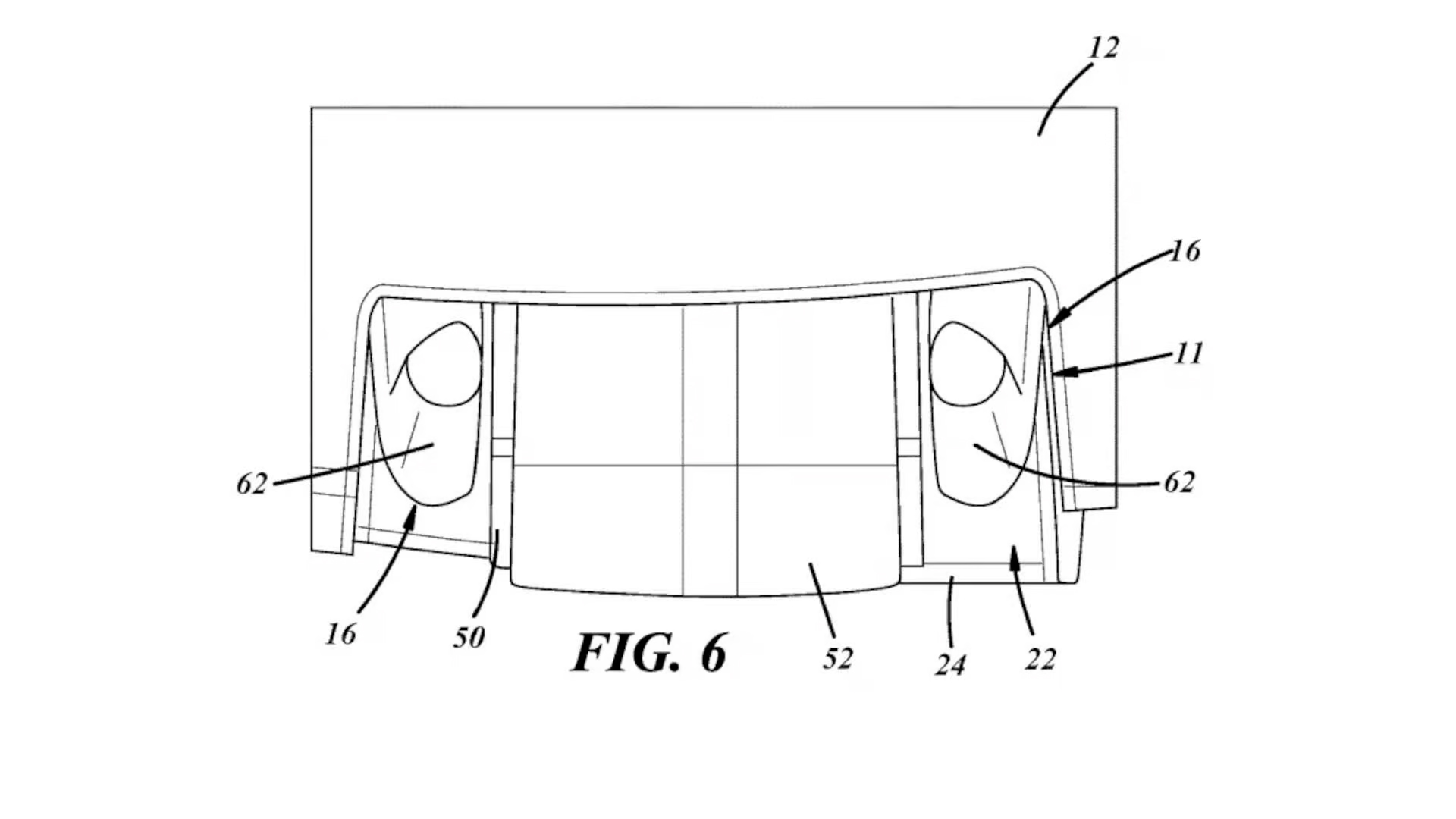
Stellantis 的新專利設計提出了一個全新的駕駛概念:向前推動操縱桿加速,向後拉動減速,完全不需要傳統的腳踏式油門和剎車踏板。這個設計乍看之下似乎有些異想天開,但對於某些特殊族群來說,卻可能帶來革命性的改變。
然而,這樣的設計也面臨許多挑戰。首先,慣性的問題不容忽視。想像一下,如果在時速 11 公里的小坡道上,不小心將操縱桿向後拉得太猛,車輛可能會突然減速,甚至造成危險。其次,對於後座乘客來說,如果孩子在後座踢座椅,也可能影響駕駛員的操控。
儘管存在挑戰,但這種設計也具備潛在優勢。例如,對於下肢障礙的駕駛者來說,操縱桿設計能大幅提升駕駛便利性。此外,在未來自動駕駛普及的時代,可折疊的操縱桿設計也能為駕駛艙提供更多空間。
Stellantis 近日宣布,所有下一代車型將配備 STLA AutoDrive、STLA Brain 和 STLA (Smart) Cockpit 等自動駕駛技術。這項操縱桿專利的申請,或許預示著未來汽車駕駛方式的重大改變。
Stellantis 的操縱桿專利雖然充滿創意,但實際應用仍有許多挑戰。然而,這項專利的申請,代表著汽車產業對未來駕駛體驗的持續探索。究竟這項技術是否會成為未來的主流,讓我們拭目以待!




