對於頂尖職業賽事的車款而言,除了車手本身的駕駛技術之外,車上的任何一個配件都會是影響最終成績的關鍵因素之一。為了追求更快的直線加速,大多數的頂尖賽事用車款都會在車輛上裝上定風翼來降低風阻但同時要也要追求車款輕量化。隨著各大車廠不斷的在研發車款最新技術,BMW最近向專利局提出了定風翼專利申請,而且是他是機車專用!
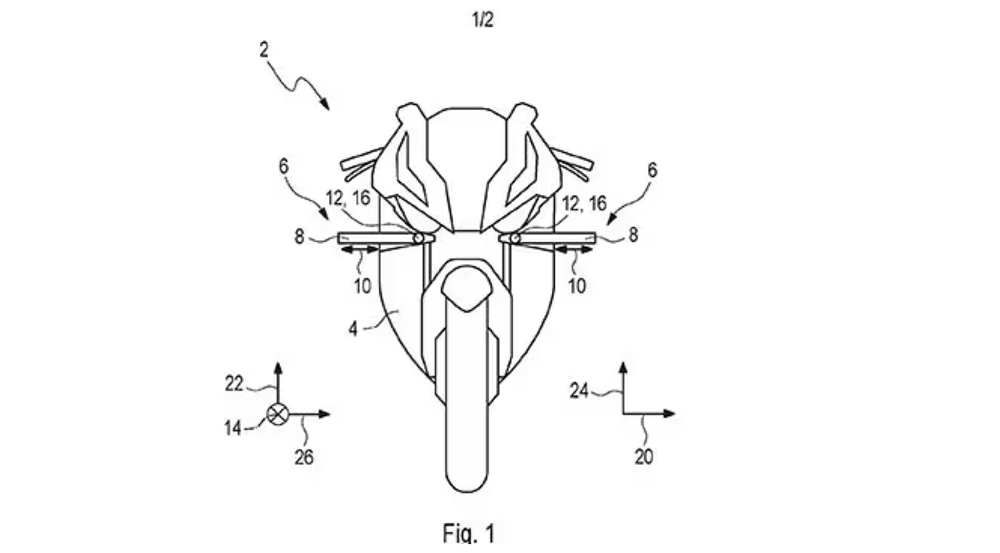
沒錯,這組定風翼就是可以全自動調整,他的理念是要透過車上的電腦去偵測車輛傾斜程度並透過計算去自動調整定風翼的角度來達到更好的空氣力學效果,畢竟每次的過彎傾斜角度可能都會有所不同,藉此讓車輛在激烈操駕當中能夠盡可能的降低風阻。
不過目前MotoGP賽事規範中有明文規定自動化定風翼是不被允許在賽事上使用(雖然BMW也沒有參與),但WSBK賽事當中卻是沒有特別規定,只要車廠想使用都可以被接受,或許BMW就是為了要在WSBK賽事當中使用才特地設計這組自動化定風翼也說不定。
可惜的是,這次BMW向專利局提交的申請資料並沒有太多詳細的技術規格,一切都還只是很初步的設計而已。不過資料當中卻是可以看到BMW S1000 RR的樣貌,似乎就是為了這款車型設計而成。這組全自動定風翼研發成效不錯的話,或許幾年後會在WSBK賽事當中看到他的身影,也或許他能夠帶領整個賽事的潮流也說不定,不過車迷們想在下一代的市售版本車型上看到這項配備的機率實在不高,或許要再等個幾年才有機會了。
 
                             
                                    




 
                                     
                                     
                                     
                                 
                                 
                                 
                                 
                                 
                                 
                                 
                                 
                                 
                         
                                 
                        