說起三輪機車,我想許多人聯想到的,大概是Yamaha推出的TRICITY車系,或是Piaggio旗下的產品,雖然三輪機車因為一些機械結構上的劣勢,至今仍無法成為摩托車領域的主流,但也不影響日本機車大廠Suzuki加緊對三輪車的研發。
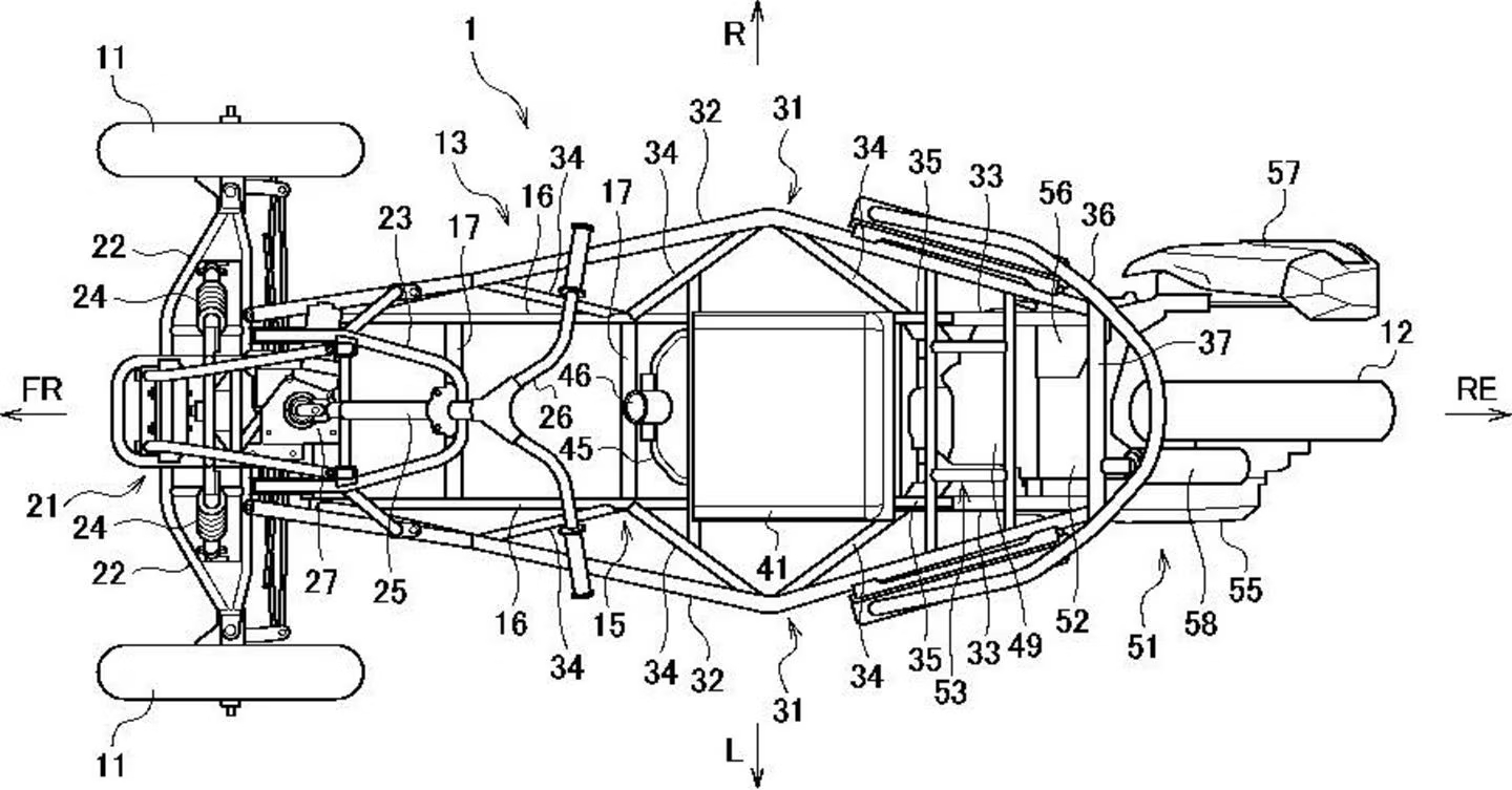
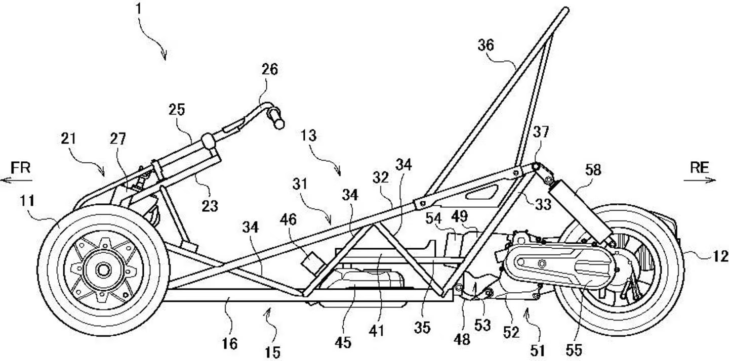
不過有趣的是,這次Suzuki所發布的專利內容,似乎要和TRICITY的形式不太一樣,有別於傳統速克達較高的重心,Suzuki的設計看似擁有和卡丁車較為相似的設定,或是說類似於Can-Am Ryker車系的設計,包括懸吊與方向基座的設定也都更類似於卡丁車,和一般卡丁車唯一差別就是仍然使用摩托車的車把,而非方向盤設計。
講到這裡,你可能以為這是一台和Can-Am Ryker車系設定相當的車型,但可能讓你失望的是,據傳Suzuki將使用125c.c單缸引擎,與大多數速克達相同,引擎與後搖臂採用一體式設計,這也意謂著這台三輪車將有著較為親民的體質和設定,價格應該也會比較友善。當然對於性能迷而言,我想還是比較期待能換裝像是GSX-R1000的四缸引擎,搭配運動化的設定,至少能讓我們對它的性能和操控表現多一些期待啊!


