幾經數十年發展,如今雷達和攝影機已經成為多數汽車的標準配置,包括種類繁多的電控與駕駛輔助系統;近年來,也有越來越多機車領域的製造商開始在車上佈設車載攝影系統,而BMW Motorrad正是其中之一,曝光的專利圖也明示了該廠牌與眾不同的想法。
當然BMW絕非第一個懷抱相同想法的摩托車車廠,在今年Kawasaki於北美市場發布的H2 SX,就已經率先搭載鏡頭配置,主要用於自動遠光燈啟閉功能,當偵測到前方車輛駛來會自動關閉遠燈,讓駕駛免於在駕駛時分心、或忘記操作,對於夜間及長途行駛帶來很大保障。
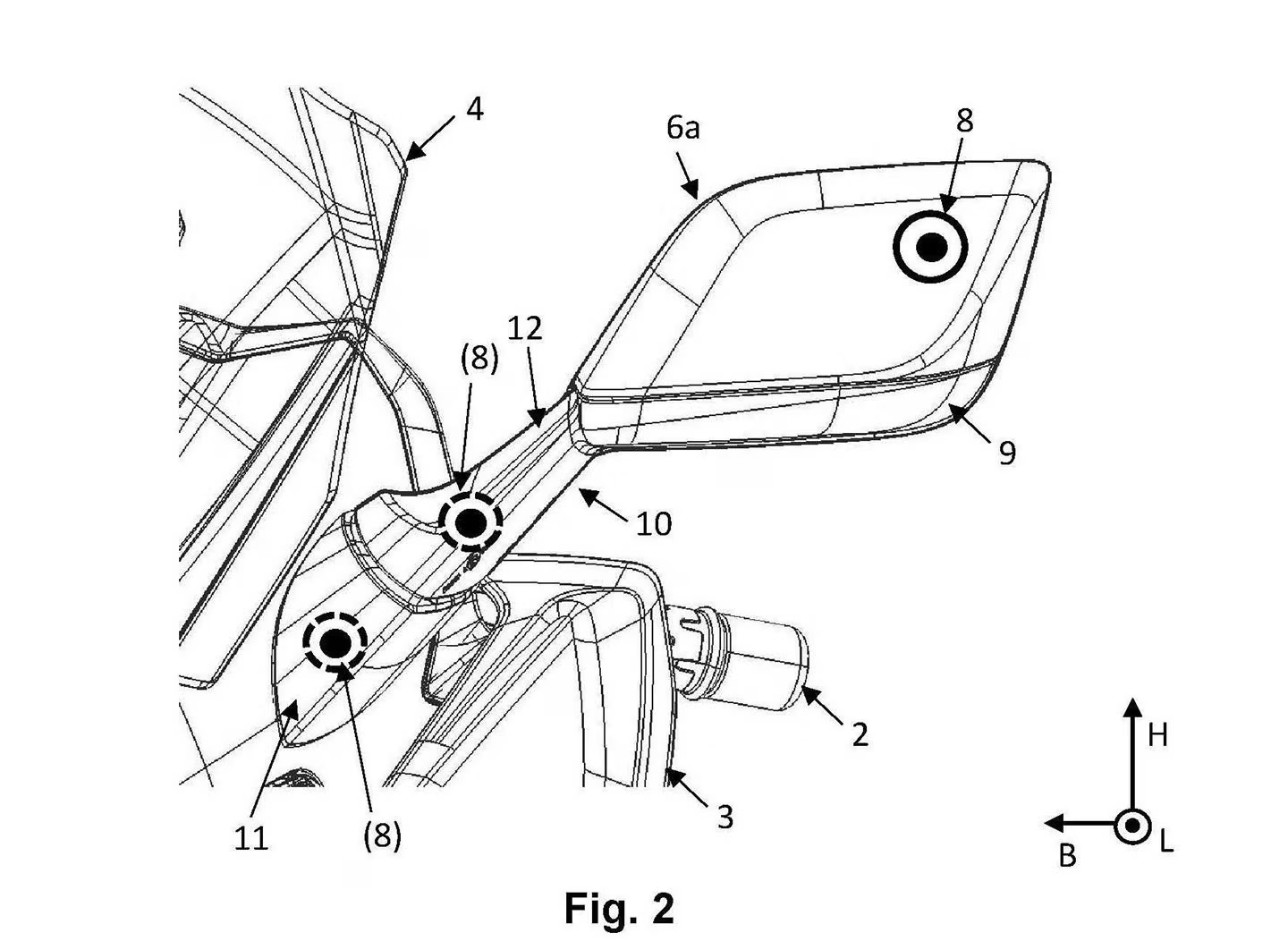
而BMW Motorrad的想法也大致相同,但該攝影機模組,還為提供進階輔助駕駛功能做基底,包括ACC跟車巡航、AEB輔助剎車系統,乃至車道辨識與維持等等,雖然前兩樣功能主要運作仰賴的是雷達系統,但攝影鏡頭的加入,有助於提升作動時的精準度與安全性,可以說是一兼二顧。回到專利圖,這次寶馬選擇將模組隱藏在後照鏡或支架中,無須在車殼上多加上其他組件,方便未來普及化,也讓攝錄範圍角度最大化,唯一要擔心的可能是在摔倒時,可能較容易損壞設備,或是造成危險。
此外,雷達與攝影機的生產成本也是一大問題,以至於多數歐日車廠,目前仍只願意在大型巡航及多功能車上搭載,反倒是中國車廠在攝影機普及化中更為前衛;總而言之,雷達與攝影機在摩托車上成為標準配備,應該還需要時間的沉澱。



