KAWASAKI在2021年底發表全新搭載ARAS(Advanced Rider Assistance System)先進騎士駕駛輔助系統的NINJA H2 SX/SE車型,讓這台增壓跑旅成為品牌旗下首款擁有ACC主動車距控制巡航系統的車款,KAWASAKI在安全科技方面也沒停下腳步,近日又曝光全新的前置鏡頭專利,要讓這台增壓忍者具備更安全的新科技。
其實類似的安全科技配備在不少四輪汽車上已經漸漸成為標配,特別是透過雷達和前置鏡頭的組合,能替車輛帶來更多的主動安全,像是偵測路口紅綠燈、對向車輛等等的功能,這次KAWASAKI似乎也準備將前置鏡頭納入NINJA H2 SX/SE的安全配備名單之中。
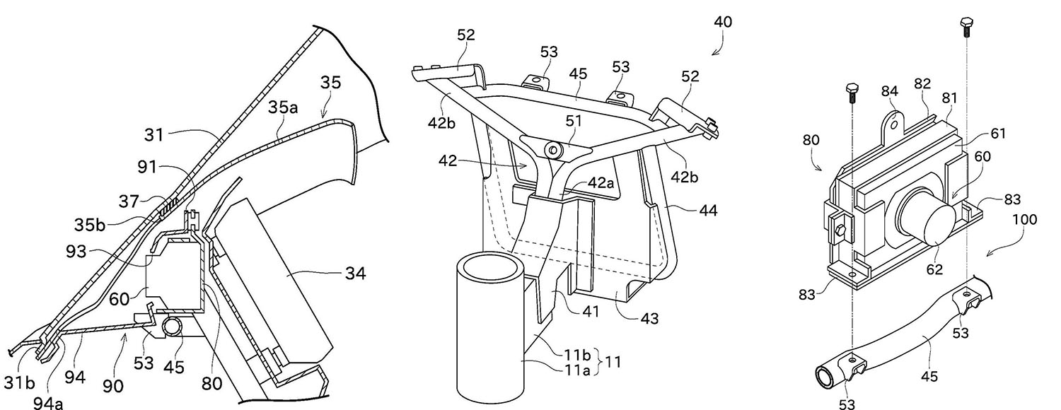
從專利圖上能看到,KAWASAKI準備在三角台前方加裝前置鏡頭模組,透過前置鏡頭能讓車輛實現自適應車燈切換/對向來車遮蔽的功能,增強夜間騎乘時的安全性;另外,前鏡頭也能與雷達合作,強化對於前車動態的掌握能力,例如透過後煞車燈來提前預警前方車輛減速。
根據外媒推測,KAWASAKI這套前鏡頭應該會直接採用BOSCH的模組使用,至於未來前置鏡頭能否達成目前汽車LEVEL 2自動駕駛的車道維持功能,或許還有待觀察;外媒也提及,2022年式的NINJA H2 SX/SE似乎已經預留前鏡頭的安裝空間,相信這個具備更先進偵測功能的增壓忍者,應該很快就會出現在市場上了。
 
                             
                                    


 
                                     
                                     
                                     
                                 
                                 
                                 
                                 
                                 
                                 
                                 
                                 
                                 
                         
                        