要如何讓機車變得更安全一直是許多機車製造商和周邊廠商研發的重點,過去我們也看過像是BOSCH利用噴射裝置來避免摔車,又或者是近年開始出現在機車上的主動安全的電控配備等,近日來自義大利的知名設計公司Italdesign發表一項機車用的安全座椅專利,希望透過電腦運算和安全帶座椅的結合,讓騎士遭遇事故時能降低傷害。
有關機車安全裝置的專利和產品隨著時代不斷在進步,近年在MotoGP賽場上我們也能看到像是氣囊防摔衣等,甚至還有新創公司設計出包覆式的氣囊坐墊等專利。
來自義大利知名的設計公司Italdesign過去在設計師Giorgetto Giugiaro的帶領下曾經設計出許多膾炙人口的汽機車作品,像是BMW M1、Alfa Romeo 159,甚至還有DUCATI 860 GT、SUZUKI RE5轉子引擎機車等經典作品。
.jpg)
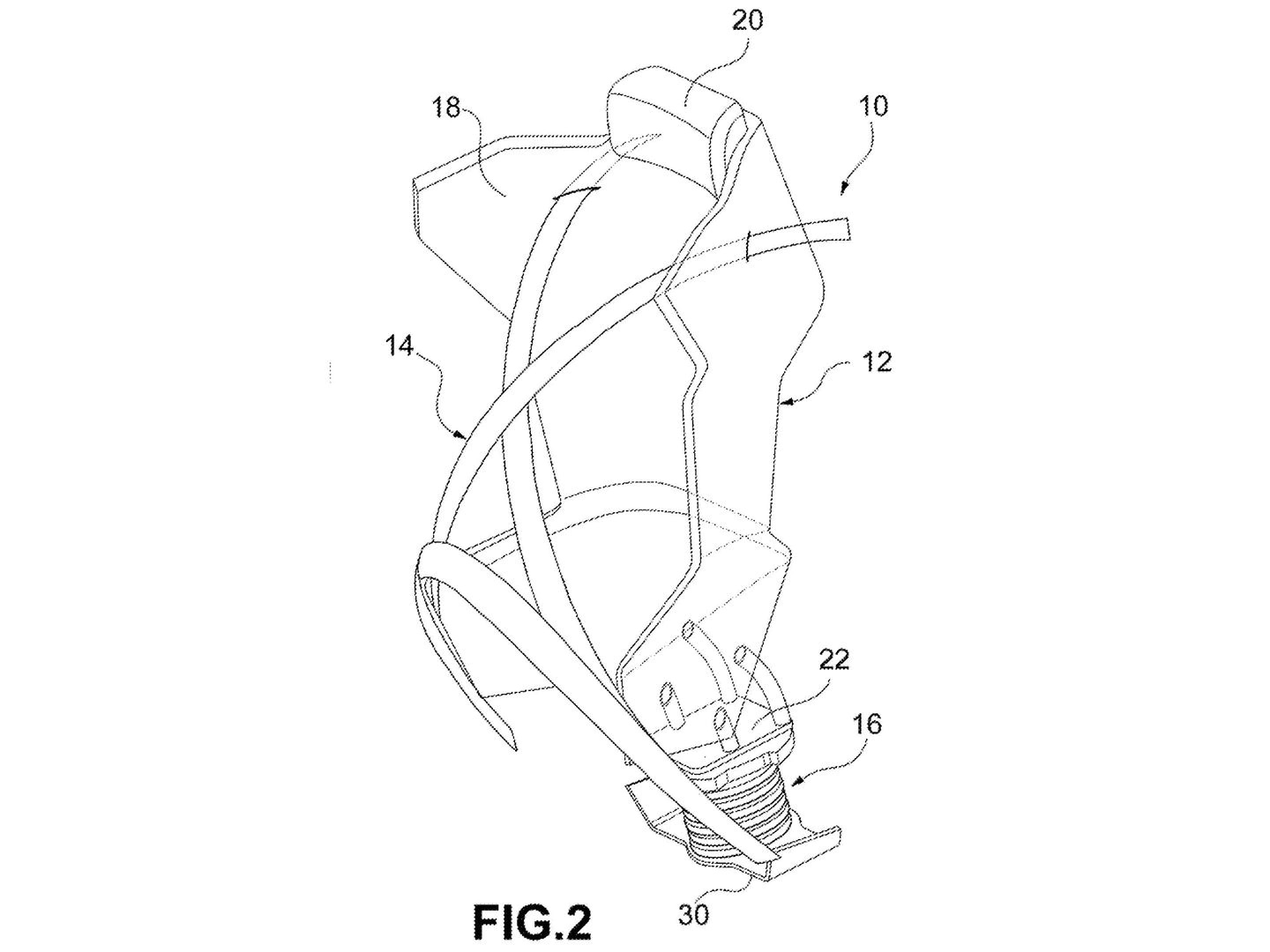
這次Italdesign則是帶來一個獨特的安全帶座椅設計,這個安全帶座椅透過一個背靠和安全帶的組合來固定騎士,安全帶的延展性讓騎士在車上依舊能做重心轉移等動作;系統的核心是由感測器和運算電腦組成,能偵測騎士發生的事故類型來調整不同的保護措施。
像是正面碰撞時,安全帶和座椅可以收緊避免騎士因為衝擊力向前飛出Highside造成額外傷害;而側滑的Lowside時,則可以透過電腦偵測運算,在最安全的時機透過坐墊下方的彈射裝置把騎士彈出達成人車分離,進而避免滑動時被車輛或周邊其他物體碰撞造成二次傷害。
雖說目前看起來Italdesign的這項專利安全座椅設計能否真的能帶來更好安全性似乎還有待考驗,特別是彈射功能,我們能從007等間諜電影中知曉這東西裝在車輛上根本一點都不安全,但不論如何,這樣的設計確實讓人眼睛為之一亮,也讓人期待Italdesign未來將這項設計付諸實現並進行測試!




