YAMAHA在去年曝光渦輪專利,近日外媒報導YAMAHA研發部門做出一台以MT-09的CP3引擎開發的渦輪Prototype測試車,測試車身除了引擎之外,其餘的車架、外觀部件都使用現有零件打造,根據YAMAHA研發團隊的數據,這台引擎渦輪測試車,擁有180HP最大馬力和176Nm最大扭力,而且排放遠低於EURO5法規要求。
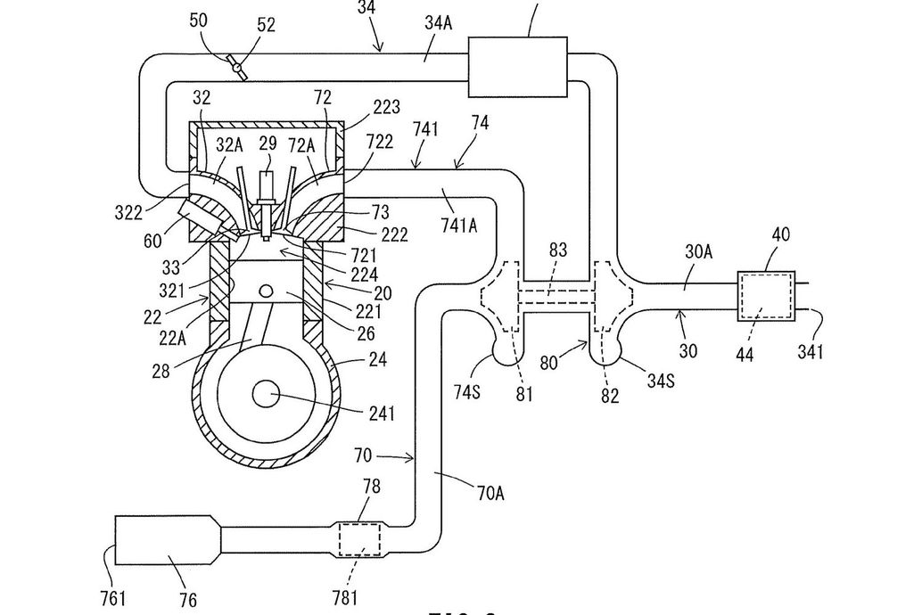
YAMAHA研發團隊使用著三缸引擎排氣量為847c.c.,但缸徑行程和MT-09的CP3引擎也些不同,渦輪測試引擎使用更長的73mm行程和更窄的67.5mm內徑,這樣的缸徑行程設定,讓引擎能有相對的低轉速、高扭力的特性。
根據YAMAHA研發團隊的測試結果,這顆引擎能爆發出180HP @ 8,500 RPM的最大馬力和176Nm的最大扭力,而且從3,000到7,000 RPM能維持高達90%的扭力輸出;同時這顆渦輪引擎更採用缸內直噴設計,這顆渦輪引擎的排放污染比自然進氣減少了30%,遠低於EURO5法規水平的一半以下。
除了超低的排放污染和強大的性能之外,YAMAHA研發團隊也在渦輪引擎上加入可變汽門正時、先進電子控制渦輪等設計,大幅減少過去渦輪為人詬病的渦輪延遲問題,YAMAHA測試時的結果表明,在三檔時僅需耗時1秒就能達到90%的最大扭力輸出,更線性動力輸出讓騎士能更好駕馭這台增壓猛獸。
從目前的市場狀況看來,YAMAHA可能不會急於將這台渦輪增壓三缸引擎投入量產,畢竟MT-09才剛剛推出排氣量加大的EURO5版本,但從這次研發測試的結果看來,超低排放、超強馬力的組合肯定會是YAMAHA未來面臨EURO6法規的殺手鐧;但是從這顆引擎上搭載的滿滿好料、先進科技看來,未來如果真的量產上市,那售價絕對也不便宜!






