一向務實的日系車廠,檯面上對電動車市場看似被動。但檯面下的角力戰早已啟動,過去我們曾報導過SUZUKI油電車專利曝光,近日在國外流出一份來自KAWASAKI 專利書資訊,內容是一套具電能回收的制動系統,這也間接證實KAWASAKI正在為打造電動車做進一步準備。
這樣的系統在所有電動車款都具備,以我們測試過的gogoro與ZERO來說,將回收機制直接設置在馬達端,在放開油門時,馬達進行回收動作,對滑行車輛產生阻力將動能轉換成電能,騎乘上有類似引擎煞車的的感覺。
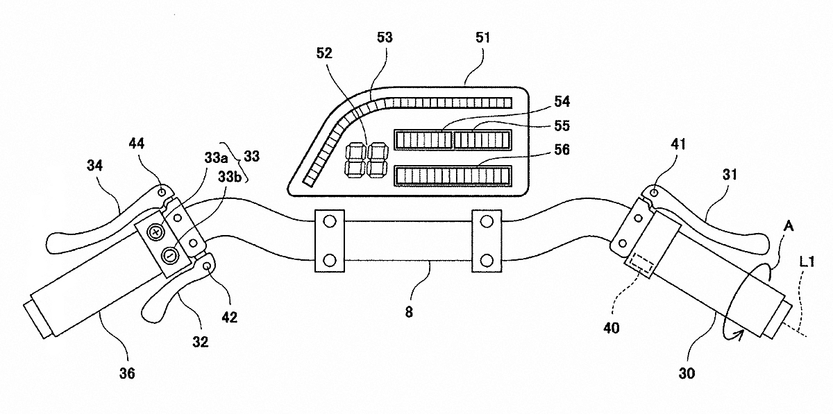
而KAWASAKI此份專利,運作方式與ZERO gogoro大致相同,除其細膩度與可調整性更高外,更可與煞車同步運作。下圖中(33a 33b)可做回收模式選擇,左手把下方的撥片(32)可快速調整回收量(馬達煞車介入的力道),當拉下前煞後(31)回收系統會依照騎士設定給與適當的馬達煞車,而在(54 55)將顯示回收設定產生的煞車比例。
簡單來說他除了做到電能回收外,這就是一組強大的前後煞車連動系統,在引擎上很難達成的換上馬達後是完全不同思維(如gogoro可以倒退一般)。當然這僅於專利申請階段離見到KAWASAKI電動車現身還有很長的路要走,不過相信全球的競爭下一切都在加速進行中。
資料來源.morebikes by.BEN
 
                             
                                    

 
                                     
                                     
                                     
                                 
                                 
                                 
                                 
                                 
                                 
                                 
                                 
                                 
                         
                                 
                        