說到Hybrid技術,許多人應該都會想起HONDA和YAMAHA在去年發表的Hybrid速可達車款,不過就在近期來自德國的BMW也被外國媒體在專利網站上挖出了一個有趣的Hybrid專利圖,難道BMW這間巴伐利亞車廠正在悄悄地發展油電混合的摩托車款嗎?
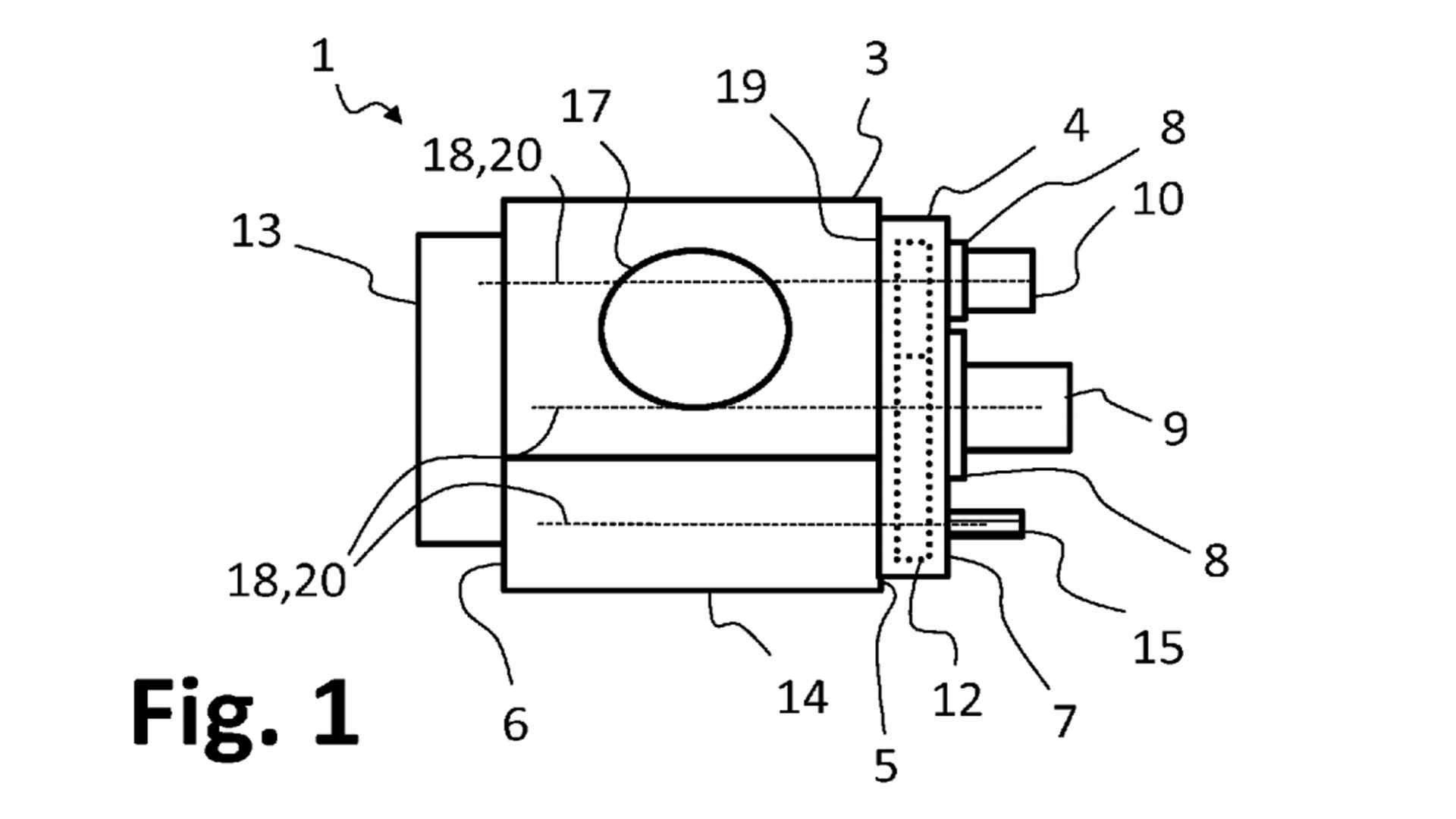
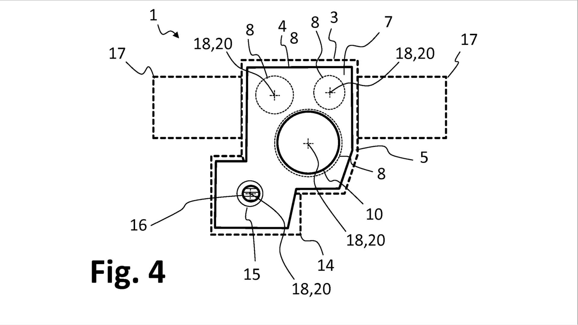
這項專利在今年的2月14日發表,內容是一項“涉及摩托車驅動裝置的發明,在專利圖上可以看到一個位於引擎端面上設置有轉接器,來連接不同的“電動驅動單元”,簡單來說這是一具擁有電動動力輔助的內燃機引擎系統。
過去其實BMW也曾經發表過Hybrid的車款,在2017年的4月1日,BMW Motorrad給全世界的車迷們帶來了一台擁有全輪驅動的Hybrid多功能冒險車「R1200GS xDrive Hybrid」,正當全世界的車迷與媒體都為此消息震撼不已,準備仔細研究這台打破框架的新車時,大家才意識到原來我們都被BMW擺了一道,R1200GS xDrive Hybrid只是一個有趣的愚人節惡搞,誰說德國人沒幽默感的呀!
不過有趣的是,BMW在釋出這台愚人節惡搞車之前,確實有申請了一項前輪電動驅動技術,這項專利早在2015年就提出申請建檔,對此不少外國網友認為這次的Hybrid專利以及先前的前輪電動驅動專利,以及惡搞的R1200GS xDrive Hybrid都只是BMW的障眼法,也許實際的BMW全輪驅動Hybrid車款正在悄悄的研發當中。
按照這樣的劇本來看,BMW或許在近年有機會推出一台真正的「R1200GS xDrive Hybrid」來震撼全球市場和冒險車界!又或者BMW只是在替今年的愚人節惡搞活動做暖身,不論怎樣,看到如此有趣的專利確實都讓人感到興奮,就讓時間告訴我們答案吧!
 
                             
                                    





 
                                     
                                     
                                     
                                 
                                 
                                 
                                 
                                 
                                 
                                 
                                 
                                 
                         
                                 
                         
                                 
                        