現在的頂級仿賽,如果車頭沒有長出一對翅膀(定風翼),好像就不好意思說自己是 Superbike。但對於空氣力學玩得出神入化的 Aprilia 來說,光是車頭有翅膀還不夠,他們最新的專利顯示,這家義大利車廠正打算把腦筋動到車尾,甚至是騎士的「腿」上!
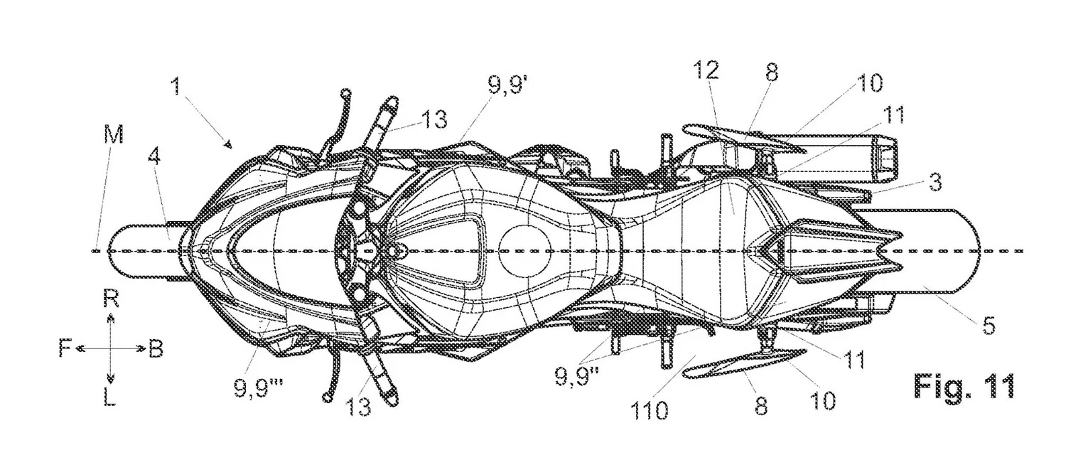
根據 Piaggio 集團最新曝光的專利圖,這套系統安裝在車尾兩側(大約是後座腳踏的位置),外型像是兩片垂直的整流板(編號8)。這項設計其實在近幾年的 MotoGP 賽場上已經見過雛形,但這次顯然是為了市售車(或市售賽車)而來。
這套「腿部整流罩」的運作邏輯非常聰明,它不需要昂貴的主動式電子馬達,而是利用騎士的騎乘姿勢來改變氣流:
直線衝刺時: 這兩片整流板會與騎士夾緊油箱的小腿連成一線,將氣流順暢地導向車尾,減少亂流與阻力,就像那些專跑極速的 Streamliner 改裝車一樣,讓整車線條更流線。
彎道側掛時: 當騎士將身體掛出車外,內側原本被腿遮住的整流板就會暴露在迎風面。此時它就變成了一個小型的機翼,能產生下壓力將後輪壓在路面上,增加過彎時的後輪抓地力與穩定性;而外側的板子則繼續躲在騎士腿後,避免產生不必要的阻力。
考慮到 Aprilia 目前並沒有以廠隊身分參加 WSBK,不需要為了賽事規範而硬將此配備下放到市售量產車上。外媒推測,這套帥氣又具備實質效用的「腿部翅膀」,極有可能會優先出現在 Aprilia 最愛推出的 XTrenta 或 X30 這類頂級限量的賽道專用車款上。對於追求極致單圈的賽道狂熱者來說,這絕對是下一個值得關注的改裝趨勢。




