當懸吊大廠 Showa 和煞車系統專家 Nissin 站在同一陣線,會帶來什麼驚喜?隸屬於 Astemo(前身為 Hitachi Astemo) 的這兩個品牌,近期在最新專利中展示了一項 突破性煞車冷卻設計,將空氣導流至煞車卡鉗,以大幅提升散熱效率,進一步提升制動效能。
整合式設計,來自 EICMA 的概念車突破傳統
早在 2023 年的 EICMA 車展,Astemo 就已經發表了一款 「Harmonized Function Design」 概念產品,這項設計將 Showa 前叉 和 Nissin 煞車卡鉗 鏈接在一起,整合為一塊 鋁合金單體結構。根據官方數據,這種設計比傳統配置輕了約 200 克,並且透過前叉本體作為 散熱器,提高 5% 的散熱效率。
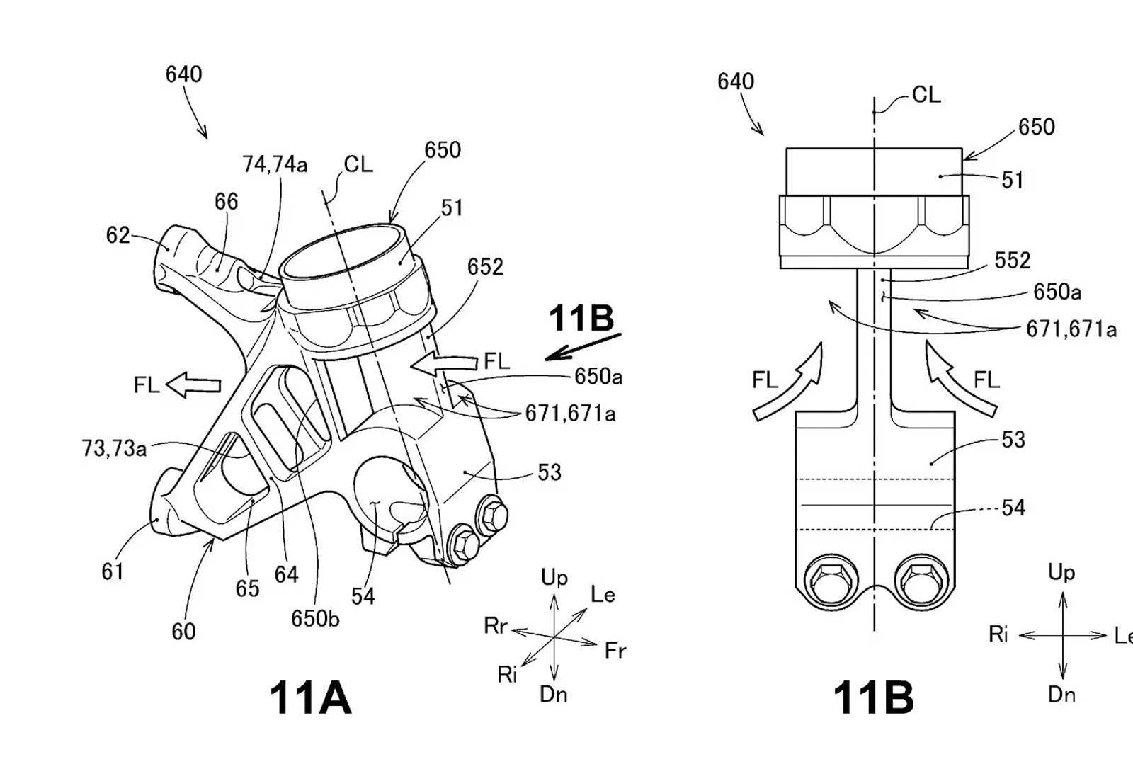
但真正讓人驚艷的是,新專利揭露了更進一步的改良設計:透氣式前叉底座。這項技術在前叉下方開設 氣流通道,直接導引冷空氣至 煞車卡鉗,大幅提升冷卻效果,讓高強度煞車狀態下的溫度管理更加穩定。
空氣力學新突破,創新前叉導流降溫
在現代摩托車技術發展中,空氣力學已經成為提升煞車性能的關鍵領域。例如 CFMoto 675SR-R 這類運動型街車,已經在原廠配置中加入 煞車冷卻導流管,可見導入 氣流散熱技術 已經是未來趨勢。Astemo 透過專利展示的新型前叉設計,則是直接在 前叉底部開孔,讓空氣能順暢流向卡鉗,而不會影響車輛的空氣阻力。
強化煞車冷卻,不影響保養便利性
雖然 EICMA 概念車上的一體式設計帶來了額外的剛性與輕量化優勢,但也可能增加保養難度。例如,在傳統設計中,維修人員可以輕鬆拆卸卡鉗更換來令片,但如果卡鉗與前叉底座直接一體成型,那麼每次保養都可能需要拆下整組輪框與剎車碟盤。
為了兼顧散熱效能與保養便利性,Astemo 的最新專利展示了一個折衷方案,採用獨立導流道,但仍然允許標準 徑向固定式卡鉗(Radial Mount Caliper) 透過螺栓固定。如此一來,騎士與車隊可以享受更好的制動散熱效果,而不必擔心維修困難。
多種變體設計,適應不同需求
Astemo 的專利文件展示了多種可能的設計方案。其中一種設計採用了 側面進氣導流管,使冷空氣能夠從側邊直接導入煞車卡鉗區域,提高散熱效率。
此外,另一種設計則採用了 散熱鰭片結構,透過擴大散熱表面積來加速熱量傳導,進一步提升煞車系統的穩定性。而另一種版本則運用了 單向氣流通道,確保空氣能夠有效流動,同時不影響車輛操控性,為賽道及高性能騎乘環境提供最佳解決方案。
Showa/Nissin 的下一步?這項技術何時登場?
目前 Astemo 尚未公布這項 透氣前叉技術 的正式量產計畫,但從專利發表的時間點來看,這項技術很可能會在 未來幾年的高性能運動車款或賽事車輛 上率先應用。
隨著賽事級技術逐步下放至市售車款,未來的運動型摩托車或許將標配這項冷卻技術,讓騎士在激烈操駕時獲得更穩定的制動性能。Showa 和 Nissin 的這項突破性技術,將會如何影響未來摩托車制動系統的發展?我們拭目以待!
 
                             
                                    




 
                                     
                                     
                                     
                                 
                                 
                                 
                                 
                                 
                                 
                                 
                                 
                                 
                         
                                 
                         
                                 
                        