擁有「陸地上航空母艦」之稱的Honda GoldWing一直都是不少追求舒適騎乘和後座乘客舒適度的車迷們嚮往的車款之一,伴隨著現代車輛科技演進越來越快,雷達配備也開始下放到不少巡航車款當中,作為代表車款之一的GoldWing卻始終落於人後,到現在都還沒有看到車上有這些配備的蹤影,就連市場上主流的Bosch雷達系統也沒有裝上。別擔心,不是Honda不給,而是他們決定要和別人走向不同的設計!
Bosch的雷達系統最近幾年普遍出現在BMW、Ducati、KTM,甚至是日本市場競爭對手Kawasaki和Yamaha的車款中,而且這套系統已經可以和車輛的半自動變速器同步來提供具有停、走功能的循跡控制系統,外界也相信他會在未來幾年會成為巡航車款必備的配備之一。Honda決定和別人走不同路去研發自己的雷達系統,主要原因之一就是想要透過自行研發來深度整合自家的科技配備,達到其他競爭品牌到不了的程度,但研發成本一定會來的高許多。
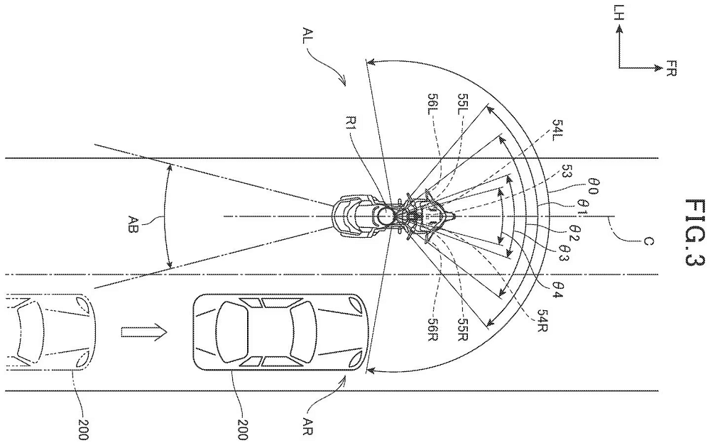
不過Honda要研發自己的雷達系統消息也不是今天才出現,早在2020年他們就著手在進行研發但直到最近流出的專利圖才讓外界發現他的進展相當快速,目前甚至已經在追尋讓他可以整合雷達、攝影機和光學雷達來打造一個360度環景。要整合這些系統也相當不容易而且還要確保在其中一個盲區的障礙物都要被其他配備偵測到,但鏡頭的優勢就在於燈號的捕捉、雷達系統可以感測距離但沒辦法產生車輛週遭影像、光學雷達雖然可以補足這功能卻沒有這麼遠的感測範圍,要想整合三個獨立的裝置那車上電腦的性能也要很強大才行。
除了要整合三個獨立裝置之外,Honda還打算讓這套系統也可以應用盲點偵測系統,目前官方的專利圖中可以看到他們預計會在儀表、後照鏡上顯示,而且呈現的方式還不一樣,駕駛騎乘的速度越快提醒就會變得更加明顯。如果這套系統研發的順利,或許緊急自動煞停、車道輔助這些配備也有機會上身,相信Honda GoldWing將會是最有希望首次搭載這套系統的車型,也希望這套系統可以早日完成讓大家看見他們和Bosch的差異。
 
                             
                                    




 
                                     
                                     
                                     
                                 
                                 
                                 
                                 
                                 
                                 
                                 
                                 
                                 
                         
                                