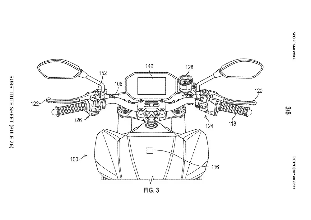
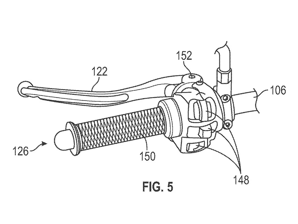
單論配備,「離合器」絕對是電動機車和燃油機車之間最大的差異之一,畢竟離合器是燃油機車的引擎和後輪連結的關鍵配備,單純靠電力行駛的車款就不需要這項配備的存在。少了離合器也讓部分車迷們失去了騎乘燃油機車的樂趣,進而降低了這些消費者購入電動機車的意願。不過有趣的是,最近Zero申請了一項電動機車的「仿離合器」專利,想將這項樂趣帶到電動機車上!
如果只是將一根無用的拉桿裝到左把手上,這似乎不是一件很難的事情。但Zero的這項專利卻是打算完整的還原離合器影響車輛行駛的所有情境,比方說下坡時低檔位時引擎會產生的檔煞、起步時離合器放太快的熄火、彈射起步等都將完整重現在他們家的車款上,無疑是想將傳統油車的這些特色搬到電動機車上讓過去這些過去比較難接觸到的客群更有意願購買Zero的車款。
假設仿離合器拉桿裝到車上了,那排檔桿的部分就又是一個未知數了,畢竟車輛還原了離合器拉桿卻又不能透過排檔桿自行升降檔也是有點奇怪。Zero這次的專利似乎還是留給大家一點想像的空間,目前只有在專利塗上看到SR/F裝上這組仿離合器拉桿,並沒有看到排檔桿或檔位模擬的配備出現,但比較確定的是研發順利的話Zero SR/F將有高機率會是旗下首款搭載這組配件的車款。



