Honda X-ADV自2015年推出概念車開始,到2017年正式上市至今,可以說是廣受一派車友的歡迎,融合了傳統大型速克達的舒適與方便性,與ADV車款外型與部分特色,成為了中大排量旅行車型的首選之一;如今通過部分專利圖的流出,也證實了Honda X-ADV將迎來大改款的消息。
目前在售的X-ADV 為2021年式的改款,除了將外形修飾得更為圓潤,也加上了TFT液晶儀表等實用配置,動力總成仍然是承襲自NC750系列的745c.c雙缸引擎,與本田祖傳獨家DCT系統的設定,比起傳統CVT變速機構的大羊,有更優異的再加速能力與樂趣,也與外型的冒險基因顯得更加匹配,塑造X-ADV 750獨一無二且難以取代的個性。
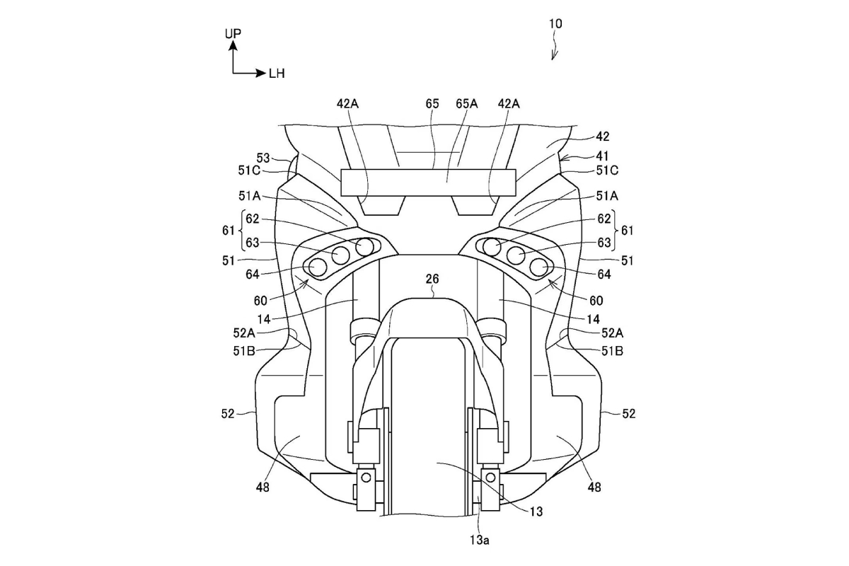
而從近期流出的專利圖,我們可以看到Honda 針對X-ADV做出了許多微調,包括原來集成在車頭上方的頭燈組,移到了車身前端的下側(多數大羊車款方向燈位置),且變成三顆燈珠縱向排列的形式,視覺感受上似乎顯得更為震撼;另一個明顯改變則在車身尾部,排氣管的位置從側置移到上方(類似越野車的形式),預估可以提供更好的離地間隙與置物空間,甚至讓我們能對其越野能力的提升產生遐想,至於是否會因此犧牲後座舒適性與獲得性能提升,目前究部不得而知。
目前可以確定下一代改款應該會加入更多科技元素,以及相應的電控設置,外型也應該能獲得一些改進,預期會加入更多具侵略感的肌肉線條的車殼與燈具,排氣管也會成為未來X-ADV更具冒險基因的關鍵,至於詳細規格與外型,值得我們好好期待一下了。


