SYM近年在市場上推出眾多的熱銷車款,旗下的DRG、MMBCU、JET SL、CLBCU等車款都深受消費者喜愛,但SYM唯獨在電動車領域尚未有車款推出,不過這樣的局面或許很快就會改觀,因為SYM旗下的電動車專利最近在專利公報網站上曝光,從專利圖上能看到,SYM將與中油合作,採用中油的電池與換電系統。
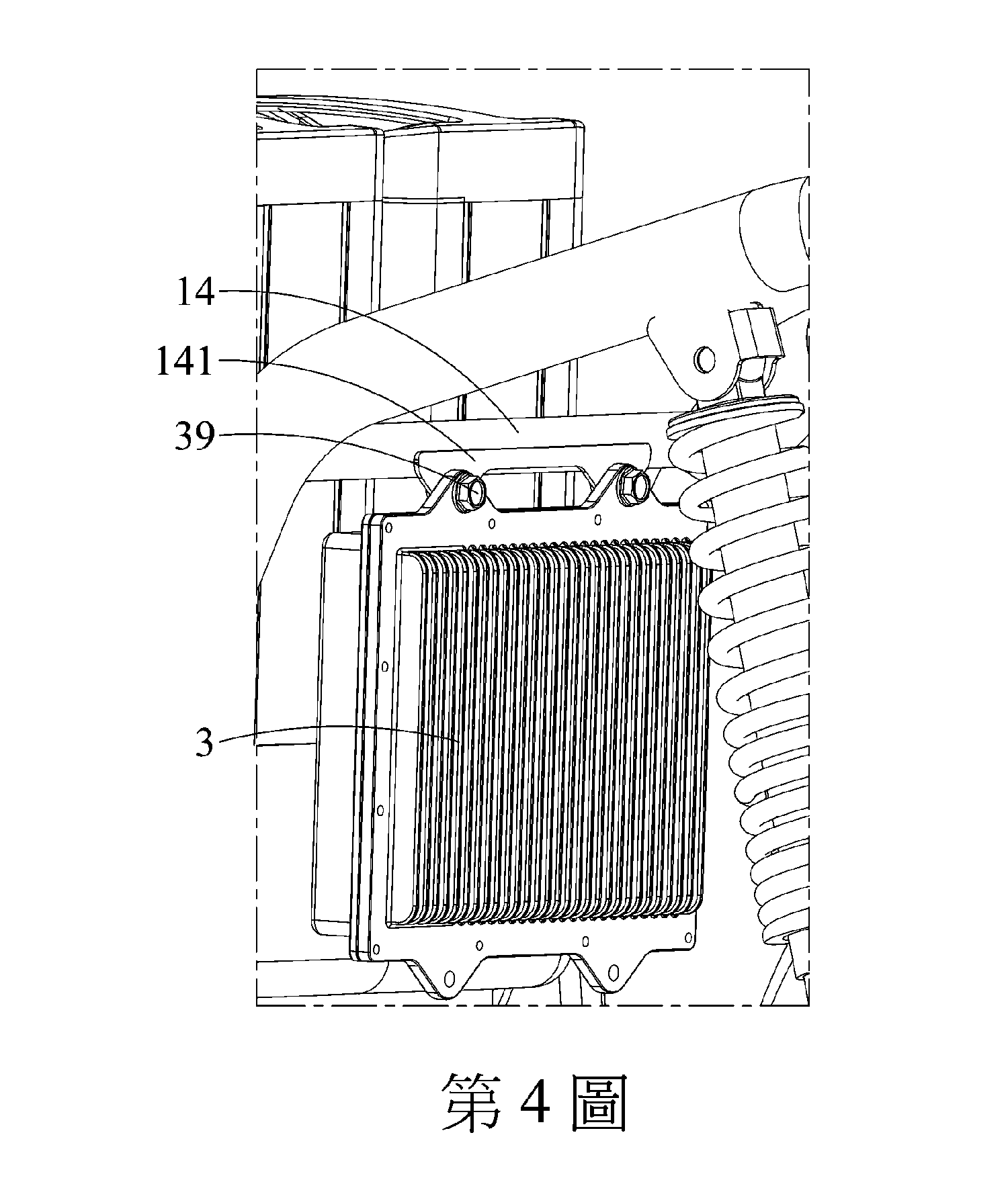
從專利圖能看出,SYM的電動車款採用了神似中油「機車用軟碳快充電池組」的電池設計,根據中油發表的資訊,這組CPC-001軟碳快充電池,擁有20分鐘快速充電、使用循環壽命長和散熱優異等特色。
另外中油也將結合目前現有的加油站據點來建制換電站,對於消費者來說,只要遵循過去熟悉、習慣的加油據點就能找到換電站,這樣的佈局方式對於一些較為年長的使用族群來說,比較沒有適應的轉換困難度。
車身架構部分,SYM的電動車款採用了12吋輪胎、鋼管車架、雙槍後避震、前後碟煞和皮帶傳動等設計,電池放置在坐墊前端,後方有散熱冷排,電池的下方則是電動馬達;從這樣的車輛設計、佈局來推測,SYM的首款電動機車應該會走運動化的設定。
以目前電動車市場上的競爭來看,SYM在電動化的佈局方面確實稍微落後其他競爭對手一些,但憑藉著近年在燃油機車市場上累積的聲量,相信SYM推出電動機車產品之後,應該也能獲得消費者的親睞,究竟SYM的電動車款會有什麼樣的驚喜,真的非常值得期待!






