還記的日系摩托大廠Honda,曾經發下2040摩托車業務探中和的豪語嗎?沒錯,除了各家車廠都在鼎力研發的純電動力總成外,Honda官方對於油電混合系統的研發同樣不遺餘力,到今天為止甚至已經申請了超過11項專利。
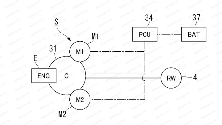
但這多個專利並非Honda首次與油電混合的連結,早在2018年,Honda便推出了PCX Hybrid的混合動力車款,不過只在日本、東南亞等地區少量販售,以至於大部分的人們甚至不知道它的存在;而這次發布的專利也是有一些秘辛,首先可以發現其排列組合多是多缸引擎,搭配雙電機的組合,可以猜測是因為成本的增加,與油電動力系統的能耗特性,適合使用在都會與長途交織工況的大型速克達上;而雙電機系統在汽車上也已經運用多年,由一個動力馬達完成對車輪的直驅,而另一個馬達則可以用來回收引擎的動能為電池充電,雙管齊下使車輛在低速蠕行時,獲得更好的燃油效率。
不僅如此,雙電機還意味著車輛或將有純電行駛的能力,而這樣的動力輔助系統,將有效改善大型速克達較差的油耗,或許是和引擎擺放角度的原因,可以發現專利圖多以NC750的引擎作為藍圖,其向前傾斜的汽缸設計,讓工程師能在摩托車有限的空間中,放下更多電池包與散熱設備。不過Honda目前對於該計畫的開發仍然十分低調,也沒有和Kawasaki的Ninja HEV一樣有具體的排程,我想這麼複雜的動力系統,確實還需要Honda更長時間的研發與投入。
 
                             
                                    


 
                                     
                                     
                                     
                                 
                                 
                                 
                                 
                                 
                                 
                                 
                                 
                                 
                         
                                 
                         
                                 
                        