隨著電動車款近幾年來的蓬勃發展及跨界休旅車款越來越熱門的趨勢,不少車廠開始進軍純電跨界休旅市場。但電池的續航力,一直都是純電車款最讓人擔憂的重點之一,如果車輛到了充電站相對不普及的地方,這個問題的重要性又會被放大不少。不過最近Ford找到了解決這個問題的最直接解法,那就是讓車輛的車頂背上一個備用電池,而且Ford已經向美國專利局申請專利!
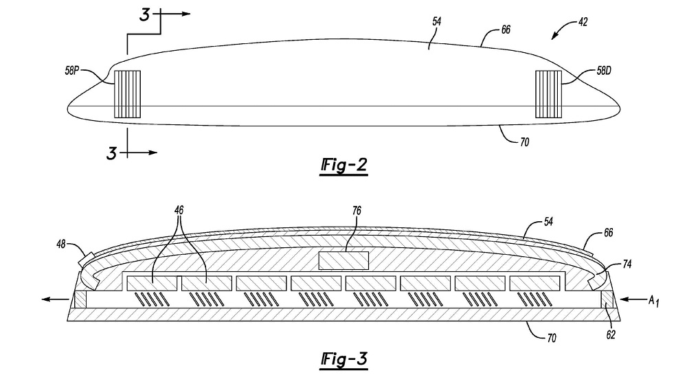
如同現在不少房車或是旅行車為了加搭行李空間會在車頂加上一個「書包」的設計,Ford在車頂的「書包」內塞入一顆備用電池,備用電池後方可以伸出一個充電線並延伸到充電孔,直接為車輛進行充電。車頂上的電池也是可以自由拆卸的,讓車主不用無時無刻都將電池背在車上,可以視目的地的充電樁普及情況再來安裝。
整項專利最特別的點就在於Ford打算在備用電池裝上一個可以和車上電池組連線的模組,讓車輛主電池電力充足的情況下可以將行駛過程中回充的電力直接輸入到車頂的備用電池當中,減少車頂備用電池需要充電的次數。不過這項功能如同整份專利一樣,還是處於草創階段,未來這樣功能有沒有辦法實際用在車輛上,還是個未知數。
這種備用電池的設計,最主要就是要解決純電跨界休旅在戶外越野行駛的續航力問題,不過整項專利最大的挑戰無非就是「重量」問題。這類型的鋰電池的重量通常都不輕而且車頂重量變重會更容易讓車輛在越野行駛過程中更容易翻車,更別提一般道路上高速行駛也同樣會有疑慮。如果這項專利真的應用在生活中,那麼車主勢必是要在「行駛速度慢但續航表現較好」與「可高速行駛但續航表現較不佳」兩者之間擇一,但不可否認的是這將會是現階段要解決續航力最佳解決方案。




