去年11月的米蘭車展上,Piaggio展示了搭載了安全氣囊的MP3 530原型車。時隔四個多月,這項計畫有了全新的進度!因為外媒最近發現Piaggio最近申請了自家研發的安全氣囊系統專利,企圖讓一些追求安全性而選擇購買汽車的駕駛在購車時選擇配有安全氣囊機車的購買意願。
機車搭載安全氣囊的想法並不是Piaggio突然想到的,現行款和改款前的Honda Goldwing都配有著安全氣囊可供選配。但從這次流出的Piaggio安全氣囊專利圖來看,安全氣囊安裝的位置就在駕駛的膝蓋前方空間,而且覆蓋住安全氣囊的外殼也比Honda Goldwing上的設計還要大上不少,似乎也代表著Piaggio的安全氣囊的包覆範圍會更大,也可以提升駕駛的安全性。
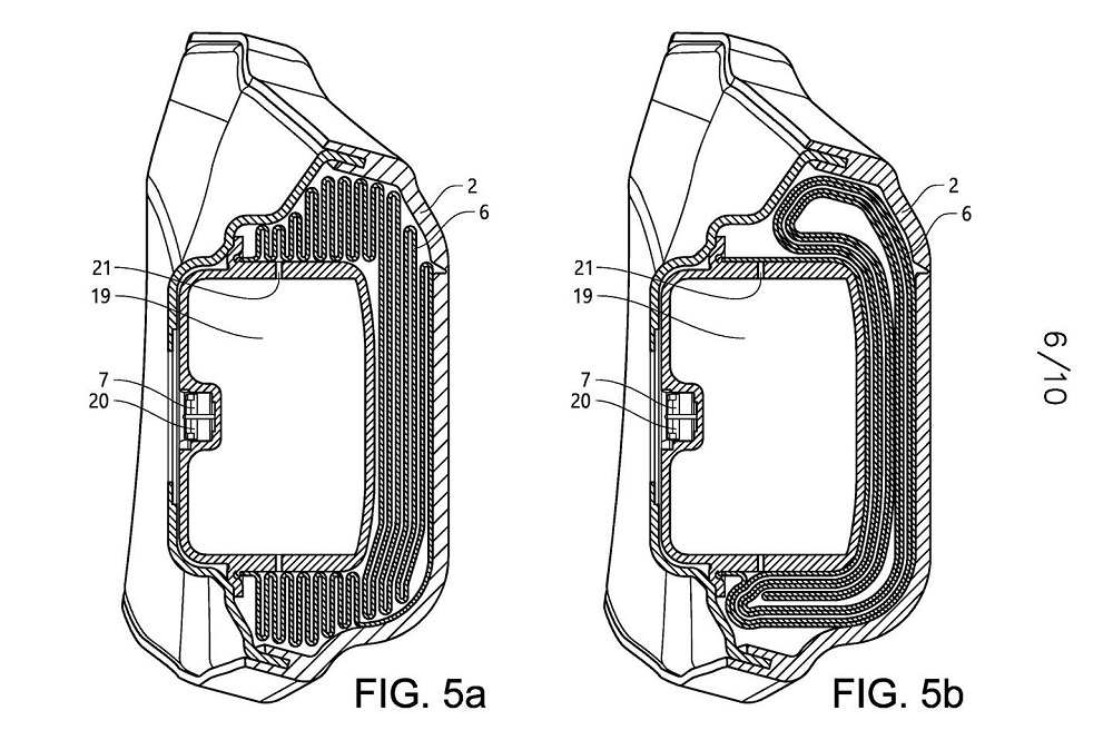
不過這套安全氣囊和一般汽車使用的安全氣囊設計理念十分雷同,整套系統中配有著一個瓦斯產生器(圖中標示7號),但車上的感應器偵測到衝擊需要將安全氣囊充氣時,就會立刻為安全氣囊充氣,讓整個安全氣囊可以包覆住駕駛的上半身和頭部,減少駕駛受到的外力衝擊。不過值得一提的是,因為安全氣囊本身的體積較大,Piaggio打算將他摺起來或是捲起來變成一個牆的概念,盡可能避免瓦斯產生器受到堅硬物體衝擊而誤觸的情況發生。
當然,要讓機車安全氣囊普及並不是一蹴可就。Honda Goldwing和Piaggio MP3 530這種類型的車款憑藉著較長的軸距和較低的車身,讓車輛受到衝擊時更容易偵測到駕駛在騎車時的位置;仿賽車款和街車這種重心比較高的車款在車禍發生時,比較容易會因為外力讓車輛翻覆,間接地讓車輛更不容易掌控駕駛的位置。看到Piaggio向專利局申請專利的消息,或許這也意味著機車安全氣囊在未來幾年有越來越大的機會能夠用在更多車款上。
 
                             
                                    





 
                                     
                                     
                                     
                                 
                                 
                                 
                                 
                                 
                                 
                                 
                                 
                                 
                         
                                 
                         
                                 
                        