「立中柱」這件事情對於部分的車主而言,是件不容易的事情。尤其是在大排氣量的車款,車重往往比小排氣量車款來的更重,也增加了立中柱的難度。因此,有些車廠就曾經研發了電動中柱的設計,讓駕駛抵達目的地後可以放心的停車。不過這項技術,似乎是沒有受到市場青睞,消費者們並沒有把電動中柱視為必要的科技配備之一。不過最近更是有BMW的電動中柱專利圖流出,他們似乎想把電動中柱改良後重新應用到未來推出的車款上!
BMW會想重新推出電動中柱的想法並不是無中生有,他們在2004年的K 1200 LT車型中就用上了這項技術,透過電力系統和水力學的結合讓這台353公斤的巡航車款可以自動立起中柱。這似乎聽起來相當便利,不過受到了當時的科技發展限制,電動中柱要將車子立起的時間花費許久相當沒有效率,也讓這樣功能逐漸不被重用,甚至可以說是相當雞肋。
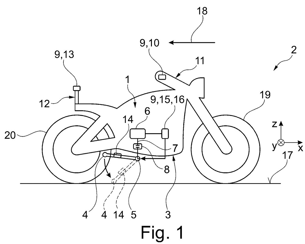
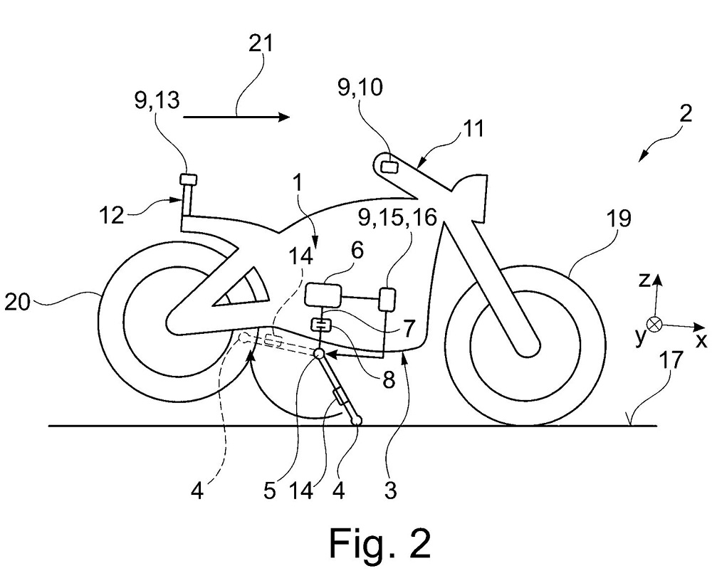
為了解決運作過程太慢的問題,BMW這次的專利圖中顯示,中柱上會安裝上一個感應器,當感應器偵測到中柱向下接觸到地面後,就會啟動電力輔助讓你完整立起中柱。此外,專利圖中也有畫到手把上會安裝一個按鈕來開啟和關閉電動中柱這項功能,並可以透過後扶手來控制輔助系統的力道。如果你還是喜歡自己立中柱,只需要透過按鍵就可以將這項功能完全關閉。
時至今日,電動中柱重新推出到市場上會不會因為時空背景改變而受到市場青睞,這當然還是個疑問。不過看到現在車輛擁有著越來越多的電控配備,如果這套系統的維修費用便宜而且運行的更有效率,相信他或許有機會改變市場樣貌,讓這項功能逐漸的應用在市場上的各種車款上,或許還能夠讓部分駕駛們克服大排氣量車款要停車的心理障礙,願意挑戰更多不同的車款,讓BMW自家車款銷售的更順利。
 
                             
                                    



 
                                     
                                     
                                     
                                 
                                 
                                 
                                 
                                 
                                 
                                 
                                 
                                 
                         
                                 
                        