SUZUKI SALUTO

L

2019國際重型機車展。揭露KATANA開發祕辛!SUZUKI MotoGP廠隊測試車手「青木宣篤」專訪

2019國際重型機車展。揭露KATANA開發祕辛!SUZUKI MotoGP廠隊測試車手「青木宣篤」專訪

SUZUKI台鈴在今年的2019國際重型機車展上,除了帶來國內車迷期盼已久的KATANA、BURGMAN 200兩款全新機種之外,今年更請來KATANA開發團隊成員之一,同時也是SUZUKI MotoGP廠隊測試車手的「青木宣篤」先生來到台灣,本站也利用這次的機會,與青木先生進行專訪,詢問有關KATANA的開發以及MotoGP廠車的測試秘辛!

Ziv 2019/07/19

12

2019國際重型機車展。KATANA新舊雙刃、MotoGP廠車展出!SUZUKI展場介紹

2019國際重型機車展。KATANA新舊雙刃、MotoGP廠車展出!SUZUKI展場介紹

SUZUKI台鈴在今年度的2019國際重型機車展上,再一次帶來從日本原裝抵台的SUZUKI GSX-RR MotoGP廠車作為壓箱寶物,同時更在展場上,此外也在展場上發表眾多車迷期待已久的SUZUKI KATANA,以及先前預告將進入台灣市場的BURGMAN 200白牌休旅羊,除了這些爆點之外,在現場也有SUZUKI旗下全機種的車款展示。

Ziv 2019/07/18
季中觀戰點評-SUZUKI│集合埋伏,小心草叢!Rins與Mir的相繼崛起與隱憂

季中觀戰點評-SUZUKI│集合埋伏,小心草叢!Rins與Mir的相繼崛起與隱憂

也不過回歸幾年的時間,你會很訝異SUZUKI的進步是這麼快速,且令人驚艷。今年的SUZUKI要說「強勢回歸」也是略顯矛盾,畢竟在Maverick Vinales時期的SUZUKI,也正處於萌芽階段而已,當時要說離「強勢」一詞,也似乎尚有距離。而Iannone時期的SUZUKI則是因為引擎選擇的錯誤而蹉跎了一個賽季,而今年的SUZUKI在多數數據與設定都走在正確的路上時,Alex Rins與Joan Mir也能夠在沒有太大的積分壓力下盡情的施展拳腳。

TC 2019/07/17

12

官方新聞稿。MotoGP GSX-RR工廠賽車、車手聯手登場 KATANA「刀」傳奇機種 與SUZUKI全機種全力出擊

官方新聞稿。MotoGP GSX-RR工廠賽車、車手聯手登場 KATANA「刀」傳奇機種 與SUZUKI全機種全力出擊

台鈴SUZUKI將在今年7/18-21,參與在新北市工商展覽中心(五股工商展覽館)舉辦的2019年台灣國際重型機車展,再度將MOTOGP GSX-RR 42號Alex Rins冠軍車手的工廠賽車,由位於日本靜岡濱松市的日本SUZUKI本社運送來台灣參展。

Webber 2019/07/15

10

2019國際重型機車展。一身肅殺之氣,SUZUKI KATANA 58.8萬元發表上市!

2019國際重型機車展。一身肅殺之氣,SUZUKI KATANA 58.8萬元發表上市!

自從去年德國科隆車展以來,全台所有的SUZUKI粉絲,都引頸期盼著KATANA的正式抵台,在今天開幕的2019五股國際重型機車展上,台鈴機車終於正式在台灣發表SUZUKI KATANA,現場也公布KATANA將以xxx.xxx元的價格正式在台上市!

Ziv 2019/07/18
2019國際重型機車展。超大空間的白牌漢堡!SUZUKI BURGMAN 200 18.2萬元正式發售!

2019國際重型機車展。超大空間的白牌漢堡!SUZUKI BURGMAN 200 18.2萬元正式發售!

先前台鈴機車已經在臉書搶先曝光的BURGMAN 200,本次也在五股重型機車展上正式發表,今天在發表會上也公布售價為xxx,xxx元,BURGMAN 200這台主打舒適、省油的白牌休旅車款的引進,對於喜愛這類型風格的車主來說,絕對是一大好消息。

Ziv 2019/07/18

40

L

比賽素人、冠軍車手專訪!SUZUKI GSX-R 150低門檻享受比賽樂趣,TSR賽事第三站活動報導

比賽素人、冠軍車手專訪!SUZUKI GSX-R 150低門檻享受比賽樂趣,TSR賽事第三站活動報導

在台灣舉行多年,目前已成為指標性的入門賽事TSR,除了具有穩定的參賽規模外,嚴謹的賽會規範與活動流程更是許多人不斷投入比賽的重要元素之一,2019年開始SUZUKI台鈴機車交車突破8,000台的GSX-S/R 150車系成立專屬組別,吸引店家、民眾投入賽車運動。

Webber 2019/07/04
似曾相似的電動時光,台鈴SUZUKI推出eReady

似曾相似的電動時光,台鈴SUZUKI推出eReady

我知道螢幕前的你們,可能正想留言說:「欸,你車廠名稱打錯了!」 揉揉你的眼睛,別懷疑!眼前這輛與中華e-moving車款擁有極高相似度的eReady,就是SUZUKI於2019年7月正式推出的新車,簡單來說該車款沿用所有中華e-moving的配置,裝備重量僅有68.5公斤,比起標準身材的我體重還要輕盈。

Webber 2019/07/02

10

官方新聞稿。台鈴SUZUKI高雄俊宏車業 熱情洋溢嶄新面貌

官方新聞稿。台鈴SUZUKI高雄俊宏車業 熱情洋溢嶄新面貌

原本位在楠梓火車站附近的俊宏車業,自開業20餘年來一直以來受到眾多車友的信賴,全新的俊宏車業旗艦店,位於附近的興楠路33號,導入SUZUKI全球 CI(Corporate Image)店面設計,有著全新且不同以往的維修設備,與更具人性化的購車消費環境。

Webber 2019/06/24

6

被法國人帶壞了!法國SUZUKI推出「SV650 Scrambler 2.0」

被法國人帶壞了!法國SUZUKI推出「SV650 Scrambler 2.0」

SUZUKI SV650是一台相當多變的經典車款,儘管上市以來已經超過20個年頭,但復古的圓燈、經典的V型雙缸,搭配上外露式鋼管車架,都讓這台中量級街車有著一群相當死忠的粉絲,在前幾年SV650也搭上了復古熱潮推出了SV650X的Cafe版本,這次則是由法國SUZUKI與SW Motech合作,推出了Scrambler 2.0版本。

Ziv 2019/06/12
限量一台!超稀有「SUZUKI GSX-R1000R Texas Edition」,紀念Alex Rins生涯首勝!

限量一台!超稀有「SUZUKI GSX-R1000R Texas Edition」,紀念Alex Rins生涯首勝!

SUZUKI近年在MotoGP賽場上的表現,可以說是超乎所有車迷的預料,特別是在今年賽季開季以來,SUZUKI一號車手的Alex Rins更是表現亮眼,儘管排位賽表現不如預期,但是正賽總能從後方殺出的兇狠表現,也讓Alex Rins順利的在今年的美國站摘下生涯的首次MotoGP冠軍,為了紀念這次難忘的勝利,義大利SUZUKI特別推出限量一台的「SUZUKI GSX-R1000R Texas Edition」。

Ziv 2019/06/06

9

L

官方新聞稿。台鈴SUZUKI X TSR GSX-R150彰化第二戰 分組激烈搏鬥 爭積分搶榮耀

官方新聞稿。台鈴SUZUKI X TSR GSX-R150彰化第二戰 分組激烈搏鬥 爭積分搶榮耀

日前於彰化溪湖,台鈴SUZUKI機車再度與TSR(TSR台灣騎士精神發展運動協會)聯合舉辦台鈴SUZUKI GSX-R/S 150組別積分選拔賽,第二戰於彰化溪湖K1賽車場展開,今年一共五場的積分賽將選拔出一位選手代表臺灣出國參賽,目前激烈搏鬥中。

Webber 2019/05/27
鈴木名刀發售中!SUZUKI KATANA 日本售價出爐

鈴木名刀發售中!SUZUKI KATANA 日本售價出爐

SUZUKI KATANA從去年德國科隆車展登場以來,全世界的鈴木粉都迫不及待能趕快體驗這把全新的利刃,SUZUKI KATANA也在今年開始陸續在全球各地公布售價,準備進行上市交車了,繼先前SUZUKI在英國公布KATANA的售價之後,這次在日本國內也正式公佈了KATANA的上市價格為1,512,000萬日圓,大約台幣43萬5的價格。

Ziv 2019/05/24

6

當地售價250c.c.七萬七,SUZUKI Gixxer SF 250印度發表

當地售價250c.c.七萬七,SUZUKI Gixxer SF 250印度發表

今天,印度SUZUKI發表了旗下的250c.c.輕檔車新血,從舊有的Gixxer SF 150升級而來,以全新的外型與引擎打入市場,同時許多科技配備與安全配備,也都沒有缺席在這輛單汽缸250級距的小車上頭。

Webber 2019/05/20

28

Mini.G 狂野登場!SUZUKI Jimny 74.8萬元起正式在台上市!

Mini.G 狂野登場!SUZUKI Jimny 74.8萬元起正式在台上市!

SUZUKI Jimny在2018年7月發表以來,成功吸引到全球車壇的目光,有如縮小版M.Benz G-Class的SUZUKI Jimny在上市之後,更是引起全球搶購熱潮,日本當地更是出現長達32個月的超誇張等待期,今日(5/16)台灣SUZUKI金鈴汽車也選在大直典華舉辦SUZUKI Jimny的上市發表會,現場也正式公佈售價SUZUKI Jimny 單色版74.8萬元,雙色塗裝75.8萬元,加購Apple CarPlay功能加價2萬元。

Ziv 2019/05/16

13

四輪KATANA,限量30台!Suzuki Swift Sport Katana Edition

四輪KATANA,限量30台!Suzuki Swift Sport Katana Edition

如果你是超級「鈴菌」(用來稱呼SUZUKI的超級狂熱車迷),又或是歷經過那美好的1980年代,各家車廠大放異彩的時刻,SUZUKI KATANA在你心中絕對有著崇高無法打破的地位,隨著2018年底SUZUKI正式發表新一代的KATANA,為了慶祝這特別的一刻,荷蘭SUZUKI的「汽車」部門以台灣也有販售的Swift Sport作為基礎,打造出限量30輛的Suzuki Swift Sport Katana Edition。

Webber 2019/05/09
官方新聞稿。台鈴SUZUKI 感恩五月 寵愛媽咪 購買白牌機車 就抽萬元禮券

官方新聞稿。台鈴SUZUKI 感恩五月 寵愛媽咪 購買白牌機車 就抽萬元禮券

台灣台北市,一年一度的母親節,台鈴SUZUKI感謝全天下母親的辛勞,特別推出”寵愛媽咪,感動回饋”專案,即日起至5/30止,只要購買台鈴SUZUKI白牌全車系,就有機會獲得一萬元的家樂福禮券,本月共有兩次抽獎機會,孝敬媽咪正是時候。(第一次抽獎日期:5/15,第二次抽獎日期:6/5)

Webber 2019/05/06

8

L

官方新聞稿。台鈴SUZUKI X TSR GSX-R 150 國內賽事 年度積分 分組挑戰 熱血展開

官方新聞稿。台鈴SUZUKI X TSR GSX-R 150 國內賽事 年度積分 分組挑戰 熱血展開

台鈴SUZUKI機車今年首度與TSR(TSR台灣騎士精神發展運動協會)聯合舉辦台鈴SUZUKI GSX-R/S 150組別積分選拔賽,首場開幕站已於4月28日在台南安定賽車場盛大展開,今年一共五場的積分賽將選拔出一位選手代表臺灣出國參賽,競爭可說是相當激烈。

SUPERMOTO8 2019/05/03
SUZUKI最新專利,打造更強大單缸引擎

SUZUKI最新專利,打造更強大單缸引擎

雖然電動機車的發展越趨蓬勃,但對於內燃機的開發各大廠依舊卯足全力,不僅是在大排氣量的引擎有所精進,這次SUZUKI申請了全新專利文件當中,看到了新設計的單缸引擎,透過全新的設計讓單缸引擎天生帶來的震動感減低,並且可以擁有更強大的動力表現。

Dickson 2019/04/29
DR.BIG現身? SUZUKI 新款多功能車偽裝曝光

DR.BIG現身? SUZUKI 新款多功能車偽裝曝光

2018年,多間歐洲車廠不約而同的發表新款的多功能車,奧地利的瘋狂橘子KTM帶給我們全新級距的790 Adventure、古典浪漫的Moto Guzzi發表浪漫的V85 TT、德意志代表BMW則是更新了旗下的F 750/850車系以及全球最熱銷的大鳥R 1250 GS/ADV系列,在歐洲車廠的推波助瀾下,多功能車款邁入了一個新世代,這也讓地球另一端的日系品牌開始有了動作,先前本站也介紹過SUZUKI準備將經典的DR.BIG之名再次重現於車壇,而這次近日看來已經成真,在歐洲已經有媒體在路上瞥見到SUZUKI最新款的偽裝測試車!

Ziv 2019/04/23
我們與浪的距離 -SUZUKI  RV90 THE GOOF Bike by Paul McNeil

我們與浪的距離 -SUZUKI RV90 THE GOOF Bike by Paul McNeil

前陣子我寫過一篇關於YAMAHA YZF-R1M大爆改Cafe Racer式樣受到不錯的好評,當然,性能車雖然並非人人喜歡,但對於各家旗艦跑車的名稱與性能數據,在愛車人心中自然也就刻著深刻的痕跡。小徑檔車並非近年來才蔚為風潮,我們也都熟知的HONDA Monkey 50,也早已行之有年並且改裝風格與套件琳琅的可以。這一次,相較於追求極大化馬力與工藝高度的手工打造車來說,小輪徑檔車的玩世不恭與相對娛樂性質大於實用性質的改法走向,也許我們現在氣氛可以輕鬆一些。

TC 2019/04/17

29

L

漫步於城市、田野間的冒險家。SUZUKI V-Strom 1000

漫步於城市、田野間的冒險家。SUZUKI V-Strom 1000

近年隨著經濟起伏,越來越多車主在選購車輛時,都會以更多樣化的使用狀況,作為購車時的主要考量,這也使得多功能車款變成市場上相當熱銷的選擇,特別是擁有長途巡航以及熱血冒險兼具的公升級多功能冒險車款,更是受到市場的親睞,而今天的主角,正是一台樸實又具有樂趣的多功能車款,SUZUKI V-Storm 1000。

Ziv 2019/04/17
雷達上身碰撞遠離。SUZUKI雷達感應後照鏡專利現身

雷達上身碰撞遠離。SUZUKI雷達感應後照鏡專利現身

近年在市售車款上,越來越能看到功能強大的主被動安全配備,甚至是更進階的自動/半自動駕駛系統進入到我們的生活當中,在這些安全配備與系統當中,碰撞感應器可以說是整套系統的眼睛,透過雷達感測的方式來判斷感應,避免意外碰撞事故的發生,現在SUZUKI也準備替自家的摩托車加入類似的機構。

Ziv 2019/03/19

22

L

日本授權、廠車彩繪上身,SUZUKI SWISH125發表會

日本授權、廠車彩繪上身,SUZUKI SWISH125發表會

今天(3/15),SUZUKI舉行媒體發表會&暢騎會,除了先前曾發布新聞稿且已到港的GSX-S/R 150車系19年配色發表外,首次登場的SWISH125的全新MotoGP配色更是亮眼且具有賽事精神的塗裝,將銷售目標瞄準18歲的機車首購族群,另外在銷售方面,2019年三月開始,只要購買台鈴機車販售的車款,即贈送車主安駕課程,這個過往僅有性能商品限定的服務將下放至全機種車主共享,可看出台鈴機車對於社會責任的培養與維護。

Webber 2019/03/15

8

武士套件殺氣升級。SUZUKI KATANA 英國售價公佈

武士套件殺氣升級。SUZUKI KATANA 英國售價公佈

SUZUKI KATANA自從在去年德國科隆車展上發表以來,全世界的SUZUKI粉絲都在敲碗期待這台新世代復古街車的上市,就在近日SUZUKI正式在英國發表了新一代KATANA的英國售價,定價為11,399英鎊,大約台幣46萬5左右,同時SUZUKI也發表了定價999英鎊的“Samurai Pack”武士外觀升級套件。

Ziv 2019/03/15

L

動作頻頻,SUZUKI復古風格車款專利圖流出,同時還有新引擎放置專利

動作頻頻,SUZUKI復古風格車款專利圖流出,同時還有新引擎放置專利

對比過去幾年的沈默,SUZUKI自從2018年底發表Katana後可沒有停止研發的腳步,在短時間中我們已經看到多張SUZUKI的新概念圖展示,雖然新車遲遲沒有出現,不管是謠傳已久的渦輪增壓中量街車,或是過往的速度王者「隼」,不是仍在美好的夢中就是僅剩經典能夠緬懷,那以下這兩張圖又揭露了SUZUKI的哪些專利呢?

Webber 2019/02/19
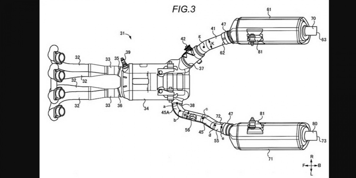
游隼再次翱翔天際?SUZUKI註冊排氣專利

游隼再次翱翔天際?SUZUKI註冊排氣專利

SUZUKI HAYABUSA在去年年底由於Euro4的法規寬容到期,在歐洲以及日本市場上全面下架,讓許多車迷大嘆HAYABUSA已死,不過在近日,SUZUKI釋出的全新專利圖中,我們看到了一套全新的排氣系統,或許暗示著SUZUKI並不打算就這樣放生自家驕傲的地表最速車款。

Ziv 2019/02/01