HONDA BENLY E: ELECTRIC

場外八卦還是正暗地進行?HONDA傳正極力爭取Joan Mir加入!

場外八卦還是正暗地進行?HONDA傳正極力爭取Joan Mir加入!

2022年一開始,在MotoGP方面就出現一些消息,具外媒消息指出,Repsol HONDA有意想要網羅Joan Mir的加入。

TC 2022/01/05
跟Brembo、Öhlins說掰掰!HONDA CBR1000RR-R WSBK廠車改用Showa、Nissin懸吊煞車

跟Brembo、Öhlins說掰掰!HONDA CBR1000RR-R WSBK廠車改用Showa、Nissin懸吊煞車

HONDA WSBK廠隊在2022年進行重組,除了找來兩位來自MotoGP的年輕車手Iker Lecuona和Xavi Vierge之外,在賽車方面也換上新的懸吊、煞車供應商,從原本的Brembo、Öhlins組合改為日製的Nissin、Showa組合,希望透過新的組合在2022年找回更強的競爭力。

Ziv 2022/01/03

6

Honda Civic Type R 日本鈴鹿賽道測試中,一月登場

Honda Civic Type R 日本鈴鹿賽道測試中,一月登場

2023年式新一代Honda Civic Type R很有可能會是最後一次使用內燃機引擎的Type R,將預計在2023年1月東京車展中亮相,在它正式亮相前,原廠刻意最後一次以偽裝照片公布整體細節,也對其透露部分詳細規格,且積極在鈴鹿賽道中進行測試。

D.C.Racer 2021/12/24
肅殺石墨黑登場!2022 HONDA CBR250RR 海外新色亮相

肅殺石墨黑登場!2022 HONDA CBR250RR 海外新色亮相

HONDA旗下熱血的CBR250RR近日在日本推出全新車色,新增一個相當帥氣的肅殺石墨黑,新車色和先前的三個車色相比,少了車架、車身上的跳色以及金色輪框,在外觀上變得更為低調,新的石墨黑車色在日本當地的建議售價為821,700日元,約台幣20.1萬元左右。

Ziv 2021/12/22

L

Honda Taiwan榮獲110年交通部金安獎殊榮 交通安全教育將持續向下紮根

Honda Taiwan榮獲110年交通部金安獎殊榮 交通安全教育將持續向下紮根

Honda Motorcycle為了持續實現「Be Your Wing」的品牌精神,積極推動6S服務機制,提供二輪業界內最完整的服務建構與承諾,更期望透過其中Safety-riding-安駕訓練的努力推廣,於台灣傳遞「Safety for Everyone」的理念。

Webber 2021/12/10
敲碗已久的滑離、檔位顯示確定搭載 ! 2022 HONDA CB300R發表

敲碗已久的滑離、檔位顯示確定搭載 ! 2022 HONDA CB300R發表

從未退過流行的復古風潮近年來又在機車市場上吹起一陣熱潮,以舊時代元素重新設計車款,並添加上更多的現代科技,而在台灣黃牌級距,隸屬於NEO SPORTS CAFE家族底下的CB300R更是廣受消費者的喜愛,隨著年底的到來,HONDA INDIA也正式發表了2022年式的小改款 !

Oliver 2021/12/09

7

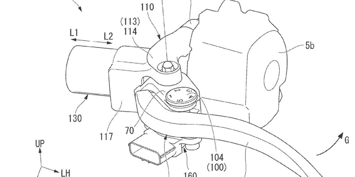
氣冷四缸變水冷雙缸?HONDA CB1100雙缸專利圖曝光!

氣冷四缸變水冷雙缸?HONDA CB1100雙缸專利圖曝光!

HONDA今年推出CB1100的Final Edtion版,預告這台經典的氣冷四缸大街車準備走入歷史,但HONDA似乎沒有打算在未來缺席大型經典街車市場,而是準備用更現代的水冷雙缸引擎來取代氣冷四缸,持續打造帥氣的大型街車給喜愛這類風格的消費者。

Ziv 2021/12/08
分離式坐墊、車身質感提升!HONDA CB350 週年紀念版印度發表

分離式坐墊、車身質感提升!HONDA CB350 週年紀念版印度發表

HONDA在2020年於印度推出H'ness CB350這台單缸復古街車後,迅速在全球市場上引起熱議,特別是CB350極為親民的價格加上搭載HSTC、HSVCS語音控制等配備,讓CB350在市場上獲得成功;近日HONDA也在印度發表H'ness CB350的週年紀念版,加入分離式坐墊設計,並且再度提升車身質感。

Ziv 2021/12/07

22

L

給你倒叉、前雙碟還不加價!2022 HONDA CBR500R升級有感 賽道體驗

給你倒叉、前雙碟還不加價!2022 HONDA CBR500R升級有感 賽道體驗

HONDA CBR500R在今年九月初於海外發表後,台灣本田迅速宣布維持價格持續導入,歷經多個月的等待後,HONDA終於在今(12/7)日於永安賽車場舉辦CBR500R的發表試乘會,到底這台在前懸吊、前煞車等諸多配備獲得大幅升級的黃牌街跑車有哪些不一樣,趕緊來看看吧!

Ziv 2021/12/07

11

L

米褐色X-ADV、消光黑CBR650R來啦!Honda Taiwan 2022年式新車色發表

米褐色X-ADV、消光黑CBR650R來啦!Honda Taiwan 2022年式新車色發表

Honda Taiwan致力滿足台灣消費者對於Honda二輪商品與服務的期待為首要目標,以為顧客建構完善的二輪環境為核心理念,為了滿足Honda Motorcycle車主們對於產品線的需求,Honda Taiwan今日發表2022年式車款新色,包含人氣機種CBR650R、CB650R、X-ADV、Rebel500等車款,皆有令人備感興奮的新車色上身,也讓車輛展現出與以往不同的風格。

Ziv 2021/12/03
青出於藍還是無間煉獄?Pol Espargaro:我尊重Jorge Lorenzo的成就,但我能在HONDA表現得更好。

青出於藍還是無間煉獄?Pol Espargaro:我尊重Jorge Lorenzo的成就,但我能在HONDA表現得更好。

Pol Espargaro相當清楚在2021年賽季的表現,其實並沒有如當初被寄予厚望作為Marc Marquez缺陣時無縫接軌的救世主角色。

TC 2021/12/02
日本也玩電動車交換電池?YAMAHA、HONDA於東京進行換電試驗

日本也玩電動車交換電池?YAMAHA、HONDA於東京進行換電試驗

電動機車的充電問題,除了透過快速充電提升效率外,交換電池似乎是目前的唯一解套方式,繼日本四大廠、歐洲機車品牌相繼組成聯盟探討電動機車發展後,近期日本東京將進行一場電動機車交換電池實驗計畫,代表品牌就是YAMAHA與HONDA兩大車廠。

Webber 2021/12/02
Honda Motorcycle 2021 冬季健檢活動開跑 Wooo虎~安心追風就是帥!

Honda Motorcycle 2021 冬季健檢活動開跑 Wooo虎~安心追風就是帥!

Honda Motorcycle為了持續實現「Be Your Wing」的品牌精神,以獨有的6S服務機制,提供二輪業界內最完整的服務建構與承諾,致全力讓所有熱愛Honda二輪的顧客滿意。 為讓親愛的車主有著更全面的服務,Honda Taiwan將於2021/12/1到2022/1/23於各區Honda Motorcycle經銷據點舉辦 「Wooo虎!安心追風就是帥!」免費健檢活動,將提供免費25項行車安全檢查以及回廠好禮、消費滿額禮、定保換油禮等,另外還有Repsol機油、Pirelli、Michelin輪胎販促優惠活動等。敬邀親愛的車主安心回到Honda Motorcycle保養愛車,共創充滿安心且喜悅的重機生活,一同帥氣追風迎虎年。

Ziv 2021/12/01
Honda研究你的大腦要讓開車更安全!

Honda研究你的大腦要讓開車更安全!

雖說現在研發電動車才是話題主流,向來有點反骨的Honda卻仍然默默做安全研發,目的就是要降低肇事率。

麥斯學長 2021/11/30

8

L

Honda Motorcycle Yuanlin 彰化員林新據點正式營運

Honda Motorcycle Yuanlin 彰化員林新據點正式營運

為回應眾多的車主需求,服務更多的中部地區車主,Honda Taiwan在彰化員林成立全新的旗艦據點,拓展Honda Motorcycle更完善的服務範圍。員林店同樣以Honda標準高規格打造,展間內擺放目前Honda Taiwan 所推出的各類型產品,供有興趣的車友來店賞車、試乘;而對於車主來說,在保修服務上可以更為便利。

Webber 2021/11/29

9

L

2021米蘭車展。Husky ADV跨界速可達、FIDDLE Electric電動車,SYM眾多新車米蘭現身!

2021米蘭車展。Husky ADV跨界速可達、FIDDLE Electric電動車,SYM眾多新車米蘭現身!

SYM近年不論在台灣還是海外市場上都有著相當亮眼的成績,特別是在150級距熱銷的DRG 158,更是在台灣受到不少消費者的喜愛,近日的2021米蘭車展,SYM就在海外曝光一台相當特別的Huskey ADV,從外觀上來看,似乎就是DRG的跨界越野版,此外SYM還有多款全新的車型也一同在米蘭車展上現身。

Ziv 2021/11/25
2021 米蘭車展。四缸變雙缸?HONDA Hornet概念車預告片亮相

2021 米蘭車展。四缸變雙缸?HONDA Hornet概念車預告片亮相

自HONDA 1996年發表的CB250F採用Hornet的名號問世後,源自CBR250 Four的249c.c.水冷四缸引擎在14,000轉時能輸出40ps的馬力,加上驚人的180mm後輪胎寬,在那個年代與法規下,250c.c.的排氣量有著如此規格,儼然就是大型運動街車,也因為如此,台灣車迷們熟知的「小黃蜂」CB250F Hornet便在車迷心目中佔據了難以撼動的地位。

Oliver 2021/11/23

32

2021米蘭車展。HONDA CBR 1000RR-R 30週年新色發表

2021米蘭車展。HONDA CBR 1000RR-R 30週年新色發表

去年因肺炎疫情,不僅在全球造成相當巨大的人命和經濟損失,隨著疫情二次爆發,不少原本預期能在年底回歸的大型展覽活動也都紛紛宣告取消,而作為二輪年度盛會的「義大利米蘭車展」也逃不過停辦的命運,米蘭車展主辦單位在去年6月26日宣布2020年第78屆的米蘭車展正式取消。

Oliver 2021/11/23

29

L

2021米蘭車展。跨界黃羊登場!2022 HONDA ADV350 海外發表

2021米蘭車展。跨界黃羊登場!2022 HONDA ADV350 海外發表

HONDA近年在跨界車款市場獲得相當不錯的銷售佳績,這很大一部分要歸功於市場上獨一無二的X-ADV,成功替HONDA開闢出跨界運動羊的新市場,近年HONDA也在跨界速可達車款上陸續推出新作,像是小排量的ADV150,在今年米蘭車展上,HONDA就帶來一款全新的ADV350中量跨界速可達。

Ziv 2021/11/23

6

狂野牛仔、軍車風格新色!HONDA REBEL 500/1100 2022全新車色亮相

狂野牛仔、軍車風格新色!HONDA REBEL 500/1100 2022全新車色亮相

HONDA REBEL家族近年在全球市場上都獲得出色的銷售成績,獨特的美式風格外型與HONDA日系品質的搭配,讓不少喜歡這類車款的粉絲樂於選購這兩台車款,HONDA近日也推出REBEL 500和REBEL 1100的2022年式新色。

Ziv 2021/11/18
ADV熱潮持續爆發!HONDA CB150X印尼發表

ADV熱潮持續爆發!HONDA CB150X印尼發表

如果你今天想追求的目標是,舒適的騎乘同時又不失熱血樂趣,同時還要兼顧一點實用的裝載能力,ADV車款絕對是你最棒的選擇,不只公升級大型重機早有多樣的ADV選擇,小車級距也在全球掀起ADV炫風。繼今年8月HONDA印度曾發表CB200X後,印尼HONDA也在本週發表CB150X搶攻迷你ADV市場。

Webber 2021/11/15

6

邁向30週年 ! HONDA CBR 1000RR-R 懷舊復刻有望登場 ?

邁向30週年 ! HONDA CBR 1000RR-R 懷舊復刻有望登場 ?

2020年全新亮相的CBR1000RR-R FireBlade不論是內在還是外在,都和前一代車款有著相當不一樣的地方,甚至連命名方式都採用超級多R的設定,三倍的R更是其來有自,透過來自RC213V-S引擎的低摩擦技術,降低35%摩擦係數提升引擎燃燒效率外,汽缸方面也與RC213V-S有著相同的缸徑規格,鍛造鋁製活塞、鈦金屬連桿等一應俱,可見HONDA對這台車的決心。

Oliver 2021/11/11

37

L

四缸氣冷終章,探訪新竹老城。2021 HONDA CB1100RS FINAL EDITION

四缸氣冷終章,探訪新竹老城。2021 HONDA CB1100RS FINAL EDITION

說到HONDA旗下經典的CB1100家族,在歷經多年的生產之後,於今年推出FINAL EDITION車型,預告CB1100氣冷四缸家族的最終章,近日我們也前往新竹進行這台經典日系四缸街車的試乘拍攝,在古色古香的新竹市區,趕緊跟著我們一起騎著CB1100RS FINAL EDITION來探訪新竹的知名古蹟景點吧。

Ziv 2021/11/17

15

限量最香 買車投資指南!HONDA RC213V‐S創下日本拍賣最高價紀錄

限量最香 買車投資指南!HONDA RC213V‐S創下日本拍賣最高價紀錄

雖然一般來說汽機車從落地、掛上車牌的那一刻起,就是價值只會逐年減少的負資產,但假如你買對車,這個陪伴你移動的夥伴也有可能像股票一樣有無限可能增值空間,HONDA於2015年正式發表幾乎可視為MotoGP市售廠車的RC213V‐S,200多輛的稀少性與獨特身份加持下,重新改寫2021年10月的日本交易紀錄,成為拍賣場上最貴的日本機車。

Webber 2021/11/08
Honda Motorcycle CRF300 RALLY 探索旅途新可能 36期0利率實施中

Honda Motorcycle CRF300 RALLY 探索旅途新可能 36期0利率實施中

Honda Motorcycle自2020年宣佈引進硬派拉力車款CRF300 RALLY,其具備長途旅行以及惡地走破的雙重車格,受到廣大騎士的青睞。為回應廣大顧客期待,推廣拉力賽事的硬派風格,Honda Taiwan於2021 11月推出21年式CRF300 RALLY 36期0利率專案,邀請您一同體會源自達卡拉力賽的本格派魅力。

Ziv 2021/11/01
頂棚三輪換電商車!HONDA GYRO CANOPY e: 海外發表

頂棚三輪換電商車!HONDA GYRO CANOPY e: 海外發表

HONDA近日在日本發表了全新的GYRO三輪商用車GYRO CANOPY e:,這台可愛的三輪小車是GYRO車系的新成員,同樣有著頂棚、後貨架的設計,肚內則是使用兩顆Honda Mobile Power Pack e: 換電電池,可提供77公里的最大續航里程,售價則為715,000日圓,約17.5萬元台幣。

Ziv 2021/10/29

6

碳纖維一體式車身!HONDA釋出CBR1000RR-R 全新專利圖

碳纖維一體式車身!HONDA釋出CBR1000RR-R 全新專利圖

HONDA在2019年推出CBR1000RR-R之後,原先期望這台三倍R能在WSBK賽場上展獲佳績,可惜的是CBR1000RR-R未能如預期在賽場上翻盤,HONDA也在不久前傳出可能推出更一敗的SP2版本來對應,近日外媒更挖出HONDA釋出的專利圖,從圖紙上來看HONDA準備端出更極端的新設計。

Ziv 2021/10/27