HARLEY-DAVIDSON FXDR 114

20

L

150匹、先進電控、V型雙缸。Harley-Davidson Pan America 1250 美式冒險大師發表!

150匹、先進電控、V型雙缸。Harley-Davidson Pan America 1250 美式冒險大師發表!

經過漫長等待之後,Harley-Davidson Pan America 1250終於正式發表,這台可以說是Harley-Davidson旗下最不哈雷的車款,搭載有招牌的1252c.c. V型雙缸引擎、150HP最大馬力以及6軸IMU的電控系統等,售價部分則從17,319美元起,大約是台幣48.3萬元左右。

Ziv 2021/02/23

6

哈雷也玩增壓?Harley-Davidson機械增壓引擎專利曝光!

哈雷也玩增壓?Harley-Davidson機械增壓引擎專利曝光!

說到增壓引擎,相關的技術專利早已成為各間車廠之間的備戰武器,面對越來越嚴苛的排放環保法規,除了電動化發展之外,要保留內燃機引擎的聲浪與樂趣,增壓成為被寄與厚望的救贖之一,近日Harley-Davidson也曝光一組機械增壓的引擎專利,有望在未來替經典三拍的V型雙缸引擎,增加更猛爆的性能。

Ziv 2021/02/04

9

美式冒險王!Harley-Davidson Pan America 1250 明年二月上市

美式冒險王!Harley-Davidson Pan America 1250 明年二月上市

曝光許久卻遲遲未正式發表的Harley-Davidson Pan America 1250終於證實將在2021年2月22日正式發表,這台搭載Harley-Davidson招牌V型雙缸、外型設計獨特的美式ADVENTURE也曝光第一批的實車照片,趕緊來看看車上有哪些好料吧!

Ziv 2020/12/10
Harley-Davidson超帥新車官網現身,Custom 1250有望迎擊HONDA REBEL 1100

Harley-Davidson超帥新車官網現身,Custom 1250有望迎擊HONDA REBEL 1100

如果你還有印象可能會記得,Harley-Davidson曾在2018年夏天一口氣丟出多款概念新車,當時看起來聲勢浩大,有種要打破市場的霸氣感,美國官網也隨後在車款類別中加入「未來車款」展現出大破大立的美式野心,雖然直到2020年底,這間美國百年大廠沒有更多動作,但近期透過官網倒是可以發現,又有一款車距離現實更近一步。

Webber 2020/12/02
XR338!?這不是Harley-Davidson官方推出,而是由Benelli 302S修改而來的量產預備車

XR338!?這不是Harley-Davidson官方推出,而是由Benelli 302S修改而來的量產預備車

說來諷刺,先前Harley-Davidson官方曾允諾,將推出小排量車款來吸引全世界的入門騎士,但在新車大軍壓境的年底時刻,我們依然沒有更多Harley-Davidson小排量新車資訊。 但沒有關係,因為義大利設計公司、老牌OEM廠Engines Engineering,為我們展示了令人興奮的XR338!

Webber 2020/11/02
進軍電動腳踏車市場?!Harley-Davidson「Serial 1 eBicycles」11/16正式發表

進軍電動腳踏車市場?!Harley-Davidson「Serial 1 eBicycles」11/16正式發表

Harley-Davidson近年積極拓展電動車市場,不但推出創新的LiveWire電動重機之外,更曝光多款電動概念車,但今年全球受到疫情的重大打擊之下,電動自行車成為不少通勤族的替代移動工具,Harley-Davidson也宣布將在11月16日發表旗下第一款電動自行車「Serial 1 eBicycles」。

Ziv 2020/11/02

11

想像中的哈雷入門電動車款!極簡Harley-Davidson Revival出現!

想像中的哈雷入門電動車款!極簡Harley-Davidson Revival出現!

Harley-Davidson作為美式電動霸主,其實早在好幾年前就已經推出了純電車型LiveWire,這輛受到全球關注的全球關注的純電產品雖然沒有受到很多人喜愛,但也掀起了不小的話題討論,而現在有設計師設計了一款更簡單的哈雷電動車,不曉得哈雷官方的想法如何呢?

Dickson 2020/10/05
市場級距完全不同!Harley-Davidson放棄印度市場!

市場級距完全不同!Harley-Davidson放棄印度市場!

印度是全球最大的兩輪市場,同時也對於價格最為敏感,作為世界上第二大的人口大國自然有著強大的需求,但是哈雷似乎沒辦法掌握到這個市場的特性,畢竟他們的產品似乎也沒辦法適合印度市場,在這裡需要的是速克達以及小排氣量車款,水土不服的Harley-Davidson只好忍痛退出。

Dickson 2020/09/27
Harley-Davidson 338R實車曝光!小排量哈雷街車近期登場?

Harley-Davidson 338R實車曝光!小排量哈雷街車近期登場?

Harley-Davidson的HD350小排量街車近期又有全新消息,不久之前才剛曝光HD350的中國版雙生車QJ350的全車外貌,近期更是有外國媒體直接披露Harley-Davidson HD350小排量車款的無偽裝實車,從照片中能清楚看到這台車車身上印著Harely-Davidson與338R的字樣。

Ziv 2020/09/01
Harley-Davidson HD350雙生車?錢江QJ350實車曝光!

Harley-Davidson HD350雙生車?錢江QJ350實車曝光!

Harley-Davidson先前與中國錢江摩托簽下合作協議,準備在亞洲市場推出中量級車款「HD350」,而近日中國錢江摩托註冊一台全新的QJ350裸把街車,被外媒指出很可能就是Harley-Davidson HD350的雙生車,但從目前的外型來看QJ350和先前HD350的藝術圖有著不小的差距。

Ziv 2020/08/04
讓倒車不再成為你的惡夢!Harley-Davidson申請自動平衡系統專利!

讓倒車不再成為你的惡夢!Harley-Davidson申請自動平衡系統專利!

Harley-Davidson的巡航車款受不了不少車迷愛戴,但這種巡航車款往往車身都較長、車重也相當重。別說要騎在路上了,不少騎士光是看到他的外觀就連跨上去都不太敢。最近Harley-Davidson為了讓騎士在騎乘自家巡航車款不會備感壓力,向專利局申請了一套「自動平衡系統」(Self-Balancing)。

CJ 2020/06/24

9

HARLEY-DAVIDSON推出限量版平衡車,配色採用電動車專屬色?

HARLEY-DAVIDSON推出限量版平衡車,配色採用電動車專屬色?

對於成立超過一世紀的經典品牌HARLEY-DAVIDSON來說,雖然在巡航車款佔有舉足輕重的地位,但這間美國公司在過去一年披露了許多未來計畫,其中電動車佔了相當大一部分。而在2020年的最新官方消息中,雖然是針對旗下的幼兒滑步車推出限定版本,但依舊與電動車勉強搭上關係。

Webber 2020/05/29
從上到下的構造改革!Harley-Davidson能否挽救逐年下降的銷售狀況?

從上到下的構造改革!Harley-Davidson能否挽救逐年下降的銷售狀況?

Harley-Davidson在今年三月除了註冊兩個新商標之外,還開除了原本的執行長Matt Levatich。這兩項舉動被外界視為他們即將在不久之後帶來一些重大的改革。如今Harley-Davidson對外宣布了公司接下來的經營策略,他們即將放棄原本的「更多通往Harley-Davidson的道路」(More Roads Lead to Harley-Davidson),改成新的計畫「重新連線」(The Rewire)。

CJ 2020/05/15

8

Harley-Davidson準備推出Cafe Racer和Flat Tracker搶攻復古市場?!

Harley-Davidson準備推出Cafe Racer和Flat Tracker搶攻復古市場?!

Harley-Davidson在近幾年的銷售成績表現稱不上亮眼,但這並沒有阻止這間美國老牌車廠創新的意願,在2018年公佈了「未來車款藍圖」之後,近期歐洲專利局又曝光了Harley-Davidson的兩款新車的專利圖,一台Cafe Racer和一台Flat Tracker,這是否預告Harley-Davidson準備要進軍熱銷的“復古車”市場呢?

Ziv 2020/04/07
一名員工確診!Harley-Davidson宣布停工至三月底

一名員工確診!Harley-Davidson宣布停工至三月底

全球籠罩在武漢肺炎疫情的威脅之下,不少摩托車廠都在近日宣布進入短暫的停工狀態,來避免疫情在生產線上群聚擴散,但很不幸的在3月19日傳出Harley-Davidson有一名動力組裝廠員工確診,這也導致H-D緊急宣布暫停旗下所有工廠的運作,以確保公司員工的安全。

Ziv 2020/03/20

7

註冊新商標、換CEO,Harley-Davidson將迎來重大改革?!

註冊新商標、換CEO,Harley-Davidson將迎來重大改革?!

Harley-Davidson這幾年在銷售業績方面表現慘淡已經不是秘密,而這間美國老牌車廠,也在2018年相當激進的推出了不少新的概念車款,甚至是電動車款試圖振作,但2019年的銷售成績再次下滑,也讓H-D遭逢又一次的打擊,而近日Harley-Davidson更是宣布現任CEO Matt Levatich將會離職,同時也有歐洲媒體發現Harley-Davidson在歐洲註冊了全新的商標專利,這是否意味著H-D即將在2020年迎來重大的改革?

Ziv 2020/03/05
限量2,500台的黑衣殺手。Harley-Davidson Fatboy 30週年特仕版海外發表!

限量2,500台的黑衣殺手。Harley-Davidson Fatboy 30週年特仕版海外發表!

Harley-Davidson Fatboy車系從1989年發表以來,在今年正式邁入第三十個年頭,為了紀念Fatboy車系來到而立之年,Harley-Davidson也特別推出了限量2,500台的Faboy 30週年特仕版,全車採用黑色塗裝搭配上古銅色引擎飾條,讓這台特仕版Fatboy的外觀更侵略、更低調。

Ziv 2020/02/04
Harley-Davidson HD350簽約完成,中國錢江摩托代工,將成為Benelli 302S孿生車?

Harley-Davidson HD350簽約完成,中國錢江摩托代工,將成為Benelli 302S孿生車?

Harley-Davidson早在前幾年就已經傳出,有意與亞洲在地的車廠合作,共同打造更親民、排氣量更小的車款,來搶攻亞洲市場,在幾經周折與謠言風波之後,終於在今年確定與中國的錢江摩托展開合作,近日雙方也正式舉辦「HD350」新車款的簽約儀式,並且預計將在2020年底發表,2021年正式發售。

Ziv 2019/12/16

9

整流罩?仿賽?Harley-Davidson全新專利曝光,唯一仿賽VR1000有望回歸?

整流罩?仿賽?Harley-Davidson全新專利曝光,唯一仿賽VR1000有望回歸?

世上機車百百種,但是如果說到來自美國的Harley-Davidson,相信百分之九十九的人,腦中都會馬上浮現那壯碩的車身、高聳的手把,以及震耳欲聾的V缸聲浪,Harley-Davidson的車款形象是如此強烈,讓「Harley-Davidson」這個字眼幾乎已經成為獨樹一格的車款分類了。 不過近日有外國媒體挖出一則相當有趣的全新專利,從專利圖中可以看到一個相當圓潤造型的整流罩,這也讓人不禁猜測,莫非Harley-Davidson正在著手研發一台全新的「仿賽」嗎?

Ziv 2019/10/17

8

L

橫跨南美洲的充電之旅?!伊旺麥奎格將騎乘Harley-Davidson LiveWire挑戰「The Long Way Up」!

橫跨南美洲的充電之旅?!伊旺麥奎格將騎乘Harley-Davidson LiveWire挑戰「The Long Way Up」!

今年六月,影壇傳出一則令人興奮的好消息,那就是知名影星伊旺麥奎格與好友查利布爾曼,繼2007年的The Long Way Down之後,時隔12年即將再次踏上摩托車旅行,這次他們將挑戰從最美洲最南端的阿根廷烏斯懷亞,一路穿越到美國加州,近日阿根廷媒體更是捕捉到疑似行前準備的團隊使用車輛,在這些車輛當中,居然驚見明年才準備交車的Harley-Davidson LiveWire電動車,以及Rivian R1T純電皮卡!

Ziv 2019/09/10

6

哈雷街霸、冒險王年底發表?Harley-Davidson Pan America & StreetFighter實車照曝光

哈雷街霸、冒險王年底發表?Harley-Davidson Pan America & StreetFighter實車照曝光

Harley-Davidson在去年年中發表了一系列的未來車款藍圖,試圖利用更新穎、更前衛的外形設計以及更先進的技術,來吸引年輕族群加入Harley-Davidson的車主大家族,不過從今年年初發表至今來看,走在科技尖端的LiveWire電動重機似乎並不如先前預期的受歡迎,近日Harley-Davidson也被荷蘭媒體Nieuwsmotor捕捉到兩台全新車型的實車樣貌。

Ziv 2019/08/22
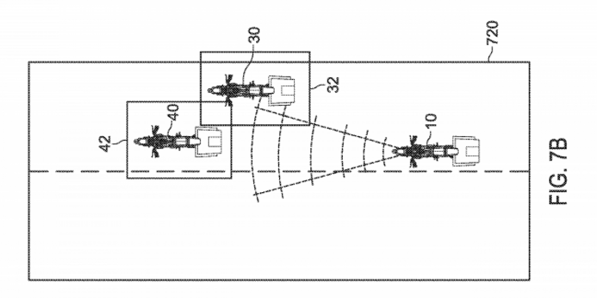
ACC應用在摩托車上!Harley-Davidson正在開發中!

ACC應用在摩托車上!Harley-Davidson正在開發中!

ACC(Adaptive Cruise Control)自動跟車系統在汽車上已經相當常見,甚至很多人都將此配備列為新車必備的條件,但在機車上還沒看到實際量產的案例,雖然有些巡航車款有搭配上定速系統,已經讓長途騎乘輕鬆不少,不過要是可以擁有ACC系統的話更安全也方便。

Dickson 2019/08/17

6

樂高又一機車力作!Harley-Davidson Fat Boy超擬真登場!

樂高又一機車力作!Harley-Davidson Fat Boy超擬真登場!

樂高一直都是大小朋友的最愛,先前我們也為大家介紹過相當多汽車的樂高模型,而這次我們要介紹的是樂高最新打造的機車模型,是一輛美式機車品牌Harley-Davidson最新的Fat Boy,而且你不用花100美金就可以擁有,如果你有一輛Fat Boy或是你很喜歡哈雷的朋友,千萬不要錯過這個模型!

Dickson 2019/07/10
Harley-Davidson擴張中國市場,但卻縮水變「小」哈雷!

Harley-Davidson擴張中國市場,但卻縮水變「小」哈雷!

美國知名機車品牌Harley-Davidson即將進入中國市場,但跟我們印象當中的哈雷似乎有些不一樣,以往那種大排氣量的氣勢已經不在,這次在中國市場將會發表全新338c.c.的車款,這一切當然就是為了應對中國市場的小排量需求,而且將會與錢江摩托共同合作,結合雙方的優勢在中國另創機車產業的高峰。

Dickson 2019/06/20
官方新聞稿。HARLEY-DAVIDSON Street 750「圓夢一夏,免費騎回家!」

官方新聞稿。HARLEY-DAVIDSON Street 750「圓夢一夏,免費騎回家!」

Harley-Davidson台灣總代理太古鼎翰,在暑假前夕,針對市場詢問度高居不下的明星車款Street750車型,推出「零頭款,前六月免月付」,免費騎回家方案,做為市場支持的回饋,希望可以讓更多喜愛哈雷品牌的熱血騎士,能夠入主哈雷,圓夢一夏。

Ziv 2019/06/14

8

L

哈家兄弟野起來!HARLEY-DAVIDSON Street Rod 750 tracker by Noise Cycles

哈家兄弟野起來!HARLEY-DAVIDSON Street Rod 750 tracker by Noise Cycles

對於城市穿梭以及假日巡航的愛好者而言,HARLEY-DAVIDSON Street Rod會是你不錯的選擇。但其實HARLEY-DAVIDSON在某些車型上並不若他的品牌形象這麼的碩大笨重,Street Rod就是一台例外。

TC 2019/04/01

8

爭取新世代認同! Harley-Davidson著眼電動共享機車市場

爭取新世代認同! Harley-Davidson著眼電動共享機車市場

對於許多機車製造商來說,電動化的趨勢似乎已經是無法阻擋的新潮流,隨著電池科技越來越進步、人們對於電動產品帶來的全新騎乘體驗的興趣也隨之高漲,這股潮流對於已經生產內燃機車款數百年的大品牌來說,要如何適應、轉換,推出能夠吸引新世代騎士的產品,成為了車廠未來發展的關鍵因素。Harley-Davidson在過去幾年遭遇了相當嚴重的銷售衰退,特別是在美國的國內市場上,由於目標消費族群的年老衰退,加上年輕族群對於Harley-Davidson的品牌形象並不如上一代的騎士如此忠實狂熱,導致Harley-Davidson面臨了相當嚴重的世代交替問題。

Ziv 2019/03/18